电脑桌面
添加小米粒文库到电脑桌面
安装后可以在桌面快捷访问

市政给水管道工程监理细则-2

市政给水管道工程监理细则-2_第1页
1/22
市政给水管道工程监理细则-2_第2页
2/22
市政给水管道工程监理细则-2_第3页
3/22
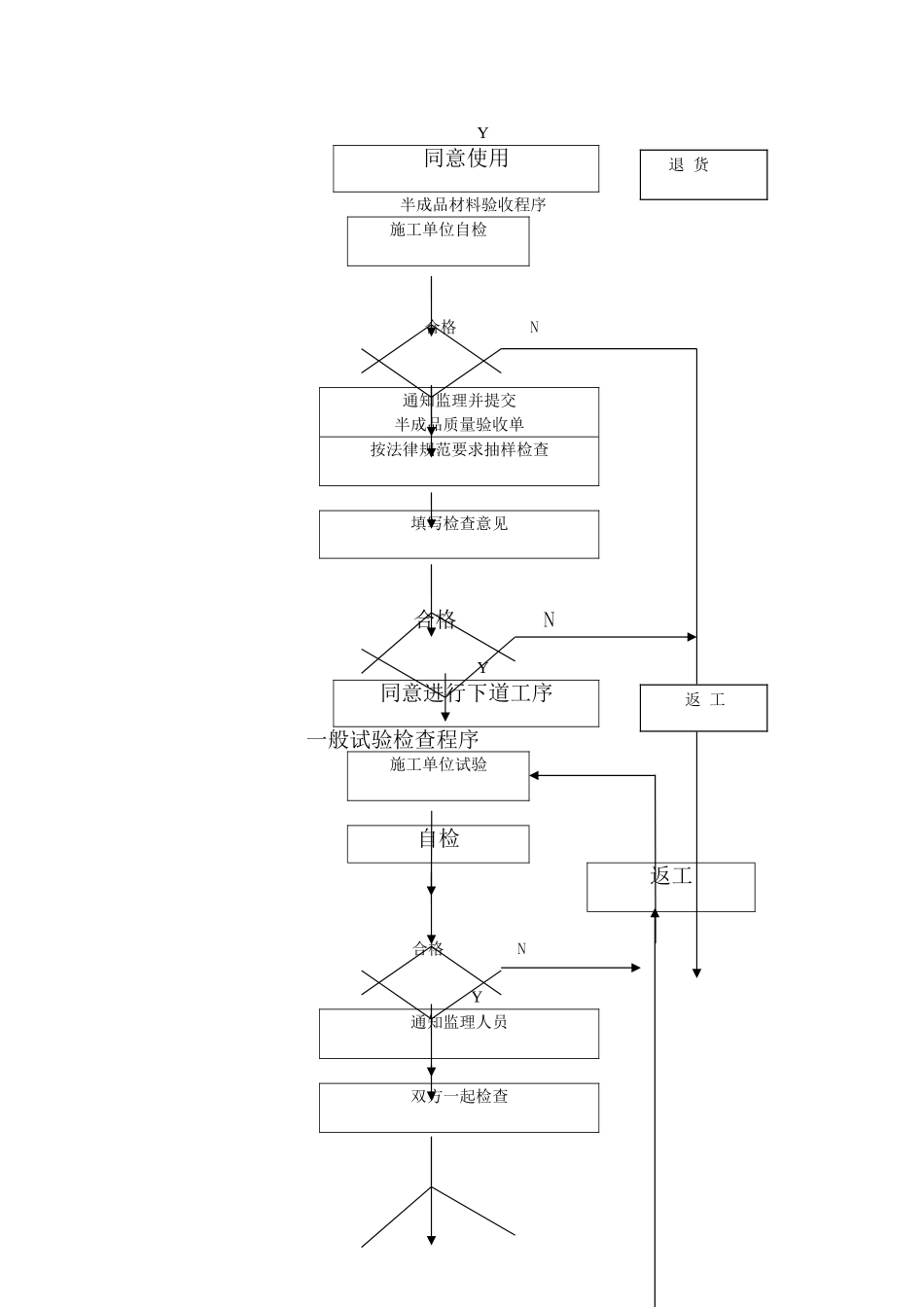
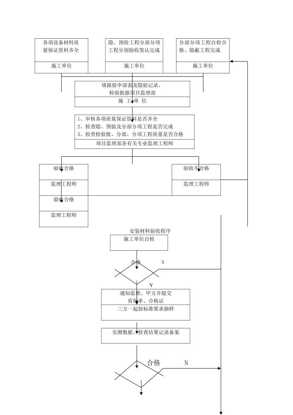
和政县前川新区道路一期建设工程(给水标段)监理细则一、 工程概况 1。1.1 项目名称:和政县城前川新区道路一期建设工程(给水标段)1。1。2 建设单位:和政县住房和城乡建设局1。1。3 建设地点:和政县1。1.4 承包方式:固定合同价(固定总价)1。1.5 建设规模:一标段至五标段全部工程全过程的监理1。1。6 工程概况:新建和政县前川新区一期道路建设工程,位于和政县前川新区包括纬二十一路、纬二十二路、纬二十四路、纬二十六路、康庄路、纬二十七路、和合东路给水工程。本工程给水管道敷设于道路非机动车道,确定给水管道管径为 DN160-—DN110‘管道具体布置形式为环形,管道材质采纳 HDPE(PE100)给水管,管道工作压力 1.0MPa,实验压力为 1。5mpa1。1。7 资金来源: 国家投资及自筹资金1。1。8 工程质量监理控制目标:达到国家规定的质量合格标准。1.1.9 工程造价控制目标:总投资:2149531。30 元,工程总投资必须严格控制在合同造价范围以内。1 。1.10 总工期控制目标: 2024 年 9 月 23 日至 2024 年 11 月 23 日 ,总合同工期为 62 日历天,工程工期必须在合同工期内完成。二、细则编制依据1.《建筑工程监理法律规范》 GB50319-2000;2。《建筑工程施工质量验收统一标准》 GB50300-2001;3。 本工程的给排水、采暖专业施工图纸;4。 已批准的本工程的《监理规划》5.《建筑给水排水及采暖工程施工质量验收法律规范》 GB50242-2024;6。国家有关法律规范与验收标准7、公司ISO9001:2000质量管理体系文件8、本工程的施工组织设计三、监理工作流程工程材料质量控制基本程序不合格合格安装工程隐检、预检及分部分项工程验收程序承包单位填写(工程材料 /构配件/设备报验单)承包单位另选专业监理工程师审核方法:1、 审核质量保证资料2、 到厂家考察3、 进场材料检验4、 进行验证复试承包单位使用各项设备材料质量保证资料齐全隐、预检工程分部分项工程分别验收签认完成分部分项工程自检合格、隐蔽工程完成施工单位施工单位施工单位填报验申请表及隐验记录、检验批报项目监理部施 工 单 位1、审核各项质量保证资料是否齐全2、检查隐、预验及分部分项工程是否完成3、检查检验批、分部、分项工程质量是否合格项目监理部各有关专业监理工程师验收合格验收不合格监理工程师监理工程师验收合格监理工程师安装材料验收程序施工单位自检 合格 N Y通知监理、甲方并提交质保单、合格证三方一起按标...

1、当您付费下载文档后,您只拥有了使用权限,并不意味着购买了版权,文档只能用于自身使用,不得用于其他商业用途(如 [转卖]进行直接盈利或[编辑后售卖]进行间接盈利)。
2、本站所有内容均由合作方或网友上传,本站不对文档的完整性、权威性及其观点立场正确性做任何保证或承诺!文档内容仅供研究参考,付费前请自行鉴别。
3、如文档内容存在违规,或者侵犯商业秘密、侵犯著作权等,请点击“违规举报”。

碎片内容

市政给水管道工程监理细则-2

您可能关注的文档

津创媒+ 关注
实名认证
内容提供者

欢迎交流文创,小店资料希望满足您的需要。

确认删除?
VIP
微信客服
  • 扫码咨询
会员Q群
  • 会员专属群点击这里加入QQ群
客服邮箱
回到顶部