电脑桌面
添加小米粒文库到电脑桌面
安装后可以在桌面快捷访问

弱电系统安装工程监理细则

弱电系统安装工程监理细则_第1页
1/24
弱电系统安装工程监理细则_第2页
2/24
弱电系统安装工程监理细则_第3页
3/24
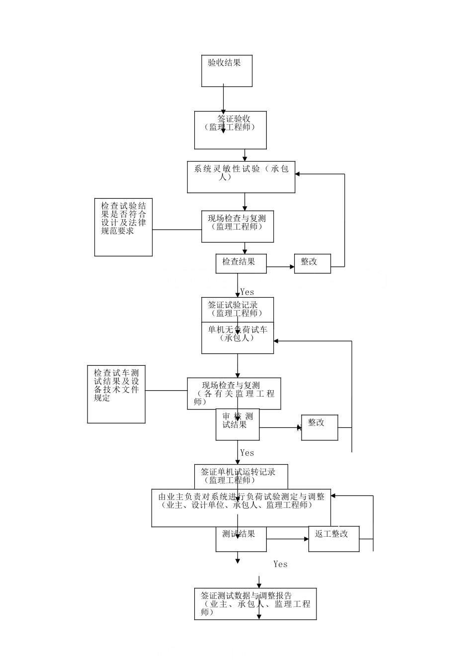
弱电系统安装工程监理细则一、总 则1、 本细则中各条款为弱电系统安装工程施工监理常用条款,未涉及的其他内容及与国家现行标准、法律规范、规程不符的地方,以国家现行标准、法律规范、规程为准。2、 弱电系统安装工程专业监理人员介入项目,进驻施工现场后,可参照本细则结合所监理工程具体情况,做适当参考与补充后,展开现场施工监理工作。3、 本细则根据以下有关法律规范、规程与标准制定:3。1 《建筑工程施工质量验收统一标准》GB50300—20013.2 《建筑电气工程施工质量验收法律规范》GB50303—20243。3 《建筑与建筑群综合布线系统工程验收法律规范》GB/T50312-20003。4 《建筑安装工程施工图集》2024 第二版 (第三分册 电气)3。5 《建筑安装工程施工图集》2024 第二版 (第六分册 弱电)3。6 《建筑设计防火法律规范》GBJ 16—87 (2001 年版)3.7 《21 世纪建筑电气设计手册》3。8 设计单位提供的图纸及技术文件3。9 监理单位与业主签订的合同4、 监理职责4.1 协助甲方审核施工单位的技术资质,监督其建立质量保证体系;4。2 监督施工单位严格按设计图纸、技术法律规范、管理程序施工;4.3 监理应提请业主要求设计单位出具管线综合布置大样图,以便于施工.及早安排承包商对管线进行综合布置,并做审核.对专业性强、工艺复杂的部位应多次交底,将问题发现在每道工序施工之前。4。4 督促承包商深化认真的了解图纸,将存在的问题发现在施工之前,并会同设计单位加以解决。4.5 严把质量关,认真检查安装材料的质量合格证;各种设备及构配件的质保书、有关方面的检测报告或检验报告;监督乙方对主要材料进行复试,不合格的材料及产品严禁使用;4.6 组织工程质量事故的分析及处理.开展“文明施工,安全生产”活动,制止乙方的违章作业行为;4.7 组织分项、分部工程的验收及单位工程的竣工验收,核定工程质量等级;提交单位工程的初验报告,参加工程竣工验收,审定竣工图及监督乙方整理工程技术资料并交付甲方存档.二、监理工作流程 no yes no no No no Yes No Yes熟悉图纸、核查工艺图与土建图有无矛盾、图纸会审 (监理工程师) 填写开工申请(承包商)审核开工申请(监理工程师)检 查 器材 规 格 、型 号 ,质 保 文件 、 外观等审核结果承包人修改完善试验结果制作零部件、预埋件及隐蔽工程(承包人)退换按设计要求验收材料并作检验(监理工程师)附上:施工组织设计/方案;工人、技术员数量...

1、当您付费下载文档后,您只拥有了使用权限,并不意味着购买了版权,文档只能用于自身使用,不得用于其他商业用途(如 [转卖]进行直接盈利或[编辑后售卖]进行间接盈利)。
2、本站所有内容均由合作方或网友上传,本站不对文档的完整性、权威性及其观点立场正确性做任何保证或承诺!文档内容仅供研究参考,付费前请自行鉴别。
3、如文档内容存在违规,或者侵犯商业秘密、侵犯著作权等,请点击“违规举报”。

碎片内容

弱电系统安装工程监理细则

确认删除?
VIP
微信客服
  • 扫码咨询
会员Q群
  • 会员专属群点击这里加入QQ群
客服邮箱
回到顶部