电脑桌面
添加小米粒文库到电脑桌面
安装后可以在桌面快捷访问

房建工程施工监理实施细则

房建工程施工监理实施细则_第1页
1/19
房建工程施工监理实施细则_第2页
2/19
房建工程施工监理实施细则_第3页
3/19
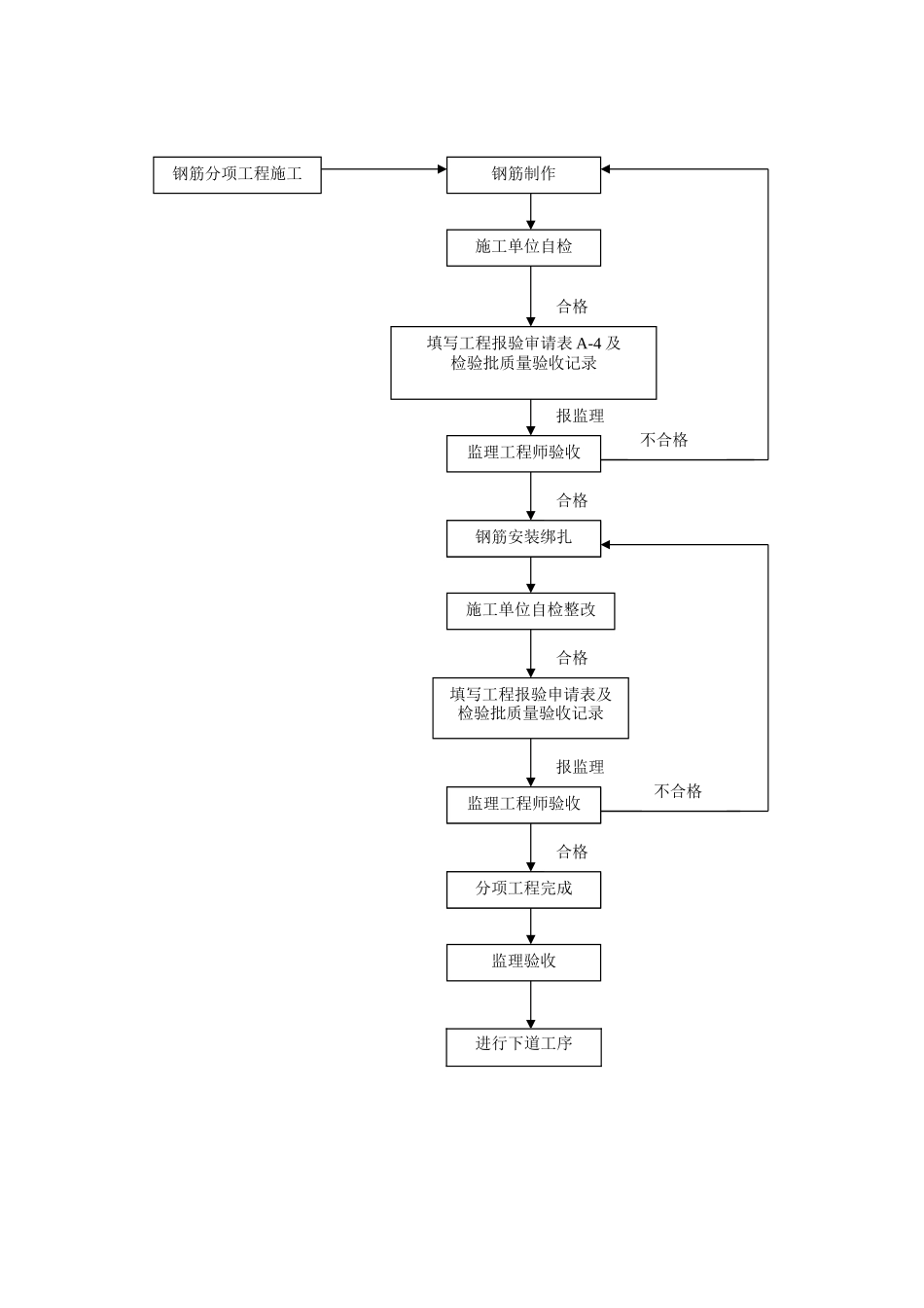
房建工程施工监理实施细则一、工程概况:××科技大学××#、××#、××#教工住宅工程均位于××科技大学西安校区生活区内, 生活区的北侧为村庄,南侧为国道,西侧为空地,东侧为国道。三栋楼均为现浇剪力墙结构。地下一层,地上十一层。××#楼建筑面积××㎡, 建筑高度××m。 ××#楼建筑面积××㎡,建筑高度××m。 ××#楼建筑面积××㎡,建筑高度××m。本细则使用于建筑住宅楼工程。二、执行标准:1、建筑工程施工质量验收统一标准 GB50300-20012、混凝土结构工程施工质量验收法律规范 GB50204-20243、工程建设强制性条文(房屋建筑部分) GB50203-20244、砌体工程施工质量验收法律规范 GB50203-2024三、监理工作流程:1、原材料质量控制流程:2、施工质量控制流程:a、钢筋施工质量控制:原材料进场施工单位自检合格填写材料报验单及检验批质量验收记录报监理监理工程师验收合格投入使用不合格钢筋分项工程施工钢筋制作施工单位自检填写工程验收单及检验批质量验收记录报监理合格施工单位自检整改合格报监理监理验收合格合格填写工程报验审请表 A-4 及检验批质量验收记录监理工程师验收钢筋安装绑扎监理工程师验收分项工程完成填写工程报验申请表及检验批质量验收记录不合格不合格进行下道工序b、模板施工质量控制流程:c、砼施工质量控制流程: 施工单位编制专项方案报监理监理工程师审查通过模板安装施工单位自检合格未通过填写工程报验申请表及检验批质量验收记录报监理监理工程师审查合格进行下道工序不合格d、砌体工程质量控制流程:四、施工准备阶段质量控制措施:1、仔细熟悉图纸,并将图纸中存在的问题通过建设单位向设计单位提出书面意见和建议。报监理合格报监理监理工程师审查通过施工单位填写砼浇注申请表监理工程师检查不合格浇注砼施工单位编制大体积砼施工浇注方案砼墙体砌筑合格合格报监理合格施工单位施工单位填写工程报验申请表及检验批质量验收记录监理工程师检查进行下道工序不合格2、审查施工单位的质量保证体系和质量管理体系是否健全。3、检查施工单位的施工机械是否满足工程要求,施工单位应将到场的施工机械向监理部报验,并填报设备报审表,经监理审验合格后方可进行施工。仔细审查施工单位上报的施工方案,施工单位施工前应将施工方案报监理部经监理工程师审查批准后方可实施。4.检查施工准备落实情况及特别工种的上岗证。5.分包工程开工前,施工单位应填写分包单位资质报审表和分包单位有关资料报监理部审查,监理工程师...

1、当您付费下载文档后,您只拥有了使用权限,并不意味着购买了版权,文档只能用于自身使用,不得用于其他商业用途(如 [转卖]进行直接盈利或[编辑后售卖]进行间接盈利)。
2、本站所有内容均由合作方或网友上传,本站不对文档的完整性、权威性及其观点立场正确性做任何保证或承诺!文档内容仅供研究参考,付费前请自行鉴别。
3、如文档内容存在违规,或者侵犯商业秘密、侵犯著作权等,请点击“违规举报”。

碎片内容

房建工程施工监理实施细则

确认删除?
VIP
微信客服
  • 扫码咨询
会员Q群
  • 会员专属群点击这里加入QQ群
客服邮箱
回到顶部