电脑桌面
添加小米粒文库到电脑桌面
安装后可以在桌面快捷访问

检验科质量管理体系工作流程图

检验科质量管理体系工作流程图_第1页
1/4
检验科质量管理体系工作流程图_第2页
2/4
检验科质量管理体系工作流程图_第3页
3/4
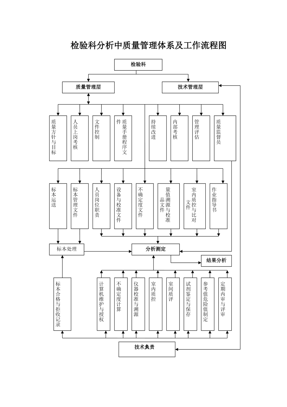
检验科分析前质量管理体系及工作流程图检查、督促标本是否符合要求分析测定检验科检验标本采集须知临床医生选择最佳检验项目或组合项目检验科对临床医生选择项目时提出自己的建议并完善相应制度医护人员正确采集标本病人准备标本采集检验、配送人员收集及运送标本检验科提供可供选择的检验项目目录检验科分析中质量管理体系及工作流程图检验科技术管理层质量管理层质量方针与目标人员上岗考核文件控制质量手册程序文件持续改进内部考核管理评估质量监督员标本运送人员岗位职责设备与校准文件不确定度文件量值溯源与校准品文件室内质控与比对文件作业指导书标本管理文件标本处理分析测定结果分析标本合格与拒收记录计算机维护与授权不确定度计算仪器校准与溯源室内质控室间质评试剂鉴定与保存参考值危险值制定定期内审与评审技术负责人检验科分析后质量管理体系及工作流程图检验科质量管理层技术管理层客户投诉投诉文件及记录分析测定结果分析结合临床资料分析结果与以前记录垂直分析结果参数内在联系分析结果报告审核发出报告授权人更改报告对报告的补救处理与临床联系符合不符合用于临床诊疗保留标本随时复查排除检验因素检验医生参加临床诊疗活动,帮助临床医生合理分析、正确使用检验结果等咨询服务

1、当您付费下载文档后,您只拥有了使用权限,并不意味着购买了版权,文档只能用于自身使用,不得用于其他商业用途(如 [转卖]进行直接盈利或[编辑后售卖]进行间接盈利)。
2、本站所有内容均由合作方或网友上传,本站不对文档的完整性、权威性及其观点立场正确性做任何保证或承诺!文档内容仅供研究参考,付费前请自行鉴别。
3、如文档内容存在违规,或者侵犯商业秘密、侵犯著作权等,请点击“违规举报”。

碎片内容

检验科质量管理体系工作流程图

您可能关注的文档

一帆文传+ 关注
实名认证
内容提供者

欢迎光临店铺,各类公文供您挑选。

确认删除?
VIP
微信客服
  • 扫码咨询
会员Q群
  • 会员专属群点击这里加入QQ群
客服邮箱
回到顶部