电脑桌面
添加小米粒文库到电脑桌面
安装后可以在桌面快捷访问

物业巡检工作流程图

物业巡检工作流程图_第1页
1/1
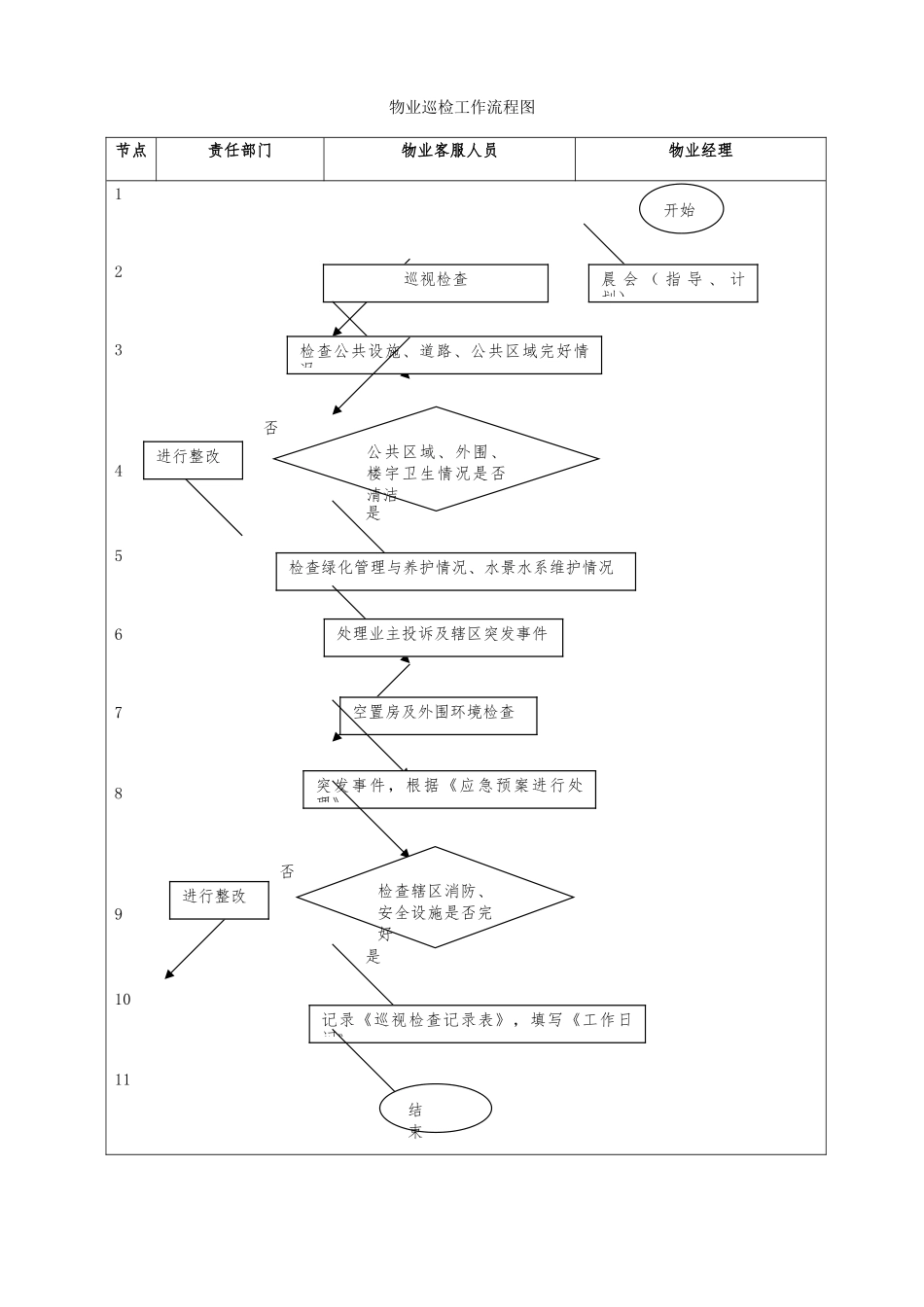
物业巡检工作流程图节点责任部门物业客服人员物业经理123 否4 是5678 否9 是1011开始晨 会 ( 指 导 、 计划)巡视检查检查公共设施、道路、公共区域完好情况公共区域、外围、楼宇卫生情况是否清洁进行整改检查绿化管理与养护情况、水景水系维护情况处理业主投诉及辖区突发事件空置房及外围环境检查突发事件,根据《应急预案进行处理》检查辖区消防、安全设施是否完好进行整改记录《巡视检查记录表》,填写《工作日记》结 束

1、当您付费下载文档后,您只拥有了使用权限,并不意味着购买了版权,文档只能用于自身使用,不得用于其他商业用途(如 [转卖]进行直接盈利或[编辑后售卖]进行间接盈利)。
2、本站所有内容均由合作方或网友上传,本站不对文档的完整性、权威性及其观点立场正确性做任何保证或承诺!文档内容仅供研究参考,付费前请自行鉴别。
3、如文档内容存在违规,或者侵犯商业秘密、侵犯著作权等,请点击“违规举报”。

碎片内容

物业巡检工作流程图

您可能关注的文档

确认删除?
VIP
微信客服
  • 扫码咨询
会员Q群
  • 会员专属群点击这里加入QQ群
客服邮箱
回到顶部