电脑桌面
添加小米粒文库到电脑桌面
安装后可以在桌面快捷访问

社区两委换届选举流程图

社区两委换届选举流程图_第1页
1/2
社区两委换届选举流程图_第2页
2/2
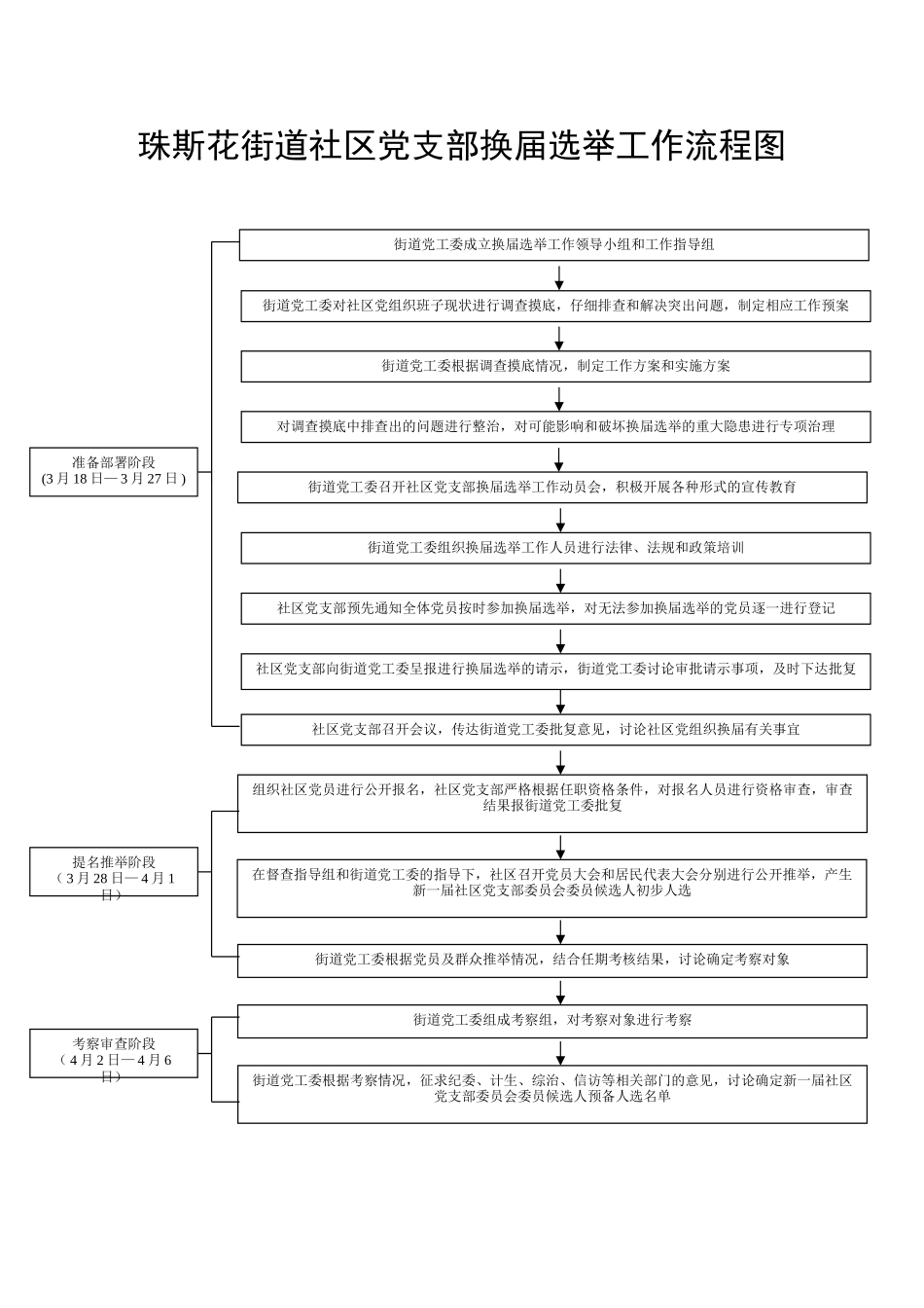
珠斯花街道社区党支部换届选举工作流程图准备部署阶段(3 月 18 日— 3 月 27 日 )街道党工委成立换届选举工作领导小组和工作指导组街道党工委召开社区党支部换届选举工作动员会,积极开展各种形式的宣传教育街道党工委根据调查摸底情况,制定工作方案和实施方案街道党工委对社区党组织班子现状进行调查摸底,仔细排查和解决突出问题,制定相应工作预案对调查摸底中排查出的问题进行整治,对可能影响和破坏换届选举的重大隐患进行专项治理街道党工委组织换届选举工作人员进行法律、法规和政策培训社区党支部预先通知全体党员按时参加换届选举,对无法参加换届选举的党员逐一进行登记社区党支部向街道党工委呈报进行换届选举的请示,街道党工委讨论审批请示事项,及时下达批复社区党支部召开会议,传达街道党工委批复意见,讨论社区党组织换届有关事宜组织社区党员进行公开报名,社区党支部严格根据任职资格条件,对报名人员进行资格审查,审查结果报街道党工委批复在督查指导组和街道党工委的指导下,社区召开党员大会和居民代表大会分别进行公开推举,产生新一届社区党支部委员会委员候选人初步人选街道党工委根据党员及群众推举情况,结合任期考核结果,讨论确定考察对象街道党工委组成考察组,对考察对象进行考察街道党工委根据考察情况,征求纪委、计生、综治、信访等相关部门的意见,讨论确定新一届社区党支部委员会委员候选人预备人选名单提名推举阶段( 3 月 28 日— 4 月 1日)考察审查阶段( 4 月 2 日— 4 月 6日)正式选举阶段( 4 月 7 日— 4 月 16日)在督查指导组和街道党工委的指导下,社区党支部主持召开党员大会,进行选举听取和审议上届社区党支部工作报告讨论并通过《社区党组织委员选举办法》和监票人、计票人名单候选人分别进行竞职演讲、任职承诺全体党员进行酝酿讨论投 票进 行选举统计选票,并当场宣布计票结果选举结束后,社区党支部向街道党工委呈报选举结果街道党工委批复选举结果做好工作交接材料归档、建章立制、总结完善做好离任、落选人员思想工作和新任职人员教育培训工作新一届社区党组织制定任期工作规划,主持开展工作后续管理阶段( 4 月 17 日— 4 月 20日)

1、当您付费下载文档后,您只拥有了使用权限,并不意味着购买了版权,文档只能用于自身使用,不得用于其他商业用途(如 [转卖]进行直接盈利或[编辑后售卖]进行间接盈利)。
2、本站所有内容均由合作方或网友上传,本站不对文档的完整性、权威性及其观点立场正确性做任何保证或承诺!文档内容仅供研究参考,付费前请自行鉴别。
3、如文档内容存在违规,或者侵犯商业秘密、侵犯著作权等,请点击“违规举报”。

碎片内容

社区两委换届选举流程图

确认删除?
VIP
微信客服
  • 扫码咨询
会员Q群
  • 会员专属群点击这里加入QQ群
客服邮箱
回到顶部