电脑桌面
添加小米粒文库到电脑桌面
安装后可以在桌面快捷访问

监理工作流程图

监理工作流程图_第1页
1/21
监理工作流程图_第2页
2/21
监理工作流程图_第3页
3/21
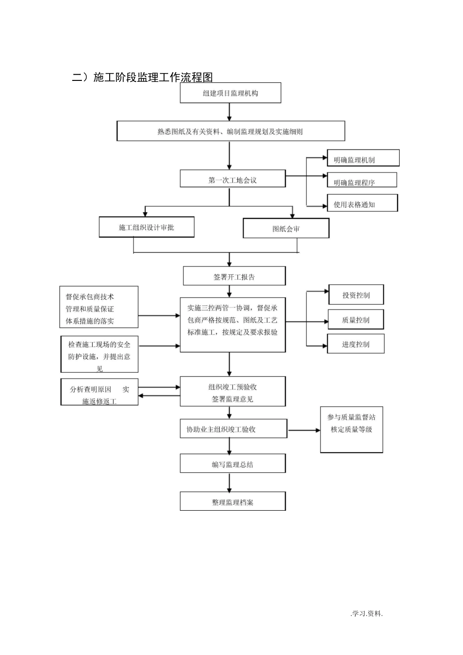
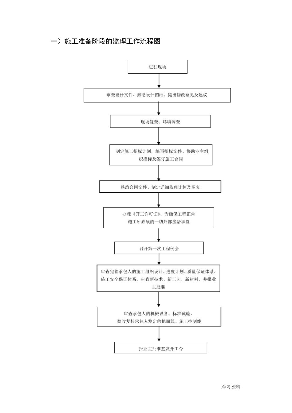
.学习.资料.一)施工准备阶段的监理工作流程图.学习.资料.二)施工阶段监理工作流程图.学习.资料.(三)质量控制监理工作流程图1、质量控制流程图签署开工报告分项工程完成,承包商自检合格填报工程报验单监理工程师现场检查及审查试不验报格告签署验收意见*—下一道工序施工分部工程完成承包商自检合格后填报工程报验单内业资料检查检查结果不合格-合格监理工程师签署同意验收的监理意见修改承包商填写承包商申报表申报分项、分部工程施工方案承包商申报材料合格证、试验报告加倍复试或作处理不合格监理审批不合格发现问题发工程整改通知单质量失控时发工程暂停指令,要求整分项工程施工不合格>整工程试验及监理巡视、抽查现场检查.学习.资料.2、工程例会纪要签发流程图.学习.资料.3、分部分项工程质量验收流程图.学习.资料.4、隐蔽工程签认流程图.学习.资料.5、材料控制监理工作流程图.学习.资料.6、质量缺陷处理工作程序.学习.资料.7、工程质量事故处理流程图.学习.资料.四)投资控制监理工作流程图1、投资控制流程图.学习.资料.2、工程计量监理工作流程图.学习.资料.3、中期支付监理工作程序.学习.资料.4、最终支付监理工作程序.学习.资料.五)进度控制监理工作流程图六)合同管理监理工作流程图合同管理程序*1++工程延期费用索赔争端与仲裁承包人的违约分包转让和[指定分包保险与保障工程变更依据合同,各专业监理工程师办理工程变更,报业主批准监理工程师按项目规定核准延期详细资料业主批准受理费用索赔监理工程师受理工程变更申请书,征求设计意见,报业主,确定延期,签署延期审批书按合同规定准备索赔依据等详细资料收到争议通知,进行1f作出书面决定是否申请仲裁一般违约严重违约1F违约处理1F申请分包报告申请转让申请指定分包确定索赔数额督促承包人保险检查保险情况设计依据变更申请书出修改设计修改业主审定没有保险风险自负监理签署监理工程师费用评估索赔审批书颁发工程变更令业主签署索赔审批书有友好调解1!提供证据,作证1F审批签署批准单确定费用执行仲裁裁决工程全面管理*依据合同解决技术、进度、经济问题.学习.资料..学习.资料.(七)施工安全监理工作流程营业执照安全资质证书安全资质证书安全生产责任制,安全生产规章制度,安全生产操作规程特种作业人员的管理情况主要的施工机械、设备等的技术性能及安全条件建筑安全监督机构对企业的安全业绩考评情况审查并签署现场安全技术签证文件现场监督与检查,发现不安全因素...

1、当您付费下载文档后,您只拥有了使用权限,并不意味着购买了版权,文档只能用于自身使用,不得用于其他商业用途(如 [转卖]进行直接盈利或[编辑后售卖]进行间接盈利)。
2、本站所有内容均由合作方或网友上传,本站不对文档的完整性、权威性及其观点立场正确性做任何保证或承诺!文档内容仅供研究参考,付费前请自行鉴别。
3、如文档内容存在违规,或者侵犯商业秘密、侵犯著作权等,请点击“违规举报”。

碎片内容

监理工作流程图

您可能关注的文档

确认删除?
VIP
微信客服
  • 扫码咨询
会员Q群
  • 会员专属群点击这里加入QQ群
客服邮箱
回到顶部