电脑桌面
添加小米粒文库到电脑桌面
安装后可以在桌面快捷访问

公路监理工作流程图全套

公路监理工作流程图全套_第1页
1/24
公路监理工作流程图全套_第2页
2/24
公路监理工作流程图全套_第3页
3/24
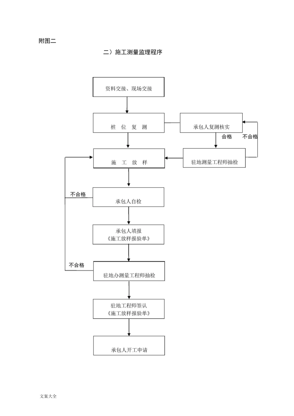
文案大全施工准备阶段监理施工阶段监理监理工作流程图附图一(—)总监理程序框图文案大全附图二二)施工测量监理程序文案大全附图三三)自采材料监理程序框图文案大全四)外购材料监理程序框图施工单位提供产品合格证及试验报告监理审核认可*购买验收进场退货1不合格”分类贮存保管使用用于施工资料正确存档施工单位按频率抽检必要时监理抽检运出场外资料正确存档附图四合格施工单位使用前复核性抽检必要时监理抽检合格不合格文案大全附图五(五)外委试验监理程序框图文案大全附图六(六)见证试验监理程序框图文案大全附图七七)施工阶段费用控制工作流程周计量分项完工结算月度汇总中期支付交工结帐文案大全附图八(八)分项工程开工报告审批监理程序框图施工程序_!监璽序―丄—輕资料聲程序一文案大全附图九(九)工序验收程序文案大全附图十十)分项工程检验程序框图文案大全附图十一(H—)填前碾压监理程序框图施工程序监理程序原始资料归档程序铲除植物、杂草、树根、清除表层有机-土、淤泥、垃圾土等1F整平原地面(推土我机、平地机)1r|请验不认可I 随时纠正►监理检验监理巡视施工原始资料一份填前碾压(50T 振级振 碾 及 18T 以 上 平碾),含洒水、测含水量监理巡视1 r压实度自检弋|要求重新碾压填报《工序报验单》附检验表 1 及高程、宽度压实度等检验记录监理抽检工序报验单二份施工单位自检资料一份监理抽检资料一份11111进入下道工序1L同意进入下!道工序施工监理资料一份请验单、抽检资料施工单位资料一份请验单、施工原始记录、自检资料文案大全附图十二(十二)填方路堤施工监理程序框图文案大全附图十三(十三)挖方路基施工监理程序框图施工程序监理程序原始资料归档程序清理地表*监理检杳1 不认可i111用指示桩标明路堑1监理检杳堑顶轮廓呜 11 不认可T监理检查11认可-施工原始资料一份111、11情况作防渗工作监理巡视、旁站设排水通道I按施组设计方案进丄行开挖安全施工、修筑截水沟、视土质 P 丨 小丰 vrrHrz 亠、、4—r-/仁丨不认可弃土堆合理、堆放符十王意合规范要求监理巡视排水方式整修路堑边坡P 注意坡度满足设计要求监理巡视、旁站挖至设计标高,开挖边沟修筑路拱整平路基平面等注憶f 压实后的1IL、一[,下沉量监理巡视、旁站按检评标准进行自检不合格填写《工序报验单》二份j■请验•监理抽检;格施工单位自检资料一份监理抽检资料一份*进入下道工序占合格监理同意监理资料一份、请验单、抽检资...

1、当您付费下载文档后,您只拥有了使用权限,并不意味着购买了版权,文档只能用于自身使用,不得用于其他商业用途(如 [转卖]进行直接盈利或[编辑后售卖]进行间接盈利)。
2、本站所有内容均由合作方或网友上传,本站不对文档的完整性、权威性及其观点立场正确性做任何保证或承诺!文档内容仅供研究参考,付费前请自行鉴别。
3、如文档内容存在违规,或者侵犯商业秘密、侵犯著作权等,请点击“违规举报”。

碎片内容

公路监理工作流程图全套

您可能关注的文档

确认删除?
VIP
微信客服
  • 扫码咨询
会员Q群
  • 会员专属群点击这里加入QQ群
客服邮箱
回到顶部