电脑桌面
添加小米粒文库到电脑桌面
安装后可以在桌面快捷访问

单片机多机通信

单片机多机通信_第1页
1/24
单片机多机通信_第2页
2/24
单片机多机通信_第3页
3/24
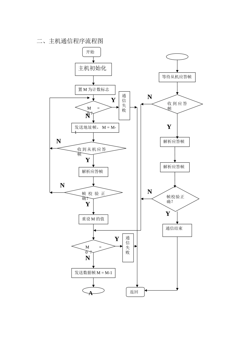
南京人口学院课程设计报告 课 程 单片机微型计算机原理与接口技术 论文题目 单片机多机通信 学生姓名 学 号 指导老师 2025 年 1 月 单片机多机通信一﹑数据通信协议 1.帧格式: 总字节数 + 命令 + 地址 + 内容 + 校验 2.帧格式说明: 总字节数:4 位 命令:4 位 地址:1 字节 校验:1 字节 内容:实际传送的数据,最大为 13 字节3.总字节数说明:总字节数 4 位,一帧数据最大 16 个字节,最小 3 个字节4.命令格式说明: 0000:寻址命令,此时地址表示从机的 ID 0001:应答寻址命令 0010:主机向从机写数据命令 0011:主机向从机读数据命令 0100:从机应答主机的读/写命令此时是片内寻址命令。地址表示从机内存的起始地址,主机读/写数据的起始地址,地址的增长方向由主机决定,寻址范围:0 ~ 255 0101:从机向主机写数据命令 0110:从机向主机读数据命令 0111:主机响应从机读/写此时是片内寻址命令。地址表示主机内存的起始地址,从机读/写数的起始地址,地址的增长方向由从机决定,寻址范围:0 ~ 255 1000: 1001: 1010: 1011: 1100: 1101:此时是片外寻址命令,地址增为 2 个字节,寻址范围:0 ~ 64K此命令是未开发命令 1110:帧错误 1111:通信结束命令5.地址格式说明: 当片内寻址命令时,地址是一个字节,寻址片内范围:0 ~ 255 当片外寻址命令时,地址是两个字节,寻址范围:0 ~ 64K6.内容格式说明: 是传输的数据,总大小有帧大小以及命令格式决定7.校验格式说明: 校验是存储帧中数字 1 的个数二、主机通信程序流程图NYYNYNNY开始主机初始化置 M 为计数标志M = 0 ? 发送地址帧, M = M-1收 到 从 机 应 答帧解析应答帧帧 校 验 正确?重设 M 的值M = 0 ?发送数据帧 M = M-1A通信失败通信失败NYYN解析应答帧解析应答帧帧校验正确?收 到 应 答帧等待从机应答帧返回通信结束三、从机通信程序流程图NYNYYNYNYNYNYN从机初始化等待主机广播收 到 地 址帧解析地址帧校验正确?地址匹配?回复应答帧值 SM2 = 0置 M 为计数器M = 0 ?接受一帧数据收到一帧数据解析帧数据校验正确?处理接受的一帧数据是 数 据帧?重置 M 的值通信失败结束帧准备接受下一帧四、主机通信功能模块 1、主机初始化模块 设置缓冲区 16 个字节(既是发送,又是接收缓冲区) 设置计数值 M 设置堆栈指针 2、帧设置...

1、当您付费下载文档后,您只拥有了使用权限,并不意味着购买了版权,文档只能用于自身使用,不得用于其他商业用途(如 [转卖]进行直接盈利或[编辑后售卖]进行间接盈利)。
2、本站所有内容均由合作方或网友上传,本站不对文档的完整性、权威性及其观点立场正确性做任何保证或承诺!文档内容仅供研究参考,付费前请自行鉴别。
3、如文档内容存在违规,或者侵犯商业秘密、侵犯著作权等,请点击“违规举报”。

碎片内容

单片机多机通信

不二商店+ 关注
实名认证
内容提供者

我是你的不二选择

确认删除?
VIP
微信客服
  • 扫码咨询
会员Q群
  • 会员专属群点击这里加入QQ群
客服邮箱
回到顶部