电脑桌面
添加小米粒文库到电脑桌面
安装后可以在桌面快捷访问

物流工作流程图及标准VIP专享

物流工作流程图及标准_第1页
1/6
物流工作流程图及标准_第2页
2/6
物流工作流程图及标准_第3页
3/6
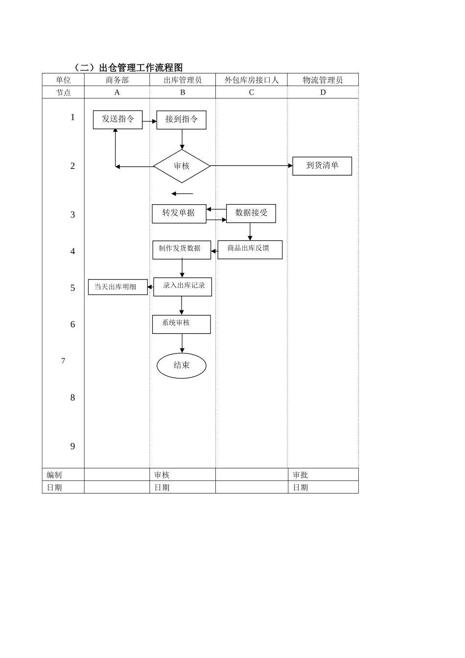
仓库管理工作流程及工作原则(一) 入仓管理工作流程图 单位商务部入库管理员外包库房接口人厂家承运商节点ABCD123456789编制审核审批日期日期日期发送指令结束审核告知外包库房联系承运商接到指令到货时间到货清单收货完毕退回验收收货告知到货明细系统审核到货检查入库流程:1, 商务要已邮件形式告知入库管理员所到商品型号、规格、数量及估量达到时间。2, 库管接到商品到货告知规定仓储员清理货位。到货商品顺利入库。3, 审核商品到货告知明细单,商品信息与否精确4, 商品信息有差别及时反馈给商务部5, 审核完毕要以邮件方式传递给物流接口人。6, 承运商送货专车靠到库房平台物流接口人要告知入库管理员。7, 入库管理员接到告知要及时到卸货平台查验商品工作8, 一方面要查验商品外包装箱有无破损,型号与否与装箱清单一致。9, 要安排外包接口人抽查商品数量与否与外箱数量与否一致10,要安排物流接口人按公司分拣商品及扫 SN 码11,物流接口人要以邮件形式传递商品 SN 码、到货明细单12,库房管理员接到 SN 号要做好备份后及到货清单转发入库商务13,登录公司系统审核商务系统入库数据与否与实际到货明细单一致。14,审核系统入库单15,制作入库明细表记录手工明细账16,每月要制定盘库表,与物流定制盘库日17,库房经理组织分派人员,进行短期培训。18,盘库期间物料保持静止状态19,与第三方物流库管进行逐项逐类进行核对20,有差别要找出因素分析细节贯彻责任.21,库房差别商品做出补偿,负责人进行解决,严重者直接开除。(二)出仓管理工作流程图 单位商务部出库管理员外包库房接口人物流管理员节点ABCD123456789编制审核审批日期日期日期发送指令结束审核制作发货数据转发单据接到指令数据接受到货清单录入出库记录商品出库反馈当天出库明细系统审核出库流程:1, 商务要已邮件形式告知出库库管理员所出商品型号、规格、数量及出库确认单2, 要核对公司商务制作系统出库单与邮件确认单与否一致。3, 出库管理员审核信息有差别及时反馈给商务部4, 商品信息核对精确转发商品出库确认单。5, 以邮件方式传递给外包物流接口人。 6, 出库管理员接到告知到备货平台核算商品商品7, 查验商品外包装箱有无破损,型号与否与装箱清单一致。8, 与外包物流仓储员共同检查商品数量与否与确认单数量与否一致9, 告知外包物流接口人按确认单分拣商品及扫 SN 码10 物流接口人要以邮件形式传递商品 SN 码、出...

1、当您付费下载文档后,您只拥有了使用权限,并不意味着购买了版权,文档只能用于自身使用,不得用于其他商业用途(如 [转卖]进行直接盈利或[编辑后售卖]进行间接盈利)。
2、本站所有内容均由合作方或网友上传,本站不对文档的完整性、权威性及其观点立场正确性做任何保证或承诺!文档内容仅供研究参考,付费前请自行鉴别。
3、如文档内容存在违规,或者侵犯商业秘密、侵犯著作权等,请点击“违规举报”。

碎片内容

物流工作流程图及标准

确认删除?
VIP
微信客服
  • 扫码咨询
会员Q群
  • 会员专属群点击这里加入QQ群
客服邮箱
回到顶部