电脑桌面
添加小米粒文库到电脑桌面
安装后可以在桌面快捷访问

主要设备润滑图表

主要设备润滑图表_第1页
1/61
主要设备润滑图表_第2页
2/61
主要设备润滑图表_第3页
3/61
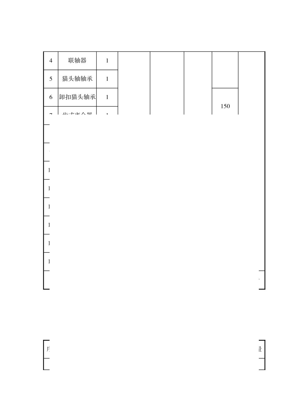
润 滑 图 表图 1 JJ450/45—K7 井架润滑图序号润滑部位保养点数环境温度油品名称 油品牌号 保养周期 h 注油量1、2、3、8、9滑轮轴承6-30℃~50℃ 二硫化钼极压锂基脂3 号起井架前适量4、5、6、7辅助滑轮轴承8—30℃~50℃通用锂基脂3 号150适量图 2 DZ450/10.5—S2 底座序号润滑部位保养点数环境温度油品名称油品牌号 保养周期h注油量 1、2、 3、4、5、6滑轮轴承12-30℃~50℃ 二硫化钼极压锂基脂3 号起底座前适量图 3 JC70D 绞车润滑图JC70D 绞车润滑表序号润滑部位保养点数环境温度油品名称油品牌号 保养周期h注油量1联轴器1—30℃~50℃通用锂基脂3 号12适量2输入轴轴承13输入轴轴承14联轴器15猫头轴轴承16卸扣猫头轴承11507齿式离合器18水气葫芦、导气龙头2129滚筒轴空套链轮轴承110盘刹钳销轴4875011滚筒轴空套链轮轴承11212滚筒轴轴承213水气仪表装置轴承815014导气龙头11215上扣猫头轴承1150*链条并车油池10℃~50℃机械油L—AN100 按质换油500 升图 4 JC14.5 绞车(大庆 130—Ⅱ 绞车)润滑图JC14.5 绞车(大庆 130Ⅱ 绞车)润滑表序号润滑部位保养点数环境温度油品名称 油品牌号 保养周期h注油量1并车链条油箱10℃~50℃机械油L-AN100 按质换油加至油面线—30℃~0℃L—AN322、15锚头轴支承轴承2-30℃~50℃通用锂基脂3 号12适量3、11传动轴支承轴承24、5传动轴三档链轮支承轴承26传动轴牙嵌拨圈1起下钻时适量7、8传动轴二档链轮轴承212适量9、10锚头轴一档链轮轴承212猫头轴牙嵌拨圈1起下钻时3、14传动轴四档链轮轴承212适量17锚头轴双气囊支承轴承116、18、38导气龙头325、26滚筒轴双链轴承2-30℃~50℃通用锂基脂3 号12适量27、34滚筒轴支承轴承228刹车气缸铜套l29刹车气缸活套130、33、37刹车曲轴支承轴瓦331、32刹车曲拐轴瓦235、36滚筒轴气囊链轮轴承239、42排档操纵机构支承240、41排档操纵机构曲轴2图 5 JC32、JC45、JC45D 绞车润滑图JC32、JC45、JC45D 绞车润滑表序号润滑部位保养点数环境温度油品名称油品牌号保养周期 h注油量1滑轮(左右)2—30℃~50℃通用锂基脂3 号150适量2左挡辊43低速空转链轮轴承14左快绳档辊(前后)2-30℃~50℃3 号245滚筒轴支承轴承2—30℃~50℃3 号126右快绳档辊(前后)2—30℃~50℃3 号247右档辊4-30℃~50℃3 号1509髓空隙轮轴承1—30℃~50℃通用锂基脂3 号1210棚车鹏(辅)211电 磁 刹 车 轴 承 ( 左右)212牙嵌213拨叉214转盘中间轴...

1、当您付费下载文档后,您只拥有了使用权限,并不意味着购买了版权,文档只能用于自身使用,不得用于其他商业用途(如 [转卖]进行直接盈利或[编辑后售卖]进行间接盈利)。
2、本站所有内容均由合作方或网友上传,本站不对文档的完整性、权威性及其观点立场正确性做任何保证或承诺!文档内容仅供研究参考,付费前请自行鉴别。
3、如文档内容存在违规,或者侵犯商业秘密、侵犯著作权等,请点击“违规举报”。

碎片内容

主要设备润滑图表

元素商铺+ 关注
实名认证
内容提供者

欢迎挑选合适的文档

确认删除?
VIP
微信客服
  • 扫码咨询
会员Q群
  • 会员专属群点击这里加入QQ群
客服邮箱
回到顶部