电脑桌面
添加小米粒文库到电脑桌面
安装后可以在桌面快捷访问

RF-SJ-ZY-07设计图纸及资料管理作业指引VIP免费

RF-SJ-ZY-07设计图纸及资料管理作业指引_第1页
1/11
RF-SJ-ZY-07设计图纸及资料管理作业指引_第2页
2/11
RF-SJ-ZY-07设计图纸及资料管理作业指引_第3页
3/11
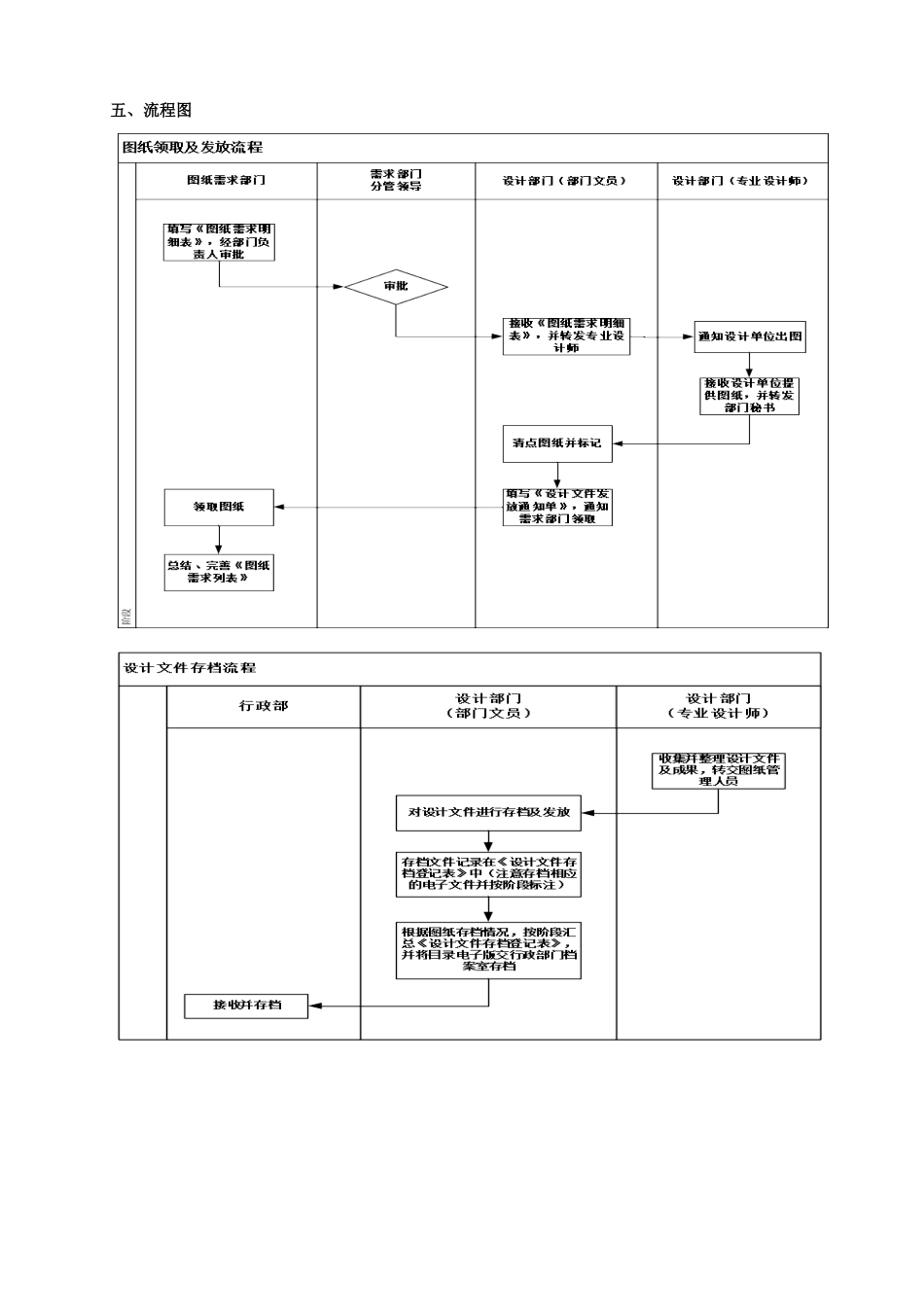
设计图纸及资料管理作业指引编制日期审核日期批准日期一、作业指引目的规范图纸管理过程中的图纸收集、发放、保管工作,明确相关部门的工作职责和工作要求。二、适用范围适用公司所有开发项目设计图纸的审批形成、接收、更新、标识、发放、执行、回收、销毁及归档管理。三、定义术语3.1设计文件:包括与设计管理相关的图纸、文本、文档。3.2图纸:包括政府批复的详规报建图、单体报建图、工程许可证附图、审核用的过程白图(或蓝图)、施工招标图、部品设计图、施工图、厂家二次深化设计施工图、竣工图。3.3文本:包括方案设计文本、初步设计文本。3.4文档:包括工程指令、会议纪要、传真等。四、职责1.1设计管理部/总工室1.4.1负责设计图纸资料的统一归口管理;1.4.2负责图纸接收及图纸审核,督促设计单位完成竣工图;1.4.3负责设计文件下发管理;1.4.4负责施工图前的设计图纸存档整理工作。1.2工程部1.2.1负责施工图的接收、标识、登记、发放、回收、移交及归档管理;1.2.2负责设计变更申请审批单、设计变更指令、变更图纸及工程变更指令的存档整理工作;1.2.3负责工作联系单的存档整理;1.2.4负责图纸会审记录单的存档整理。1.3行政部1.3.1负责项目竣工后图纸存档整理;1.3.2负责政府审批通过的报建图存档工作。五、流程图六、关键活动描述1.4图纸命名原则1.4.1设计图纸项目命名原则:地区名(广州可略)---总项目名(及地块名)---单体(及功能名)1.4.2设计图纸项目命名示例例1:珠江新城A2-2,A2-3地块办公楼例2:花都金港城东区A1-A3栋住宅例3:海南香水湾一期独栋别墅1.4.3设计图纸项目命名流程:设计管理部/总工室初定项目名称-----与销售策划部及开发中心讨论确认后作为图纸项目名称-----最后以建设工程规划许可证为准(项目建筑师负责确认及知会各专业)。1.4.4设计图纸各阶段专业项目名必须完全一致。1.5图纸编号1.5.1图纸编号管理1)设计任务书下达或项目正式启动时,工程名与图纸业务编号同时确定;2)具体由设计院图档管理员操作及管理,电子版并放在固定的服务器上供设计人员及各方查阅。1.5.2图纸编号原则:1)业务编号:年份该年度大项目顺序号-单项编号;2)示例:0705-01、表示本项目是07年启动的,大项目顺序号是05,单项编号是01;3)业务编号方法:年份(如07)及该年度大项目顺序号(如05)由设计院统一确定,单项编号(如-01)由项目总负责统一规划确定并知会设计院或总工室。1.5.3图纸编号实施办法1)新项目从0801开始编写。2)设计中的项目从0701开始编写;3)已建及在建项目依开始年度假编号,后面备注实际图纸编号。假编号只作为检索用(档案室根据底图归档需要逐步整理)。1.6图纸分册1.6.1设计图纸(施工图)分册原则:1)第一分册:建筑2)第二分册:结构3)第三分册:给排水4)第四分册:电气强电智能弱电5)第五分册:暖通空调6)第六分册:室内装修7)第七分册:园林1.6.2施工图要求按以上原则分册,特殊情况可由项目总负责人自定。凡工程有缺省的单项,分册号勿空,应按顺序递推。1.7图框及图纸修改1.7.1标准图框尺寸图纸规格A0A1A2A3A4A1+1/4A1+1/2A0+1/4图纸长度(mm)1188840594420297105012601485图纸高度(mm)8405944202972105945948401.7.2图框尺寸原则:1)尽量少用加长图纸,特别是A0以上的加长图纸;2)施工图封面各专业均采用A2;3)同一套图除目录为A4外,其余尽可能不超过两种,图框优先采用A2、A1、其次A0,再次A1+1/4、再次A0+1/4。1.7.3修改图纸的图号标识原则1)修改图纸的图号以可与原图或前次修改图明确识别为原则;2)修改图框日期:示例原图070511;修改图070912,时间与原图不同且晚于原图时间;3)修改图框外日期及次数:同时修改图框外左下脚的第N次修改及日期;4)每次出修改图需要同时修改图纸目录,包括目录图框的相关信息、目录及相应的修改图备注栏内注明替代情况;5)图框图号的修改参《建筑专业标准化设计要求》(2007.9版附录一4.4)执行。示例:原图JS-05,修改图JS-05-05G;6)图框图号的修改也可参以下方法执行:示例:原图JS-05,第一次修改图JS-05X;第二次修改图JS-05X2……1.7.4设计修改通知单及修改图纸1)凡业主需要及其他专业...

1、当您付费下载文档后,您只拥有了使用权限,并不意味着购买了版权,文档只能用于自身使用,不得用于其他商业用途(如 [转卖]进行直接盈利或[编辑后售卖]进行间接盈利)。
2、本站所有内容均由合作方或网友上传,本站不对文档的完整性、权威性及其观点立场正确性做任何保证或承诺!文档内容仅供研究参考,付费前请自行鉴别。
3、如文档内容存在违规,或者侵犯商业秘密、侵犯著作权等,请点击“违规举报”。

碎片内容

RF-SJ-ZY-07设计图纸及资料管理作业指引

您可能关注的文档

确认删除?
VIP
微信客服
  • 扫码咨询
会员Q群
  • 会员专属群点击这里加入QQ群
客服邮箱
回到顶部