电脑桌面
添加小米粒文库到电脑桌面
安装后可以在桌面快捷访问

某酒业生产企业设备安全管理流程VIP免费

某酒业生产企业设备安全管理流程_第1页
1/1
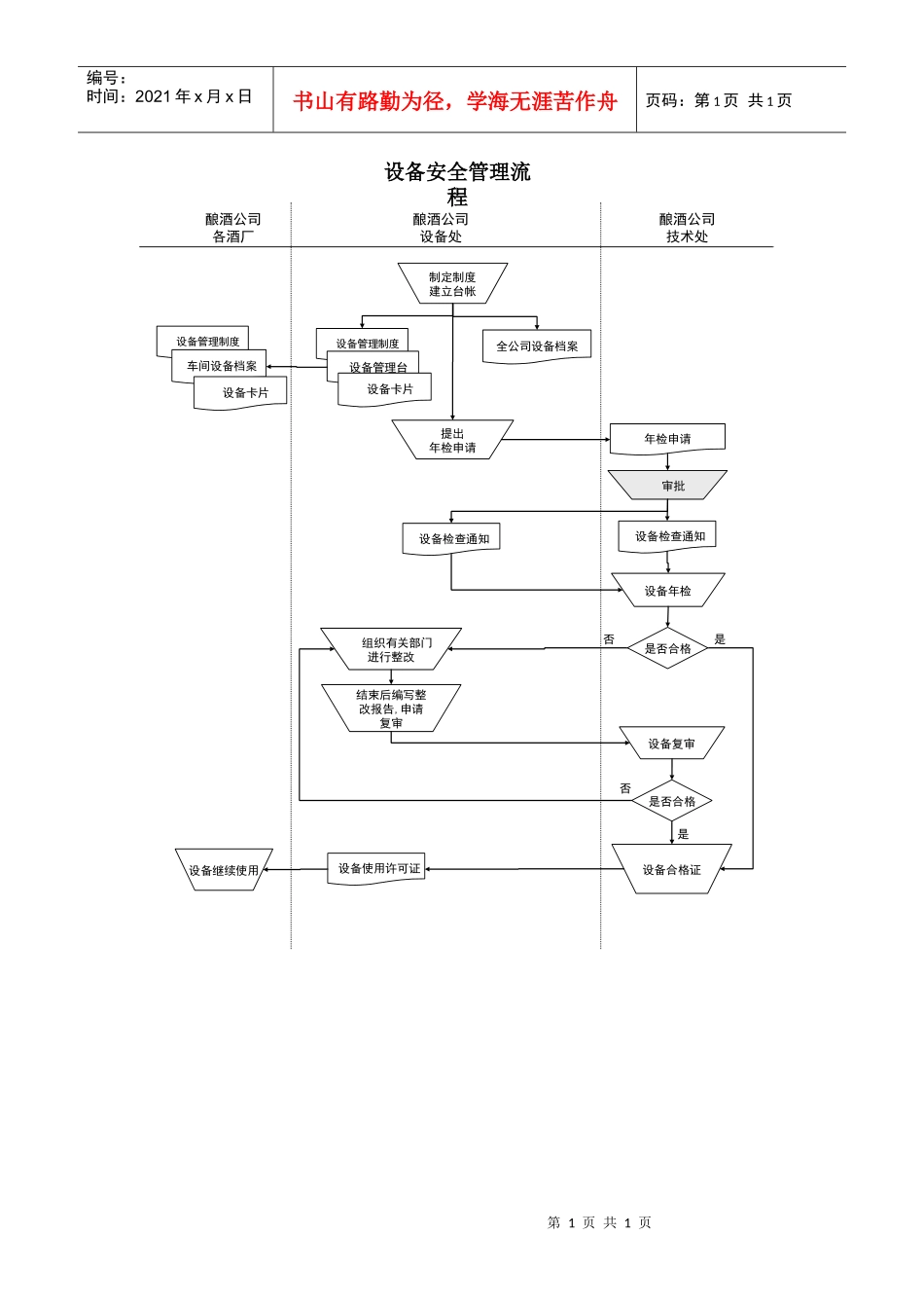
第1页共1页编号:时间:2021年x月x日书山有路勤为径,学海无涯苦作舟页码:第1页共1页第30页Sinotrust设备管理制度车间设备档案全公司设备档案提出年检申请设备年检是否合格设备合格证设备使用许可证设备继续使用组织有关部门进行整改结束后编写整改报告,申请复审设备复审是否合格是否否是设备管理制度设备管理台帐设备卡片制定制度建立台帐年检申请审批设备安全管理流程酿酒公司各酒厂酿酒公司技术处酿酒公司设备处设备卡片设备检查通知设备检查通知

1、当您付费下载文档后,您只拥有了使用权限,并不意味着购买了版权,文档只能用于自身使用,不得用于其他商业用途(如 [转卖]进行直接盈利或[编辑后售卖]进行间接盈利)。
2、本站所有内容均由合作方或网友上传,本站不对文档的完整性、权威性及其观点立场正确性做任何保证或承诺!文档内容仅供研究参考,付费前请自行鉴别。
3、如文档内容存在违规,或者侵犯商业秘密、侵犯著作权等,请点击“违规举报”。

碎片内容

某酒业生产企业设备安全管理流程

您可能关注的文档

确认删除?
VIP
微信客服
  • 扫码咨询
会员Q群
  • 会员专属群点击这里加入QQ群
客服邮箱
回到顶部