电脑桌面
添加小米粒文库到电脑桌面
安装后可以在桌面快捷访问

武汉大学师生员工向西南旱灾、玉树地震灾区VIP免费

武汉大学师生员工向西南旱灾、玉树地震灾区_第1页
1/3
武汉大学师生员工向西南旱灾、玉树地震灾区_第2页
2/3
武汉大学师生员工向西南旱灾、玉树地震灾区_第3页
3/3
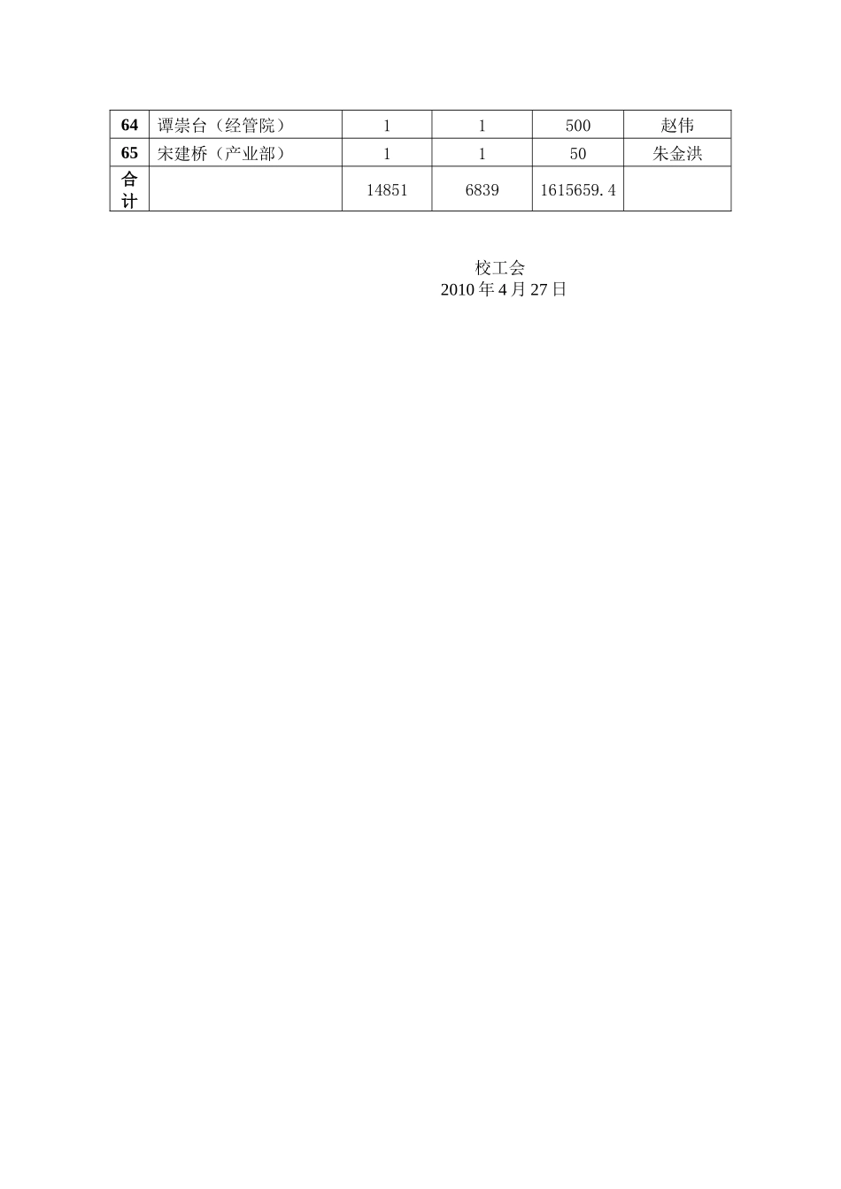
武汉大学师生员工捐赠情况汇总表(截止到2010年4月26日)序号单位捐款总人数其中党员人数捐款总金额(元)经办人1文学院826014800万立新2历史学院584114560肖四海3哲学学院684323000张月华4外国语言文学学院25110033760周兰英5新闻与传播学院65517800程盼盼6艺术学系39255050潘志兵7信息管理学院1066726400赵金利8经济与管理学院31718365220宋岚9法学院1119023910徐洛林10社会学系23153250林卫11教育科学学院29224400肖志辉12政治与公共管理学院22918444450孙晓玲13数学与统计学院814614150罗云峰14物理科学与技术学院1417625570付强15化学与分子科学学院1719129530王杭菊16生命科学学院1526833300张军亭17资源与环境科学学院1178316050吕秀琴18水利水电学院1937534350张申泽19电气工程学院1407723930华小梅20动力与机械学院1788720300孙林歌21城市设计学院1206021835陈彩章22土木建筑工程学院1446526380方火明23计算机学院22514524220陆一24电子信息学院2039631678.10邢颖25遥感信息工程学院855315900郝保华26测绘学院1146620650闫玮27印刷与包装系39283500张伟28国际软件学院1145517000邰媛媛29基础医学院21912932200梁慧30第一临床学院25091321109149蒋兴海31第二临床学院1558585169215曹清32口腔医学院63023952030张旋33药学院44264150李新明34公共卫生学院34196000刘纯35医学职业技术学院1146717110成梅36校医院1905621635梁汉平37机关与直属单位1236810143250卢兵38后勤保障部29711413550彭亦农39高新技术产业发展部1575513550朱金洪40继续教育学院815712100高玉忠41图书馆32214931050戴蕾42出版社1497213565高鹏飞43体育部1165322100徐静44附属学校27910122340陈三军45后勤服务集团123030876091赵彩萍46珞珈学院1649013031姚玉萍47WTO学院68167000陈苏一48测绘遥感信息工程国家重点实验室836136750刘秀英49卫星导航GPS中心27145650杨敏50资环院学生4843849954魏秀琴51周杨眉(卫星导航)1150周扬眉52武大设计院3096450王忠祥53老干办622117462李兰54附校高一年级6635陈三军55张世俊(文学院)1100张世俊56冯洁菡(法学院)1100冯洁菡57数学院学生4117.8罗云峰58章红平(遥感实验室)11300章红平59鄢建国1100鄢建国60政治与公共管理学院学生58711748李霖61老干处四区50509740孟洪62信管院师生191743.5陈历奇63王琼(新闻学院)150张明新64谭崇台(经管院)11500赵伟65宋建桥(产业部)1150朱金洪合计1485168391615659.4校工会2010年4月27日

1、当您付费下载文档后,您只拥有了使用权限,并不意味着购买了版权,文档只能用于自身使用,不得用于其他商业用途(如 [转卖]进行直接盈利或[编辑后售卖]进行间接盈利)。
2、本站所有内容均由合作方或网友上传,本站不对文档的完整性、权威性及其观点立场正确性做任何保证或承诺!文档内容仅供研究参考,付费前请自行鉴别。
3、如文档内容存在违规,或者侵犯商业秘密、侵犯著作权等,请点击“违规举报”。

碎片内容

武汉大学师生员工向西南旱灾、玉树地震灾区

您可能关注的文档

确认删除?
VIP
微信客服
  • 扫码咨询
会员Q群
  • 会员专属群点击这里加入QQ群
客服邮箱
回到顶部