电脑桌面
添加小米粒文库到电脑桌面
安装后可以在桌面快捷访问

视频会议系统施工作业指导书VIP免费

视频会议系统施工作业指导书_第1页
1/43
视频会议系统施工作业指导书_第2页
2/43
视频会议系统施工作业指导书_第3页
3/43
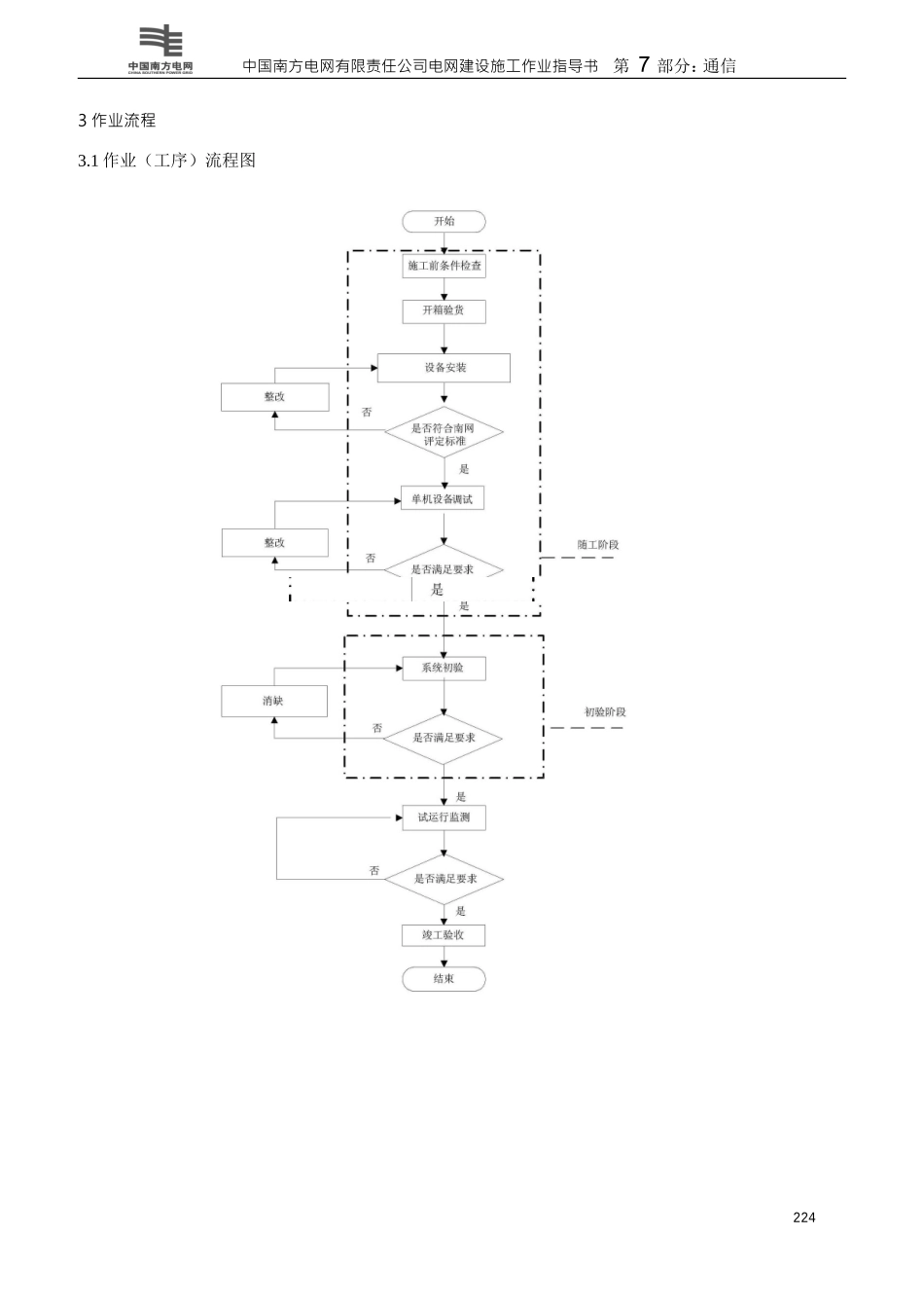
第7部分:通信视频会议系统施工作业指导书编码:DLTX-ZW-07中国南方电网有限责任公司电网建设施工作业指导书第7部分:通信2231适用范围本作业指导书适用于南方电网视频会议系统施工、调试及验收作业。2编写依据表2-1引用标准及规范名称序号标准及规范名称颁发机构1《综合布线工程验收规范》GB50312-2007中华人民共和国建设部2《基于IP网络的视讯会议系统总技术要求》GB5/T21639-2008中华人民共和国国家质量监督检验检疫总局3《视频会议系统工程设计规范》YD-T5032-2005中华人民共和国信息产业部4《会议电视系统工程验收规范》YD/T5033-2005中华人民共和国信息产业部6《电力建设安全工作规程》(变电所部分)DL5009.3-1997中华人民共和国电力工业部7《电业安全工作规程》(发电厂和变电所电气部分)DL408-91中华人民共和国能源部8《IP网络技术要求-网络性能参数与指标》YD/T1171-2001中华人民共和国信息产业部9《IP网络技术要求-网络性能测量方法》YD/T1381-2005中华人民共和国信息产业部10《南方电网公司视频会议管理办法(试行)》中国南方电网公司11《中国南方电网通信网资源编码命名规范》中国南方电网公司12《10kV~500kV送变电工程质量检验及评定标准》Q/CSG10017.2-2007中国南方电网公司13《变电站安健环设施标准》Q/CSG10001-2004中国南方电网公司14《南方电网工程施工工艺控制规范》Q/CSG11106.2-2008中国南方电网公司15《南方电网视频会议系统技术规范》中国南方电网公司16《南方电网视频会议系统验收规范》中国南方电网公司中国南方电网有限责任公司电网建设施工作业指导书第7部分:通信2243作业流程3.1作业(工序)流程图中国南方电网有限责任公司电网建设施工作业指导书第7部分:通信2254安全风险辨析与预控4.1视频会议系统施工作业前,施工项目部根据该项目作业任务、施工条件,参照《电网建设施工安全基准风险指南》(下简称《指南》)开展针对性安全风险评估工作,形成该任务的风险分析表。4.2按《指南》中与视频会议系统施工相关联的《电网建设安全施工作业票》(编码:DLTX-ZW-07-01/02~DLTX-ZW-07-02/02),结合现场实际情况进行差异化分析,确定风险等级,现场技术员填写安全施工作业票,安全员审核,施工负责人签发。4.3施工负责人核对风险控制措施,并在日站班会上对全体作业人员进行安全交底,接受交底的作业人员负责将安全措施落实到各作业任务和步骤中。4.4安全施工作业票由施工负责人现场持有,工作内容、地点不变时可连续使用10天,超过10天须重新办理作业票,在工作完成后上交项目部保存备查。表4-1视频会议系统设备安装作业安全基准风险指南序号危害名称风险种类风险等级风险控制措施1机柜的倾倒碰撞可接受的风险1.竖立机柜时须四人合作。2.工作时专人监护2设备的倾倒碰撞可接受的风险1.搬动设备时应做好必要的防范措施。2.机架临时停放应平稳。3.机架固定要牢固可靠3不正确使用工器具打击可接受的风险1.工作时专人监护。2.应使用绝缘工具操作,防止误碰。3.用正确方法使用工器具4违反带电作业规程触电低风险1.工作人员应戴绝缘手套,穿绝缘靴。2.工作时有专人监护。3.使用绝缘合格的工具。4.按期检查移动式电动工具。5.采用绝缘等级为Ⅱ类的双重绝缘工具。6.采用装设有漏电保安器的放线盘。7.临时电源开关应带有二级漏电保护,且经检验合格5穿越临时遮栏触电低风险临时遮栏的装设需在保证作业人员不能误碰其他带电设备的前提下,方便作业人员进出现场和实施作业6操作不当引起火灾灼(烫)伤、设备报废低风险1.配备合格、足够的灭火器。2.严禁使用非设备和非工作用的电器。3.及时更新陈旧的设备和动力电缆,避免短路引起火灾。4.机房内严禁存放易燃、易爆和腐蚀性物品。5.施工现场不准吸烟。6.现场动火必须严格审批7硬物打击伤人和设备损坏碰撞可接受的风险1.作业人员佩戴安全帽,不准上下抛递物件或工具。2.要思想集中,认真观察有无障碍、孔洞等不安全因素。3.不准高处存放物件或工具。4.搬运物品时要防止物品过重坠落伤人。5.材料堆放要有条有理,放置应平稳,防止物品倒塌。6.严禁将水放置在设备上226中国南方电网有限责任公司电网建设施工作业指导...

1、当您付费下载文档后,您只拥有了使用权限,并不意味着购买了版权,文档只能用于自身使用,不得用于其他商业用途(如 [转卖]进行直接盈利或[编辑后售卖]进行间接盈利)。
2、本站所有内容均由合作方或网友上传,本站不对文档的完整性、权威性及其观点立场正确性做任何保证或承诺!文档内容仅供研究参考,付费前请自行鉴别。
3、如文档内容存在违规,或者侵犯商业秘密、侵犯著作权等,请点击“违规举报”。

碎片内容

视频会议系统施工作业指导书

您可能关注的文档

确认删除?
VIP
微信客服
  • 扫码咨询
会员Q群
  • 会员专属群点击这里加入QQ群
客服邮箱
回到顶部