电脑桌面
添加小米粒文库到电脑桌面
安装后可以在桌面快捷访问

附件1广东省质量检测技术机构计量认证工作程序VIP免费

附件1广东省质量检测技术机构计量认证工作程序_第1页
1/8
附件1广东省质量检测技术机构计量认证工作程序_第2页
2/8
附件1广东省质量检测技术机构计量认证工作程序_第3页
3/8
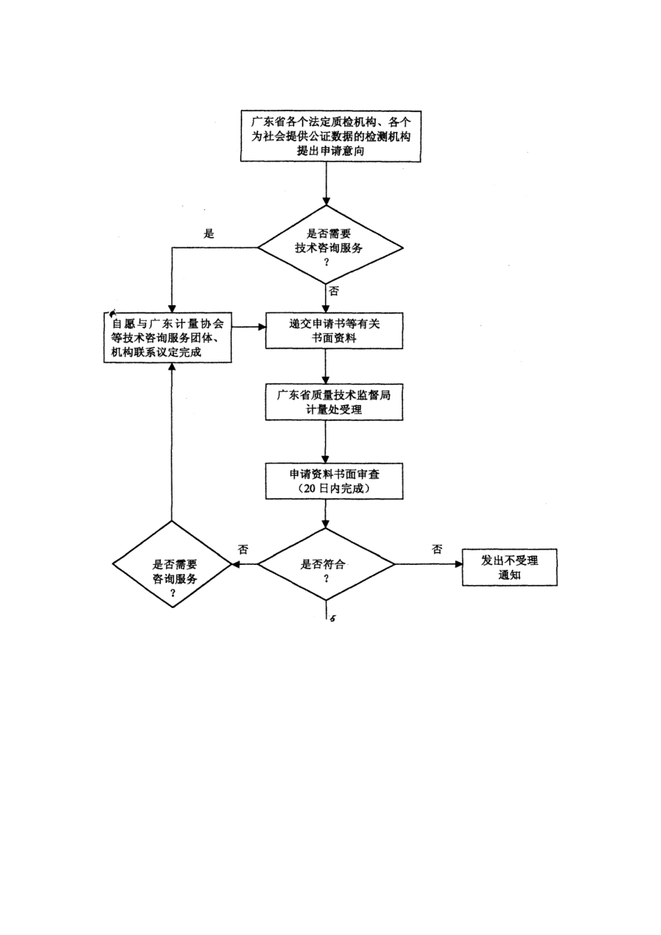
附件1:广东省质量检测技术机构计量认证工作程序1.受理范围:1.1广东省内为社会提供公证数据的质量检测机构;1.2广东省内按有关法律、法规规定设置的为社会提供公证数据的其它质量监督检测机构或承担行业主管部门委托执行公证性检验任务的检测机构;1.3广东省内承担计量器具样机试验的质量检验机构或属单纯性(中介技术服务)的检测机构。2.具体工作受理部门:广东省质量技术监督局计量处(计量认证办公室)。3.申请计量认证必须满足的资格条件:3.1具有独立的第三方公正性地位;3.2具有独立法人资格或经法人授权的机构(二级法人);3.3具有独立财务帐号;3.4必须有满足计量认证要求的组织、人员、场地、设备和质量保证能力;3.5不从事涉及与被检测产品(工程)有关的研究、开发、生产和监制活动;3.6不以营利为目的;3.7不受任何方面对出具公正、准确检测技术报告的干预。4.申请时间和具体要求:4.1首次认证或增项认证申请由申请机构根据自身条件适时提出。4.2计量认证合格机构申请复查必须在《计量认证合格证书》有效期满前6个月内提出。4.3各地级以上市及顺德市包括所属县级产品质量监督检测机构的计量认证申请的资料(含首次认证、复查换证和增项认证)交申请机构所在地的地级以上市及顺德市质量技术监督局计量处(科)后再统一上交省计量认证办公室。4.4省级质检机构和质技监系统以外其它各行业的质检机构应直接将计量认证申请(含首次、复查和增项认证)报省计量认证办公室。4.5省级产品质量监督检验机构和各地级以上市及顺德市产品质量监督检验机构、锅炉压力容器检验机构、特种设备检验机构申请项目(参数)或增项申请项目(参数),须先报经省质量技术监督局归口主管的业务处审查,加注同意予以质检授权或资格认可意见后,再交省计量认证办公室申请办理计量认证。4.6申请计量认证的项目必须有相应的国家、国际标准/规程、规范或行业标准作为依据:地方标准只限本省内认证有效。企业标准、标准的报批稿、委托方的协议均:不作为计量认证的依据。5.首次计量认证的受理和评审计划实施:5.1省计量认证办公室主办人员收到《计量认证申请书》及有关材料后,在20日内完成书面审查工作,对符合规定的申请予以受理并进行现场评审登记立项,向申请机构发出受理通知书和现场评审计划安排通知书;对不符合规定的申请,发出不予受理通知书。5.2计量认证申请被接受后,由省计量认证办公室将申请书一份转交给申请机构所在地的地级以上市(含顺德市)质量技术监督局备案。5.3省计量认证办公室确定评审组长并委托广东计量协会组织具体的评审技术服务工作,聘请评审员和根据需要聘请1-2名技术专家组成现场评审组执行现场考核评审。必要时省计量认证办公室指定有关行政监督管理人员参加现场评审监督。5.4正式递交申请资料之前或之后,如需要技术咨询服务的可按自愿的原则与广东计量协会或有关技术服务社团或机构协商议定由其提供技术咨询服务。6.现场评审后资料处理上报:6.1计量认证现场评审组应于现场考核结束后10天内将评审结果及有关材料报送省质量技术监督局审批,并报送以下材料:6.1.1计量认证申请书一份;6.1.2《计量认证评审报告》一份;6.1.3《计量认证合格证附表》一份。6.1.4现场考核的其它资料封存在被考核单位,待抽查或监督检查时查看。6.2属于限期整改的单位必须按整改要求在整改工作完成后,由评审组重新进行审核,合格后加具评审组长对被审方整改的审查意见并签字、注明日期连同整改报告一并报给省计量认证办公室。7.审批发证:7.1省计量认证办公室主办人在接到上报材料后,在15日内完成对有关材料的审核,并在主办人意见一栏写明意见和签名后,报计量处处长审查签署意见后报主管局长审批。7.2对认证合格的质量检测机构,经省质量技术监督局审查批准后,在15日内发出计量认证合格证、证书和附表,允许启用特定的认证机构印鉴、编号,并在检测报告上使用统一的计量认证标志。对考核不合格的质量检测机构,发给计量认证结果通知书。8.复查换证和增项认证受理和评审计划实施8.1属于计量认证复查换证和增项认证的,由省计量认证办公室根据计量认证申请...

1、当您付费下载文档后,您只拥有了使用权限,并不意味着购买了版权,文档只能用于自身使用,不得用于其他商业用途(如 [转卖]进行直接盈利或[编辑后售卖]进行间接盈利)。
2、本站所有内容均由合作方或网友上传,本站不对文档的完整性、权威性及其观点立场正确性做任何保证或承诺!文档内容仅供研究参考,付费前请自行鉴别。
3、如文档内容存在违规,或者侵犯商业秘密、侵犯著作权等,请点击“违规举报”。

碎片内容

附件1广东省质量检测技术机构计量认证工作程序

墨香书阁+ 关注
实名认证
内容提供者

热爱教学事业,对互联网知识分享很感兴趣

相关文档

确认删除?
VIP
微信客服
  • 扫码咨询
会员Q群
  • 会员专属群点击这里加入QQ群
客服邮箱
回到顶部