电脑桌面
添加小米粒文库到电脑桌面
安装后可以在桌面快捷访问

电力牵引供变电技术课本第五章相关图片VIP免费

电力牵引供变电技术课本第五章相关图片_第1页
1/7
电力牵引供变电技术课本第五章相关图片_第2页
2/7
电力牵引供变电技术课本第五章相关图片_第3页
3/7
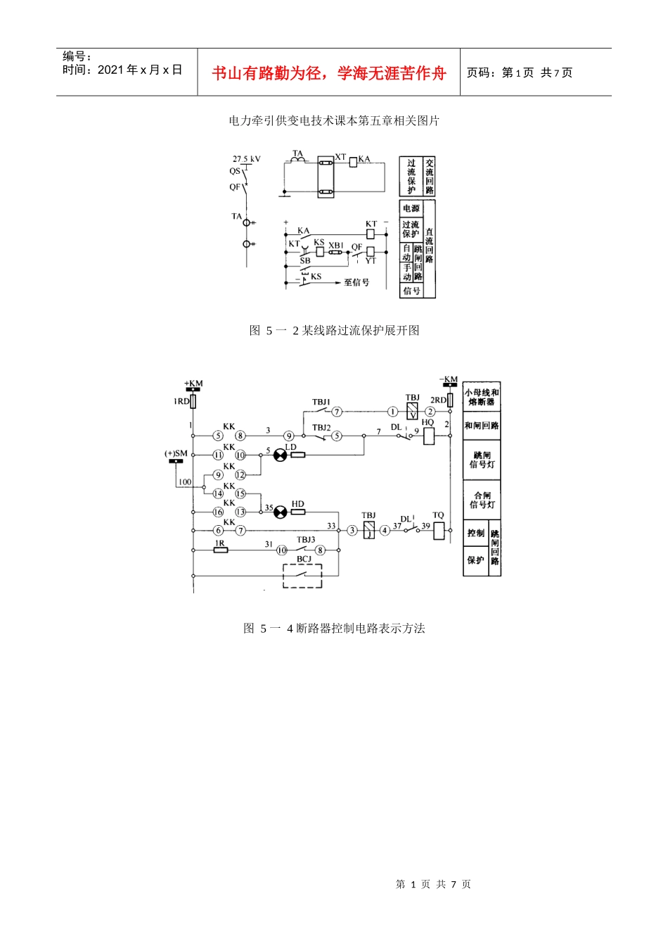
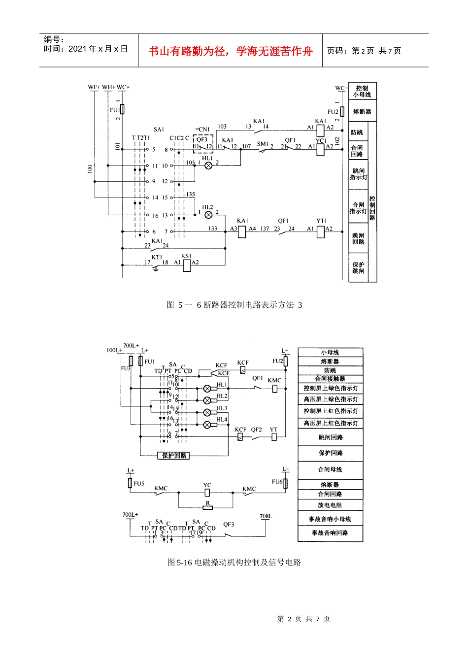
第1页共7页编号:时间:2021年x月x日书山有路勤为径,学海无涯苦作舟页码:第1页共7页电力牵引供变电技术课本第五章相关图片图5一2某线路过流保护展开图图5一4断路器控制电路表示方法第2页共7页第1页共7页编号:时间:2021年x月x日书山有路勤为径,学海无涯苦作舟页码:第2页共7页图5一6断路器控制电路表示方法3图5-16电磁操动机构控制及信号电路第3页共7页第2页共7页编号:时间:2021年x月x日书山有路勤为径,学海无涯苦作舟页码:第3页共7页图5-18液压操动机构控制电路第4页共7页第3页共7页编号:时间:2021年x月x日书山有路勤为径,学海无涯苦作舟页码:第4页共7页图5一19馈出线控制二次接线(一)第5页共7页第4页共7页编号:时间:2021年x月x日书山有路勤为径,学海无涯苦作舟页码:第5页共7页图5一20馈出线控制二次接线(二)第6页共7页第5页共7页编号:时间:2021年x月x日书山有路勤为径,学海无涯苦作舟页码:第6页共7页图5一26中央信号装置二次接线图(一)第7页共7页第6页共7页编号:时间:2021年x月x日书山有路勤为径,学海无涯苦作舟页码:第7页共7页图5-27中央信号装置二次接线图(二)图5一28中央信号装置二次接线图(三)

1、当您付费下载文档后,您只拥有了使用权限,并不意味着购买了版权,文档只能用于自身使用,不得用于其他商业用途(如 [转卖]进行直接盈利或[编辑后售卖]进行间接盈利)。
2、本站所有内容均由合作方或网友上传,本站不对文档的完整性、权威性及其观点立场正确性做任何保证或承诺!文档内容仅供研究参考,付费前请自行鉴别。
3、如文档内容存在违规,或者侵犯商业秘密、侵犯著作权等,请点击“违规举报”。

碎片内容

电力牵引供变电技术课本第五章相关图片

您可能关注的文档

确认删除?
VIP
微信客服
  • 扫码咨询
会员Q群
  • 会员专属群点击这里加入QQ群
客服邮箱
回到顶部