电脑桌面
添加小米粒文库到电脑桌面
安装后可以在桌面快捷访问

某市物业管理信息系统建立和使用VIP免费

某市物业管理信息系统建立和使用_第1页
1/16
某市物业管理信息系统建立和使用_第2页
2/16
某市物业管理信息系统建立和使用_第3页
3/16
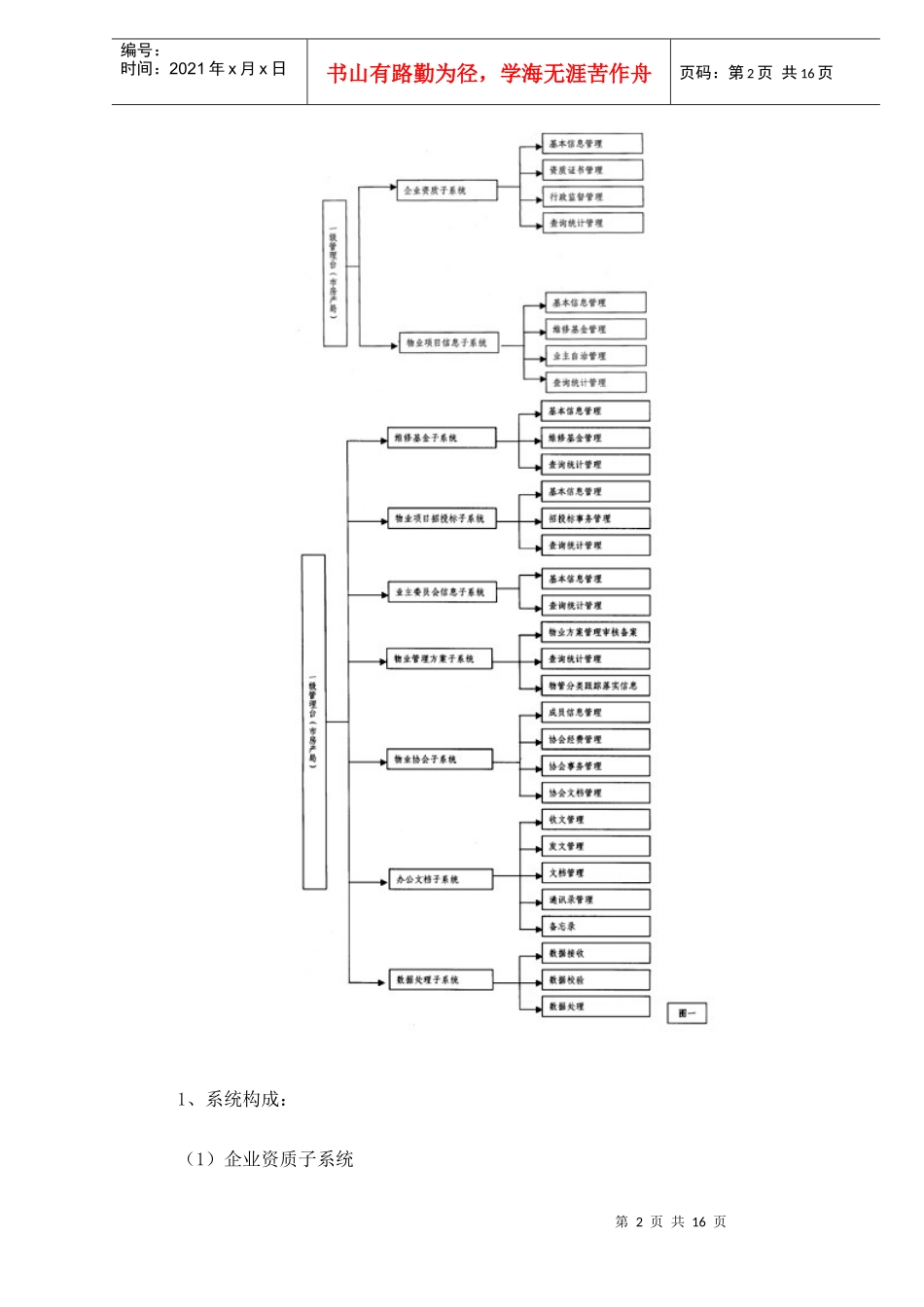
第1页共16页编号:时间:2021年x月x日书山有路勤为径,学海无涯苦作舟页码:第1页共16页成都市物业管理信息系统建立和使用一、建立成都市物业管理信息系统的目的为提高我市物业管理监管工作的科技含量和智能化程度,提高物业管理行业的行政管理水平和服务效率,增加办事透明度,实现办公自动化和满足电子政务要求;同时为充分整合利用全市物业管理信息资源,实现信息资源共享,开通全市物管信息网络,建立全市物业管理信息发布制度,我们与成都天问软件有限公司联合开发建立了成都市物业管理信息系统,经过近半年的试运行,基本满足设计使用功能。二、关于我市物业管理信息系统的基本构成及工作流程(一)一级管理平台(市房管局)(见图一)第2页共16页第1页共16页编号:时间:2021年x月x日书山有路勤为径,学海无涯苦作舟页码:第2页共16页1、系统构成:(1)企业资质子系统第3页共16页第2页共16页编号:时间:2021年x月x日书山有路勤为径,学海无涯苦作舟页码:第3页共16页(2)物业管理行业协会子系统(3)物业项目信息子系统(4)业主委员会信息子系统(5)物业项目共用部位、共用设施设备维修基金信息子系统(6)项目招投标管理子系统(7)物业管理方案子系统(8)办公文档管理子系统(9)数据处理子系统2、系统功能:(1)企业资质子系统:①基本信息管理:包括资质等级申报信息、营业执照信息、企业章程信息、物业管理合同信息、从业人员信息、管理业绩信息、企业经营信息、制度建设信息、企业动态、其他信息等。②资质证书管理:包括等级指标校验、资质等级评定、资质证书打印和资质等级复验等。③行政监督管理:包括行政监督、违规处罚、事务处理等。④查询统计管理:包括企业信息的简单查询、组合查询以及对企业信息的分类统计和综合统计。(2)物业项目信息子系统:第4页共16页第3页共16页编号:时间:2021年x月x日书山有路勤为径,学海无涯苦作舟页码:第4页共16页①基本信息管理:包括物业规划信息、构成信息、配套信息、交付使用信息、评优信息、开发单位信息、管理单位信息等。②维修基金管理:包括物业维修基金收取、使用、统计等。③业主自治管理:包括业委会成立、业委会章程、业委会成员、业委会会议、业委会决议和业委会换届改选等。④查询统计管理:包括物业信息的简单查询、组合查询以及对物业信息的分类统计和综合统计。(3)业主委员会信息子系统:包括业主大会召开及形成的决议、业主公约、业委会的成立与改选、章程、会议、决议、成员情况等。(4)物业项目共用部位、共用设施设备维修基金信息子系统:包括物业名称、业委会、开发商、管理商、基金建立归集情况、代管情况、使用情况、使用依据、监管措施、续筹等。(5)物业管理招投标信息子系统:包括物业项目、招标单位、代理机构、参与投标单位、中标单位、履约保证金、招标书、中标书、物管合同等。(6)物业管理方案子系统:①对商品房预售物业管理方案的审核、备案和查询统计管理,包括物业开发建设商、物业管理商、项目名称、项目座落、总建筑面积、预售房屋幢数、结构、层数、用途、预售房建筑面积、预算工程造价、绿地面积、机动车与非机动车停车场面积、项目质检第5页共16页第4页共16页编号:时间:2021年x月x日书山有路勤为径,学海无涯苦作舟页码:第5页共16页单位、拟入住时间、开发商为物管提供的办公用房、经营用房、其他用房建筑面积,开发商按规定提供的物业维修专项费用等。②查询统计管理:包括对子系统内要素的查询及分类统计。(7)办公文档管理子系统:①包括收文管理、发文管理、文档管理、通讯录、备忘录等管理模块。②对文稿的查询。(8)物业管理行业协会子系统:①成员信息管理:包括会员单位信息、协会任职情况信息等。②协会经费管理:包括费用收取情况、使用情况、费用统计报表等。③协会事务管理:包括协会工作计划、安排、执行情况以及课题研究、论文成果等。④协会文档管理:包括协会会议、决议、文书信息等。⑤查询统计管理。(9)数据处理子系统:①数据接收:接收来自区(市)县物管办的行业信息和物业管理企业与资质等级申报和资质等级复验有关的信息。②数据校验...

1、当您付费下载文档后,您只拥有了使用权限,并不意味着购买了版权,文档只能用于自身使用,不得用于其他商业用途(如 [转卖]进行直接盈利或[编辑后售卖]进行间接盈利)。
2、本站所有内容均由合作方或网友上传,本站不对文档的完整性、权威性及其观点立场正确性做任何保证或承诺!文档内容仅供研究参考,付费前请自行鉴别。
3、如文档内容存在违规,或者侵犯商业秘密、侵犯著作权等,请点击“违规举报”。

碎片内容

某市物业管理信息系统建立和使用

确认删除?
VIP
微信客服
  • 扫码咨询
会员Q群
  • 会员专属群点击这里加入QQ群
客服邮箱
回到顶部