电脑桌面
添加小米粒文库到电脑桌面
安装后可以在桌面快捷访问

物业保安工作流程图全集(DOC77页)VIP免费

物业保安工作流程图全集(DOC77页)_第1页
1/77
物业保安工作流程图全集(DOC77页)_第2页
2/77
物业保安工作流程图全集(DOC77页)_第3页
3/77
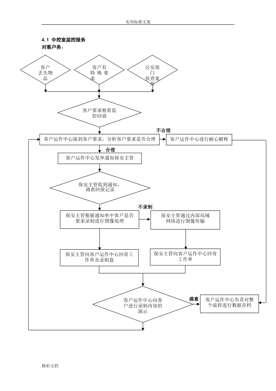
实用标准文案中交方圆物业保安工作流程图全集4.1中控室监控服务精彩文档特殊要求联系相关部门处理管业经理指示后通知总公司、公安等部门侦查案件分析情况丢失物品盲流/推销人员违法人员分析情况管业经理指示后通报110通知保安领班分析情况日常实时监控发现可疑人员发现紧急事件安排劝离察看回放无异常各类资料存档图像录制各类资料存档发通知单实用标准文案4.1中控室监控服务对客户务:精彩文档保安主管收到通知,调查回放记录客户要求察看监控回放客户丢失物品客户有特殊要求公安部门侦查案件合理客户运作中心发单通知保安主管不合理客户运作中心进行耐心解释客户运作中心接到客户要求,分析客户要求是否合理满意客户运作中心负责对整个流程进行数据存档客户运作中心向客户进行录制内容的演示保安主管向客户运作中心回寄工作单不录制保安主管向客户运作中心回寄工作单及录制盘保安主管根据通知单中客户是否要求录制进行图像处理保安主管通过内部局域网络进行图像传输实用标准文案例行工作:精彩文档保安员日常实时监控客户运作中心负责对整个流程进行数据存档监控图像无异常监控中发现可疑人员监控中发现紧急事件客户运作中心接到中控室保安员通知,具体分析情况发生火灾、炸弹等不可控制紧急事件,管业经理指示后通报消防、公安部门发生斗殴、暴力、枪杀等触犯法律事件,管业经理指示后通报公安等部门确认为推销、捡拾、废品收购等闲杂人员发生跑水等工程事故,通知相关部门进行处理发生冲突、集会等非触犯法律事件保安员跟踪并将可疑人员劝离安排保安员进行劝阻实用标准文案4.2中控室监控服务——广播系统总蓝图精彩文档播放记录存档通知客户播放时间通知保安领班播放炸弹/恐吓等紧急事件确认危害程度歌曲播放安排时间寻人寻物背景音乐播放火情自动启动播放实用标准文案4.2中控室监控服务——广播系统对客户务:精彩文档中控保安根据通知单内容进行播放客户要求广播播放相关信息寻人寻物祝福点歌客户运作中心发单通知中控保安客户运作中心接到客户要求,安排合理播放时间满意客户运作中心负责对整个流程进行数据存档客户运作中心收集客户回馈情况中控保安向客户运作中心回寄工作单客户运作中心通知客户播放时间实用标准文案紧急情况:例行工作:精彩文档中控保安进行日常背景音乐播放中控保安负责进行数据存档遇不可控制火情时,广播报警系统自动启动发生炸弹/恐吓等紧急事件危害其他住户客户运作中心接到客户报警,立即分析事态危害程度中控保安根据通知单内容进行播放客户运作中心迅速发单通知中控保安客户运作中心负责对整个流程进行数据存档中控保安向客户运作中心回寄工作单实用标准文案4.3中控室监控服务——红外线监控总蓝图精彩文档特殊要求侦查案件分析情况日常实时监控发生报警察看报警记录无异常各类资料存档盗窃/违法人员不慎误入批评教育安排赶往报警地点调查监控调查报警原因发通知单通报保安领班分析情况管业经理指示后通报110跟踪行踪实用标准文案4.3中控室监控服务——红外线监控对客户务:精彩文档保安主管收到通知,调查报警记录客户要求察看红外线报警记录客户有特殊要求公安部门侦查案件合理客户运作中心发单通知保安主管不合理客户运作中心进行耐心解释客户运作中心接到客户要求,分析客户要求是否合理满意客户运作中心负责对整个流程进行数据存档客户运作中心将报警记录交予客户保安主管向客户运作中心回寄工作单及报警记录复印件实用标准文案例行工作:精彩文档保安员日常实时监控客户运作中心负责对整个流程进行数据存档系统无异常报警发生报警客户运作中心接到通知,具体分析情况通知保安领班进行跟踪其行踪管业经理指示后通报110保安员跟踪并将可疑人员劝离运用监控调查报警原因、具体地点通报保安领班安排人员迅速赶往事故现场调查盗窃/违法人员不慎误入批评教育,带离实用标准文案4.4中控室监控服务——消防报警系统总蓝图精彩文档烟感出现报警立即通知保安领班资料存档管业经理指示后通知消防部门应急扑救根据监控进行确认赶往报警地点严重不严重温感报警、灭火、广播系统启动通知领导及部门负责人误报安排人员进行恢复紧急指挥中心实用标准文案4...

1、当您付费下载文档后,您只拥有了使用权限,并不意味着购买了版权,文档只能用于自身使用,不得用于其他商业用途(如 [转卖]进行直接盈利或[编辑后售卖]进行间接盈利)。
2、本站所有内容均由合作方或网友上传,本站不对文档的完整性、权威性及其观点立场正确性做任何保证或承诺!文档内容仅供研究参考,付费前请自行鉴别。
3、如文档内容存在违规,或者侵犯商业秘密、侵犯著作权等,请点击“违规举报”。

碎片内容

物业保安工作流程图全集(DOC77页)

您可能关注的文档

确认删除?
VIP
微信客服
  • 扫码咨询
会员Q群
  • 会员专属群点击这里加入QQ群
客服邮箱
回到顶部