电脑桌面
添加小米粒文库到电脑桌面
安装后可以在桌面快捷访问

工程部标准化作业流程VIP专享VIP免费

工程部标准化作业流程_第1页
1/50
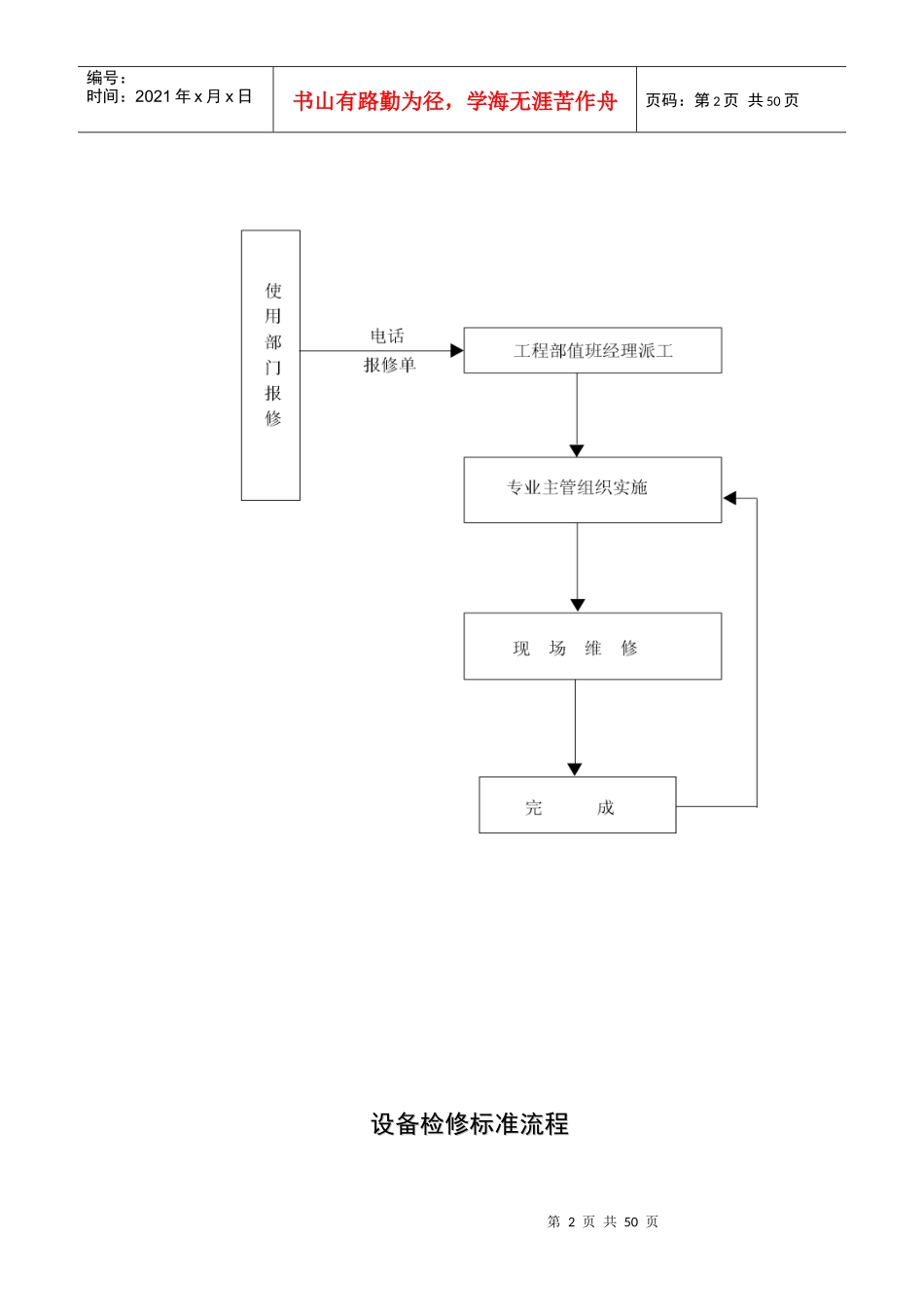
工程部标准化作业流程_第2页
2/50
工程部标准化作业流程_第3页
3/50
第1页共50页编号:时间:2021年x月x日书山有路勤为径,学海无涯苦作舟页码:第1页共50页设备日常维护保养标准流程设备日常维护保养标准流程设备报修标准流程设备报修标准流程第2页共50页第1页共50页编号:时间:2021年x月x日书山有路勤为径,学海无涯苦作舟页码:第2页共50页设备检修标准流程设备检修标准流程第3页共50页第2页共50页编号:时间:2021年x月x日书山有路勤为径,学海无涯苦作舟页码:第3页共50页设备故障设备故障//事故处理标准流程事故处理标准流程第4页共50页第3页共50页编号:时间:2021年x月x日书山有路勤为径,学海无涯苦作舟页码:第4页共50页增改项目标准流程增改项目标准流程第5页共50页第4页共50页编号:时间:2021年x月x日书山有路勤为径,学海无涯苦作舟页码:第5页共50页配电巡检标准流程配电巡检标准流程第6页共50页第5页共50页编号:时间:2021年x月x日书山有路勤为径,学海无涯苦作舟页码:第6页共50页发电机检修标准流程发电机检修标准流程第7页共50页第6页共50页编号:时间:2021年x月x日书山有路勤为径,学海无涯苦作舟页码:第7页共50页给排水巡检标准流程给排水巡检标准流程第8页共50页第7页共50页编号:时间:2021年x月x日书山有路勤为径,学海无涯苦作舟页码:第8页共50页锅炉运行检查标准流程锅炉运行检查标准流程第9页共50页第8页共50页编号:时间:2021年x月x日书山有路勤为径,学海无涯苦作舟页码:第9页共50页空调运行检查标准流程空调运行检查标准流程第10页共50页第9页共50页编号:时间:2021年x月x日书山有路勤为径,学海无涯苦作舟页码:第10页共50页电梯日常巡检标准流程电梯日常巡检标准流程第11页共50页第10页共50页编号:时间:2021年x月x日书山有路勤为径,学海无涯苦作舟页码:第11页共50页电梯事故处理标准流程电梯事故处理标准流程第12页共50页第11页共50页编号:时间:2021年x月x日书山有路勤为径,学海无涯苦作舟页码:第12页共50页程控交换机检修标准流程程控交换机检修标准流程第13页共50页第12页共50页编号:时间:2021年x月x日书山有路勤为径,学海无涯苦作舟页码:第13页共50页安全监控系统保养标准流程安全监控系统保养标准流程第14页共50页第13页共50页编号:时间:2021年x月x日书山有路勤为径,学海无涯苦作舟页码:第14页共50页设备购置标准流程设备购置标准流程第15页共50页第14页共50页编号:时间:2021年x月x日书山有路勤为径,学海无涯苦作舟页码:第15页共50页设备报废处理标准流程设备报废处理标准流程第16页共50页第15页共50页编号:时间:2021年x月x日书山有路勤为径,学海无涯苦作舟页码:第16页共50页工程部经理岗位职责标准工程部经理岗位职责标准●●有高度的责任感和事业心,对技术认真钻研、讲求质量、精益求精,坚有高度的责任感和事业心,对技术认真钻研、讲求质量、精益求精,坚决贯彻执行酒店总经理的指示,负责工程部的全面工作,直接对总经理决贯彻执行酒店总经理的指示,负责工程部的全面工作,直接对总经理第17页共50页第16页共50页编号:时间:2021年x月x日书山有路勤为径,学海无涯苦作舟页码:第17页共50页负责。负责。●●负责酒店工程维修实务和技术的组织、指导及管理工作。负责酒店设备负责酒店工程维修实务和技术的组织、指导及管理工作。负责酒店设备设施的安装验收、安全运行,维修保养房屋修缮等管理工作,使之处于设施的安装验收、安全运行,维修保养房屋修缮等管理工作,使之处于良好状态。良好状态。●●负责对工程部所有人员的全权管辖和调配。配合人事培训部门做好设备负责对工程部所有人员的全权管辖和调配。配合人事培训部门做好设备使用操作方面的技术培训工作,发挥和调动部门员工的才能和积极性,使用操作方面的技术培训工作,发挥和调动部门员工的才能和积极性,并按《员工守则》和有关制度做好考核、考勤及奖惩工作。并按《员工守则》和有关制度做好考核、考勤及奖惩工作。●●审查编制设备维修计划及设备的年、季、月度保养的周期计划,并做好审查编制设备维修计划及设备的年、季、月度保养的周期计划,并做好督促、检查、落实工作。督促、检查、落实工作。●...

1、当您付费下载文档后,您只拥有了使用权限,并不意味着购买了版权,文档只能用于自身使用,不得用于其他商业用途(如 [转卖]进行直接盈利或[编辑后售卖]进行间接盈利)。
2、本站所有内容均由合作方或网友上传,本站不对文档的完整性、权威性及其观点立场正确性做任何保证或承诺!文档内容仅供研究参考,付费前请自行鉴别。
3、如文档内容存在违规,或者侵犯商业秘密、侵犯著作权等,请点击“违规举报”。

碎片内容

工程部标准化作业流程

确认删除?
VIP
微信客服
  • 扫码咨询
会员Q群
  • 会员专属群点击这里加入QQ群
客服邮箱
回到顶部