电脑桌面
添加小米粒文库到电脑桌面
安装后可以在桌面快捷访问

塑料成型工艺教材中VIP免费

塑料成型工艺教材中_第1页
1/34
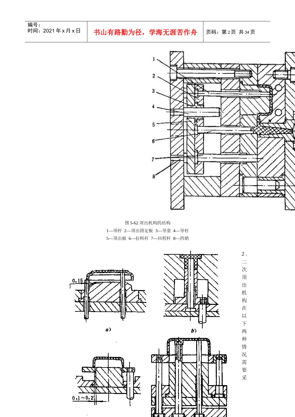
塑料成型工艺教材中_第2页
2/34
塑料成型工艺教材中_第3页
3/34
第1页共34页编号:时间:2021年x月x日书山有路勤为径,学海无涯苦作舟页码:第1页共34页第六节顶出机构的结构及脱模力的计算一、顶出机构的结构从模具中顶出塑件及其浇注系统凝料的机构称为顶出机构或脱模机构。顶出机构的结构如图5-62所示,图中的顶杆1将塑件从型腔中顶出。顶杆需要固定,因此设置顶出固定板2和顶出板5,两板由螺钉连接。注射机上的顶出力作用在顶出板上,为了使顶出过程平稳可靠,常设置导柱4和导套3。顶出板在顶出塑件后的复位依靠回程杆7实现。拉料杆6拉住浇注系统的凝料,使它随同塑件一起留在动模内。挡销8使顶出板与底板之间产生间隙,以便清除污垢,同时还可通过调节挡销的厚度来控制顶杆的位置及预出距离。设计顶出机构的原则是:使塑件在顶出过程中不会变形损坏;保证塑件在开模过程中留在设置有顶出机构的动模内;若塑件需留在定模内,则要在定模上设置顶出机构。二、顶出机构的类型顶出机构的类型取决于塑件的形状、塑料的性能及注射机的顶出结构。顶出机构常用的类型有以下几种。1.一次顶出机构一次顶出机构是最常用的顶出机构(如图5-62所示),此机构只需—次动作就能使塑件脱模。图5-63所示的为一次顶出机构的常用的几种形式,其中,a)所示的为顶杆顶出机构,顶杆顶出是应用最广、顶出位置所受的限制最少的一种顶出方式,这种机构主要用于顶出箱类异形塑件;b)所示的为顶管顶出机构,这种机构主要用于顶出中心带孔的圆形塑件或圆形凸台塑件;c)所示的为推板顶出机构,这种机构主要用于顶出支承面很小的塑件(如薄壁容器等),另外在不允许留有顶杆残痕的情况下,也常采用这种推板顶出机构;d)所示的为联合顶出机构,这种机构采用以推板为主、顶杆或顶管为辅的顶出方式,主要用于型芯内部阻力大、仅用推板或顶杆易使塑件变形或损坏的情况下。第2页共34页第1页共34页编号:时间:2021年x月x日书山有路勤为径,学海无涯苦作舟页码:第2页共34页图5-62顶出机构的结构1—顶杆2—顶出固定板3—导套4—导柱5—顶出板6—拉料杆7—回程杆8—挡销2.二次顶出机构在以下两种情况需要采第3页共34页第2页共34页编号:时间:2021年x月x日书山有路勤为径,学海无涯苦作舟页码:第3页共34页用二次顶出机构:一是某些形状的塑件,一次顶出难于将塑件从型腔中取出或不能使塑件自动脱落,因此必须再增加一次顶出才能使塑件脱落;二是采用二次顶出是为了避免一次顶出时塑件受力过大而变形或开裂。例如,对于薄壁深腔塑件,由于塑件与模具的接触面积很大,若一次顶出易使塑件破裂或变形,这时就需采用二次顶出方案。二次顶出机构较多,下面列举其中的四种。1)弹簧二次顶出机构弹簧二次顶出机构如图5-64所示。这种机构利用弹簧1的弹性恢复使塑件脱离型芯,完成第一次顶出动作(见图5-64b)),然后用顶杆2使塑件脱离型腔,完成第二次顶出动作(见图5-64c))。这种机构的优点是结构简单;缺点是弹簧易失效,要时常更换,故它仅用于小型塑件的注射模具。2)双顶出板二次顶出机构这种机构有两块顶出板,如图5-65所示。顶动型腔1用的顶杆2固定在一次顶出板7上,顶出塑件用的顶杆3固定在二次顶出板8上。在一次顶出板和二次顶出板之间有定距块5,它固定在一次项出板7上。开模时,注射机顶杆6顶动一次顶出板7,通过定距块5使二次顶出板8同时顶动塑件,这时型腔与塑件一起运动,与型芯脱离,完成第一次顶出。当一次顶出板7接触到八字形摆杆4,由于八字形摆杆与一次顶出板的接触点距支点的距离比与二次顶出板接触点距支点的距离小,因此二次顶出板移动的距离大于一次顶出板移动的距离,这样,顶杆3就能将塑件从型腔中顶出。3)拉杆式二次顶出机构拉杆式二次项出机构如图5-66所示。当模具分型一段距离后,拉杆3拉住推板4,进行第一次顶出动作。动模继续运动,固定在动模固定板上的凸块1接触到拉杆3上的长销2,使拉杆转动并脱离推板4,完成第一次顶出动作。动模再继续运动,由顶出系统完成第二次顶出动作,在此顶出过程中弹簧5起复位作用。这种机构动作可靠,但由于在定模上安装了拉杆,增大了模具的尺寸。第4页共34页第3页共34页图5-65双顶出板二次顶出机构1—型腔2—顶杆3—顶杆4—八字形摆...

1、当您付费下载文档后,您只拥有了使用权限,并不意味着购买了版权,文档只能用于自身使用,不得用于其他商业用途(如 [转卖]进行直接盈利或[编辑后售卖]进行间接盈利)。
2、本站所有内容均由合作方或网友上传,本站不对文档的完整性、权威性及其观点立场正确性做任何保证或承诺!文档内容仅供研究参考,付费前请自行鉴别。
3、如文档内容存在违规,或者侵犯商业秘密、侵犯著作权等,请点击“违规举报”。

碎片内容

塑料成型工艺教材中

您可能关注的文档

确认删除?
VIP
微信客服
  • 扫码咨询
会员Q群
  • 会员专属群点击这里加入QQ群
客服邮箱
回到顶部