电脑桌面
添加小米粒文库到电脑桌面
安装后可以在桌面快捷访问

技术研发决策流程精细化设计模板VIP专享VIP免费

技术研发决策流程精细化设计模板_第1页
1/11
技术研发决策流程精细化设计模板_第2页
2/11
技术研发决策流程精细化设计模板_第3页
3/11
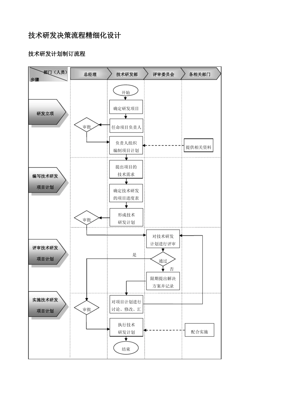
技术研发决策流程精细化设计技术研发计划制订流程部门(人员)步骤总经理技术研发部评审委员会各相关部门开始确定研发项目研发立项审批任命项目负责人负责人组织编制项目计划提供相关资料提出项目的编写技术研发项目计划技术需求确定技术研发的项目进度表形成技术审批研发计划对技术研发评审技术研发项目计划是通过否限期提出解决方案并记录实施技术研发项目计划审批计划进行评审对项目计划进行讨论、修改、汇执行技术研发计划配合实施结束技术研发实施流程精细化设计技术研发计划调整流程部门(人员)步骤总经理技术研发部经理技术研发部开始各相关部门执行技术确认新的技术研发需求收集市场信息提供相关资料研发计划按市场需求评价产品性能确认新的技术研发需求进行探索研发新的技术新技术的可行性评价对新技术进行可行性评价参与审批审核编制技术研发审批审核计划调整报告调整技术研发计划选择新的技术制定技术开发进度安排编制形成新的审批实施技术研发实施新的技术研发计划配合实施审核技术研发计划结束技术研发成果测试流程部门(人员)步骤总经理技术研发部经理技术测试人员各相关人员开始编制测试计划确定测试的需求收集测试的相关信息提供相关信息编制技术审批研发测试计划进行测试准备单元测试测试的执行集成测试系统测试验收测试技术的修改记录测试结果否通过是技术的修改编制测试报告审批审核编制测试报告交付生产结束流程配套工具精细化设计技术创新管理办法编号制度名称技术创新管理办法受控状态执行部门监督部门第1章总则第1条目的为促进公司的技术创新工作,推动科技成果的转化和产业化,进一步规范公司技术创新项目的管理,遵照国家有关技术创新工作的法律法规,结合公司的具体情况,特制定本办法。第2条术语定义本办法所称的技术创新是指采用新技术、新工艺、新材料、新结构、新配方,对设备、工艺过程、操作技术、工、夹、量具、试验方法等方面进行的改进或建议。第3条管理职责1.总经理负责监督技术创新相关的管理工作,监督技术创新的实施情况。2.技术研发部经理负责汇编技术创新计划,掌握并督促其实施情况,组织研发成果的鉴定工作,在适当的时候提请专家进行评定,总结并上报重大技术成果。3。技术研发部专家委员会负责审核技术研发项目,及研发成果的验收与鉴定。4.项目组组长负责组织技术创新项目组的研发工作。第2章技术创新规划和计划第4条制订技术创新规划和年度计划1.技术研发部经理需要根据公司的发展规划和年度计划制订技术创新规划和年度计划,经技术研发部专家委员会论证通过并报总经理批准后施行。2。技术创新规划和计划的制订要以公司的总体规划为依据,并进行备案.第5条技术创新计划项目及年度计划的内容1。技术创新计划项目包括新技术(包括新产品、新工艺)的研究开发、中试及产业化项目,重大技术革新、技术改造项目,技术引进基础上的自主创新项目,科技示范推广项目等.2。年度计划的内容包括项目的名称、目的要求、分阶段进度与工作指标、起止时间、完成项目所需的资金、人员、保证条件、试验设备等。第6条技术创新年度计划应于每年3月底前发布。第7条计划变更或终止编修部门列入研发计划的项目要严格按计划执行,不得随意变更和终止,确需变更和终止,需按计划管理的权限提出书面报告,报技术研发部经理批准变更和终止,重大项目由技术研发部经理报总经理批准变更和终止.第8条技术创新项目的补充年中如有重大技术创新项目,可按滚动计划的形式随时申报,经批准后补入年度实施计划.第3章技术创新项目的立项第9条技术创新计划项目的来源主要有两种方式,即项目申报和项目招标。1.项目申报由研发人员提出立项申请,并填写《公司技术创新项目申报书》,报技术研发部经理审核、经总经理审批。2.项目招标分别由公司技术研发部根据公司的技术创新规划确定招标项目,发布招标项目目录,项目组针对招标项目进行投标。第10条技术研发部经理对申报项目和招标项目进行预审,预审合格项目提请技术研发部专家委员会论证,论证通过后报总经理审批,并列入公司技术创新年度计划。第11条项目选择要坚持以市场为导向,以效益为中心的原则,在市场分析、技术分析...

1、当您付费下载文档后,您只拥有了使用权限,并不意味着购买了版权,文档只能用于自身使用,不得用于其他商业用途(如 [转卖]进行直接盈利或[编辑后售卖]进行间接盈利)。
2、本站所有内容均由合作方或网友上传,本站不对文档的完整性、权威性及其观点立场正确性做任何保证或承诺!文档内容仅供研究参考,付费前请自行鉴别。
3、如文档内容存在违规,或者侵犯商业秘密、侵犯著作权等,请点击“违规举报”。

碎片内容

技术研发决策流程精细化设计模板

确认删除?
VIP
微信客服
  • 扫码咨询
会员Q群
  • 会员专属群点击这里加入QQ群
客服邮箱
回到顶部