电脑桌面
添加小米粒文库到电脑桌面
安装后可以在桌面快捷访问

第三章日常安全操作流程和表格VIP免费

第三章日常安全操作流程和表格_第1页
1/28
第三章日常安全操作流程和表格_第2页
2/28
第三章日常安全操作流程和表格_第3页
3/28
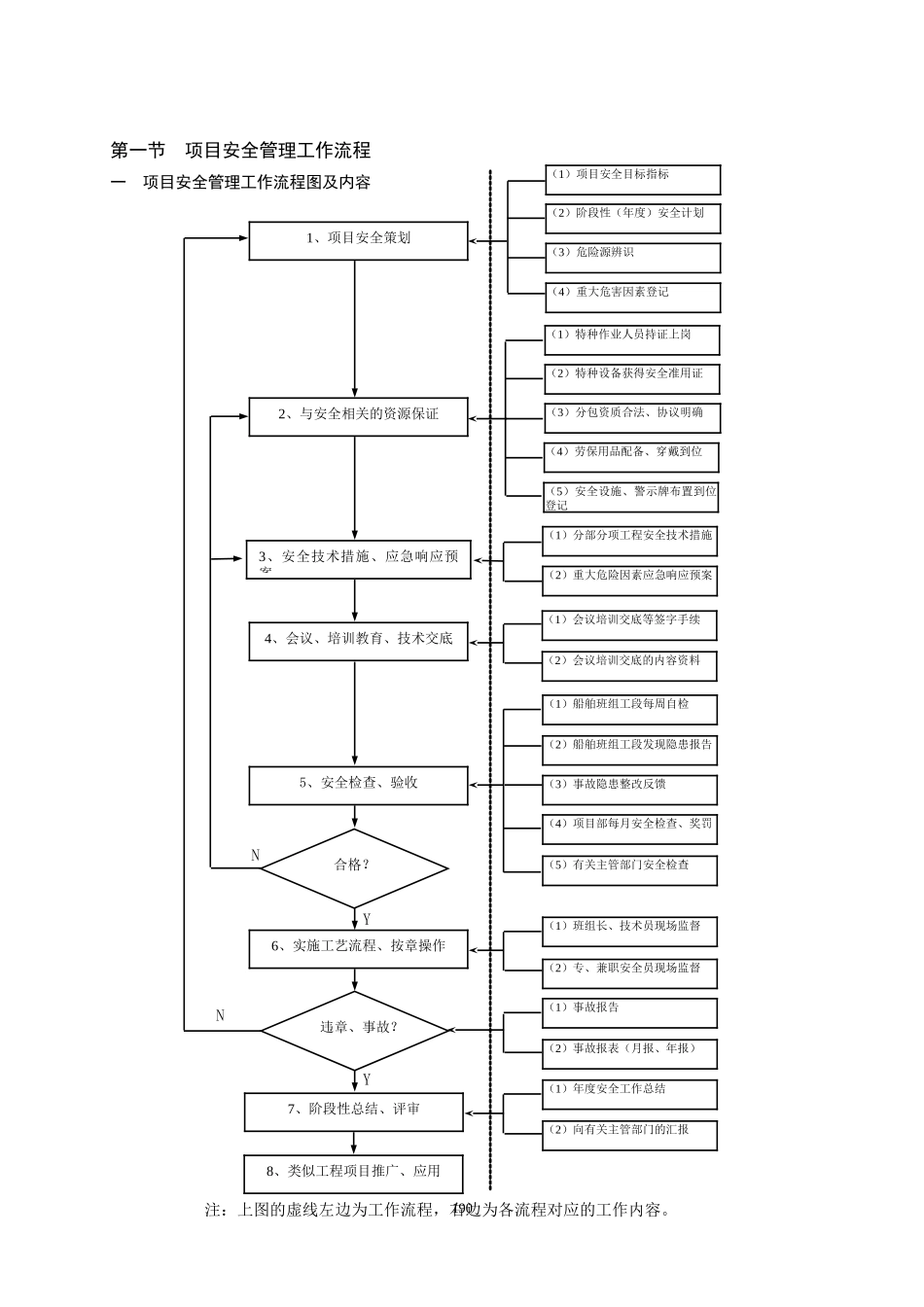
189第三章项目部日常安全管理工作流程及过程控制用表第一节项目安全管理工作流程一项目安全管理工作流程图及内容NYNY1901、项目安全策划(1)项目安全目标指标2、与安全相关的资源保证4、会议、培训教育、技术交底3、安全技术措施、应急响应预案5、安全检查、验收6、实施工艺流程、按章操作(2)阶段性(年度)安全计划(3)危险源辨识7、阶段性总结、评审违章、事故?合格?(4)重大危害因素登记(1)特种作业人员持证上岗(4)劳保用品配备、穿戴到位(3)分包资质合法、协议明确(5)安全设施、警示牌布置到位登记(2)特种设备获得安全准用证(1)分部分项工程安全技术措施(2)重大危险因素应急响应预案(1)会议培训交底等签字手续(2)会议培训交底的内容资料(1)船舶班组工段每周自检(2)船舶班组工段发现隐患报告(3)事故隐患整改反馈(4)项目部每月安全检查、奖罚(1)班组长、技术员现场监督(2)专、兼职安全员现场监督(5)有关主管部门安全检查(2)向有关主管部门的汇报(1)年度安全工作总结8、类似工程项目推广、应用(2)事故报表(月报、年报)(1)事故报告注:上图的虚线左边为工作流程,右边为各流程对应的工作内容。二各步流程工作内容1、项目部各步流程工作内容必须记录的内业资料的种类,详见“第一章第二十一节二航局安全生产内业资料管理办法”中“三项目部安监部门收集归档的内业资料”(共10卷)。2、项目部各步流程工作内容对应的工作标准,详见“第一章安全管理规章制度”。3、项目部各步流程工作内容的重要过程记录(本章规定的21套表格下一个层次的表格),请使用本章第二节规定的表格。第二节项目安全管理过程控制用表一项目安全目标指标、安全生产领导小组成立的文件、阶段性安全工作计划、分部分项工程的安全技术措施、应急安全预案、阶段性安全工作总结以及向有关主管部门的汇报材料等文件,由项目部自行选择文件格式,局不作统一规定,但必须有翔实的记录。二安全管理过程控制,局里结合国家、建设部、交通部、中港以及各地的相关规定,统一编制了21套表格,要求各项目认真执行。三项目安全管理过程控制用表见下页。191格式:EHJ/QB/5.2-01-01危害识别和风险评价—览表单位:部门:年月日序号作业活动单元(分类)活动的内容危害因素时态/状态危险、危害因素评价危害级别现行法律法规控制方法时态状态直接判断D=LEC是非LECD192编制:审核:格式:EHJ/QB/5.2-01-02重大危害因素清单单位:部门:年月日序号作业活动场所危害因素危害级别控制措施备注编制:审核:审批:193安全生产管理体系人员登记表表号:中港安控02表项目部名称:填表日期:年月日序号姓名性别年龄文化程度职务职称何时从事安全管理工作证书类别项目安全主管领导:安监科(部):填表人:194特种作业人员登记表项目部名称:序号姓名性别文化程度身份证号码工种证书类别证书编号换发日期发证机关备注195注:一、按特种作业人员分类填写:1.电工作业;2.金属焊接(气割)作业;3.起重机作业;4.机动车辆驾驶;5.锅炉司炉;6.压力容器操作;7.爆破作业;8.建筑登高架设作业;9.机动船舶驾驶、轮机操作等。二、特种作业人员相关证件复印件附在表后。项目安全主管领导:安监科(部):填表人:有毒有害作业人员登记表表号:中港安监控13表项目部名称:填表日期:年月日序号姓名性别文化程度工种身份证号码从事本岗位工作起始日期接触何种有毒有害物质196项目安全主管领导:安监科(部):填表人:特种设备登记表项目部名称:序号设备名称设备编号设备型号主要技术性能设备安全准用证操作人员备注编号发放单位年检有效期姓名操作证有效期197注:特种设备相关证件复印件附在表后。项目安全主管领导:安监科(部):填表人:分包单位安全管理登记表项目部名称:序号分包单位分包作业内容分包单位负责人合同期限安全教育日期备注198注:表后附上分包单位的相关资质证书、安全管理协议书、分包单位的特种设备和特种作业人员的证书。项目安全主管领导:安监科(部):填表人:项目安全会议、活动、培训、教育、技术交底登记汇总表项目部名称:序号内容(安全会议、活动...

1、当您付费下载文档后,您只拥有了使用权限,并不意味着购买了版权,文档只能用于自身使用,不得用于其他商业用途(如 [转卖]进行直接盈利或[编辑后售卖]进行间接盈利)。
2、本站所有内容均由合作方或网友上传,本站不对文档的完整性、权威性及其观点立场正确性做任何保证或承诺!文档内容仅供研究参考,付费前请自行鉴别。
3、如文档内容存在违规,或者侵犯商业秘密、侵犯著作权等,请点击“违规举报”。

碎片内容

第三章日常安全操作流程和表格

确认删除?
VIP
微信客服
  • 扫码咨询
会员Q群
  • 会员专属群点击这里加入QQ群
客服邮箱
回到顶部