电脑桌面
添加小米粒文库到电脑桌面
安装后可以在桌面快捷访问

行政职权运行流程图VIP免费

行政职权运行流程图_第1页
1/14
行政职权运行流程图_第2页
2/14
行政职权运行流程图_第3页
3/14
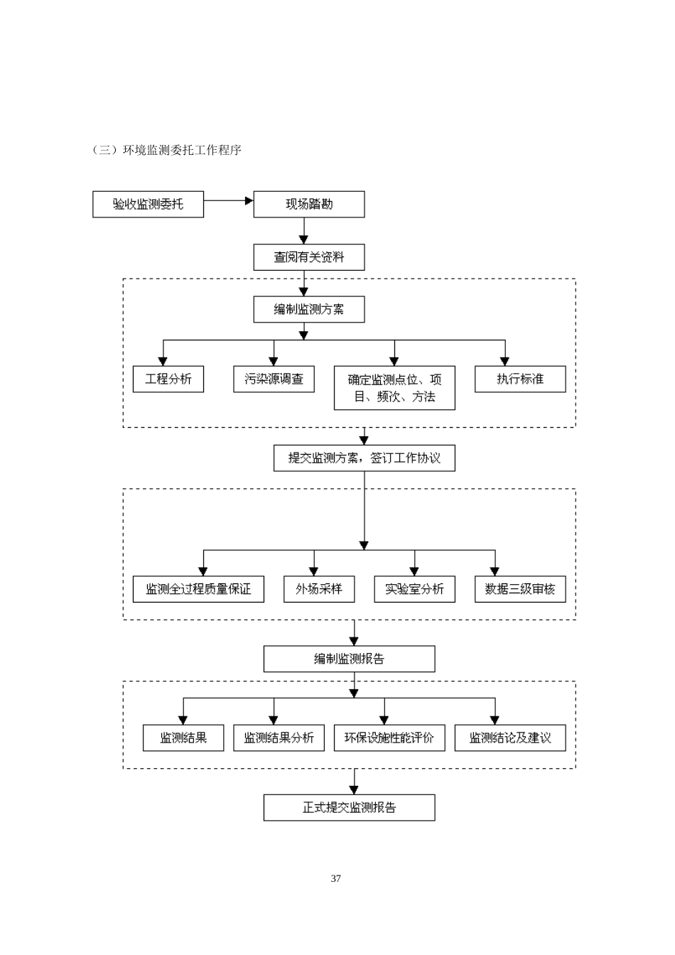
五、行政职权运行流程图(一)行政处罚程序35(二)行政复议工作程序36(三)环境监测委托工作程序37(四)排污收费工作程序排污单位向监察支队申报排污量环保部门核实申报的排污量按照有关收费标准计算收费额下达征收排污费通知书收缴排污费解缴入财政金库38(五)建设项目环境影响评价审批流程图39申请(报审批项目的基本情况)审查是否符合国家产业政策符合不符合现场勘察厂址禁建通知申请人建设单位委托由资质的评价单位填写环境影响登记、报告书(表)批准环境影响登记将审批意见通知申请人按分级权限报环保部门审批40建设单位申请资料审查组织现场验收(六)建设项目环境保护设施验收流程图出具验收意见42(七)排污许可证办理流程图申请人申请环保局有关部门受理(当日)审查决定许可或不许可许可的发放排污许可证不许可的不发放排污许可证准予许可的,向社会公开申请材料不全,一次性告知补交不属于许可范围的(八)闲置或拆除污染防治设施审批流程图申请人到环保部门领取《闲置或拆除污染防治设施申请表》。环保部门开具告知书。申请人向环保部门提交《闲置或拆除污染防治设施申请表》及相关材料材料不全的,补齐材料材料齐全、符合要求,环保部门受理环保部门审查材料,进行实地核查,做出审批决定环保部门将审批决定书面送达申请人环保部门将审批决定备案并公布(九)危险废物经营许可流程图申请人申请环保局有关部门受理审查决定许可或不许可申请材料不全,一次性告知补交不属于许可范围的当场作出许可决定视情况组织监测、现场核实和专家评审申请人45第46页共14页编号:时间:2021年x月x日书山有路勤为径,学海无涯苦作舟页码:第46页共14页(十)危险废物转移审批流程图不属于许可范畴或不属于本机关职权范围的,不予受理,出具不予受理通知书审批科分管局长、局长批准行政许可事项若直接关系他人重大利益的,应告知申请人和利害关系人陈述、申辩权许可申请人申请作出准予许可或不予许可的决定意见不予许可的,作出书面决定,说明理由,并告知申请人复议、诉讼权材料不齐全或者不符合法定形式的,退回申请人补正,并一次性告知申请材料齐全、符合法定形式准予许可的报上级环保部门审批符合法定听证条件的,应当组织听证第47页共14页第46页共14页编号:时间:2021年x月x日书山有路勤为径,学海无涯苦作舟页码:第47页共14页(十一)限制进口的可用作原料的废物进口初审流程图(十二)放射源安全许可证流程图不属于许可范畴或不属于本机关职权范围的,不予受理,出具不予受理通知书受理审批科分管局长、局长批准行政许可事项若直接关系他人重大利益的,应告知申请人和利害关系人陈述、申辩权许可申请人申请作出准予许可或不予许可的预审意见不予许可的,作出书面决定,说明理由,并告知申请人复议、诉讼权材料不齐全或者不符合法定形式的,退回申请人补正,并一次性告知申请材料齐全、符合法定形式准予许可的报上级环保部门审批决定符合法定听证条件的,应当组织听证第47页共14页第48页共14页编号:时间:2021年x月x日书山有路勤为径,学海无涯苦作舟页码:第48页共14页不属于许可范畴或不属于本机关职权范围的,不予受理,出具不予受理通知书受理审核(查)分管局长、局长批准行政许可事项若直接关系他人重大利益的,应告知申请人和利害关系人陈述、申辩权申请人申请作出准予许可或不予许可的预审意见不予许可的,作出书面决定,说明理由,并告知申请人复议、诉讼权材料不齐全或者不符合法定形式的,退回申请人补正,并一次性告知申请材料齐全、符合法定形式准予许可的报上级环保部门审批决定符合法定听证条件的,应当组织听证

1、当您付费下载文档后,您只拥有了使用权限,并不意味着购买了版权,文档只能用于自身使用,不得用于其他商业用途(如 [转卖]进行直接盈利或[编辑后售卖]进行间接盈利)。
2、本站所有内容均由合作方或网友上传,本站不对文档的完整性、权威性及其观点立场正确性做任何保证或承诺!文档内容仅供研究参考,付费前请自行鉴别。
3、如文档内容存在违规,或者侵犯商业秘密、侵犯著作权等,请点击“违规举报”。

碎片内容

行政职权运行流程图

您可能关注的文档

确认删除?
VIP
微信客服
  • 扫码咨询
会员Q群
  • 会员专属群点击这里加入QQ群
客服邮箱
回到顶部