电脑桌面
添加小米粒文库到电脑桌面
安装后可以在桌面快捷访问

水岸豪庭A组团工程建筑电气监理实施细则VIP免费

水岸豪庭A组团工程建筑电气监理实施细则_第1页
1/12
水岸豪庭A组团工程建筑电气监理实施细则_第2页
2/12
水岸豪庭A组团工程建筑电气监理实施细则_第3页
3/12
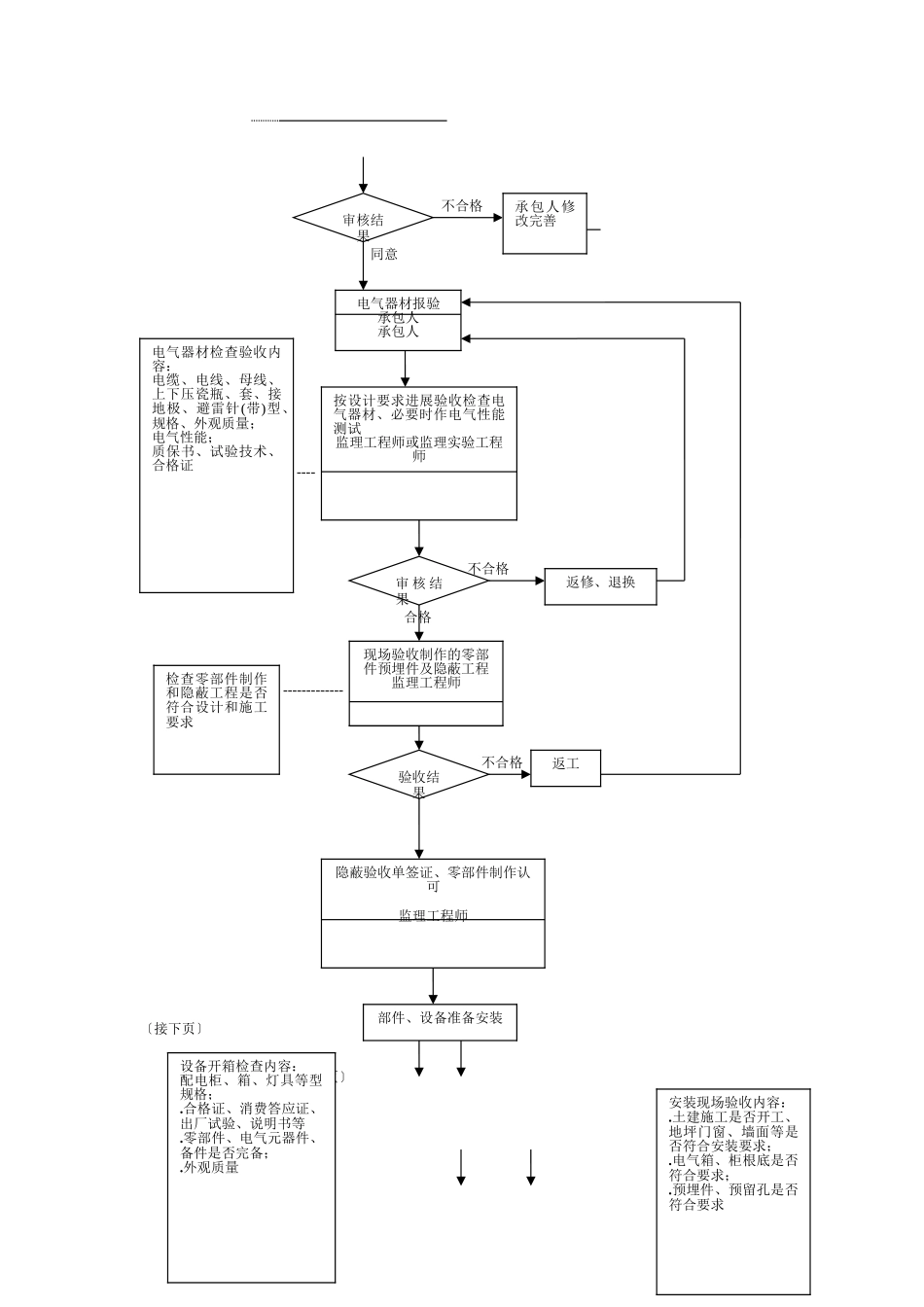
水岸豪庭A组团工程〔3#-9#、13#、15#、17#楼〕监理施行细那么监理施行细那么〔建筑电气〕内容提要:建筑电气工程特点建筑电气监理流程建筑电气工程的控制要点和目的值监理工作的及措施工程监理机构〔章〕:专业监理工程师:总监理工程师:日:2021.10江苏建立监制建筑电气施工监理施行细那么为了确保电气工程施工质量特制定本监理细那么请建立施工亲配合、支持。对文中未涉及的内容及与、、规程不符之处以、、规程为准。第一章建筑电气工程的特点一.大电流、高电压平安、可靠尤为重要与弱电工程相比电气〔强电〕工程传送大电流〔以安、仟安为计量〕高电压〔以伏、仟伏为计量〕要求多级开关、保护设备线路器材、用电设备〔电动机等〕必须设计合理、质量过关、运行可靠、杜绝人身、设备事故。触电、火灾、雷击是电气工程中的质量事故因此电气施工监理中应作为重点之重首要之首来抓一切与之有关的隐患决不能放过。二.电气工程设备、材料门类繁杂新伪劣假冒多目前电气工程设备材料很繁杂品牌、厂家、规格、性能相差甚远;特别是近年来世界各地名牌纷纷打入国内常见的品牌有施耐得、西门子、ABB、海格等。以法国施耐得低压电器为例进入我国已达10年以上〔最早以法国梅兰日兰小开关打入天津〕目前已占领我国低压电器25%的份额。由于其质量好信誉高销售容易随之而来的假冒伪劣因运而生因此识别假货把好电气质量关是监理工程师的一项重要任务。另外随着电气的更新换代防火要求的不断进步新、新材料不断出现。如近年来上海电缆研究所研制的矿物绝缘电缆〔防火电缆〕已在全国推广。同时质量良莠不齐我们监理过程中曾发现某些耐压达不到要求铜线直径粗细不均等缺点。因此加强对新、新材料质量的识别监控手段也是电气工程的一项迫切任务。三.与各工种配合亲协调一致尤为重要电气工程渗入建筑物的各个角落无是工业与民用建筑还是工业厂房或公共设施建筑都离不开电。水、暖、弱电各工种的电源及装璜照明整体美观都与电气工程不可分因为搞好电气工程与其它工种的亲配合非常重要。主体施工时应做好预留、预埋着重搞好与土建的配合;内外装修时应做好明配与灯具、开关、插座的安装工作着重做好与装修工程的配合工作;设备调试时应做好送配电及水暖设备的调试配合工作。第二章电气工程的监理流程一.电气工程的监理流程简要表述如下:二.电气安装工程监理工作流程方框图如下:〔续上页〕图纸会审审查开工电气器材验收隐蔽验收设备现场验收设备根底交接验收设备安装验收单机调试验收联动调试验收参加图纸会审核查电气图纸及与土建、水暖图纸有无矛盾监理工程师填写开工申请承包人承包人按开工要求填写各栏目并附上:.电气施工组织设计方案;.电气上岗人员及证件;.施工、检测仪表、设备、工具、数量品种;.资质证件审核内容:.承包人、分包人的电气安装资质证件;.电气安装人员的上岗证件.施工组织设计方案等审核开工申请总监理工程师不合格同意----不合格合格-------------不合格〔接下页〕〔接上页〕审核结果承包人修改完善电气器材检查验收内容:电缆、电线、母线、上下压瓷瓶、套、接地极、避雷针(带)型、规格、外观质量;电气性能;质保书、试验技术、合格证电气器材报验承包人承包人按设计要求进展验收检查电气器材、必要时作电气性能测试监理工程师或监理实验工程师审核结果返修、退换检查零部件制作和隐蔽工程是否符合设计和施工要求现场验收制作的零部件预埋件及隐蔽工程监理工程师验收结果返工设备开箱检查内容:配电柜、箱、灯具等型规格;.合格证、消费答应证、出厂试验、说明书等.零部件、电气元器件、备件是否完备;.外观质量隐蔽验收单签证、零部件制作认可监理工程师部件、设备准备安装安装现场验收内容:.土建施工是否开工、地坪门窗、墙面等是否符合安装要求;.电气箱、柜根底是否符合要求;.预埋件、预留孔是否符合要求-----------------不合格不合格合格不合格不合格合格〔接下页〕不合格检查安装质量是否符合设计和施工要求设备安装质量中间验收签证监理工程师按规定进展复测〔或现场监测〕抽测或审查试验监理工程师设备开箱验收业主、承包人监理工程师安装现场验收〔土...

1、当您付费下载文档后,您只拥有了使用权限,并不意味着购买了版权,文档只能用于自身使用,不得用于其他商业用途(如 [转卖]进行直接盈利或[编辑后售卖]进行间接盈利)。
2、本站所有内容均由合作方或网友上传,本站不对文档的完整性、权威性及其观点立场正确性做任何保证或承诺!文档内容仅供研究参考,付费前请自行鉴别。
3、如文档内容存在违规,或者侵犯商业秘密、侵犯著作权等,请点击“违规举报”。

碎片内容

水岸豪庭A组团工程建筑电气监理实施细则

您可能关注的文档

确认删除?
VIP
微信客服
  • 扫码咨询
会员Q群
  • 会员专属群点击这里加入QQ群
客服邮箱
回到顶部