电脑桌面
添加小米粒文库到电脑桌面
安装后可以在桌面快捷访问

基于DS18B20的温度控制系统VIP免费

基于DS18B20的温度控制系统_第1页
1/7
基于DS18B20的温度控制系统_第2页
2/7
基于DS18B20的温度控制系统_第3页
3/7
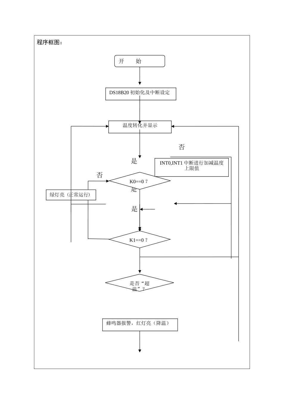
课程设计报告安徽文达信息工程学院电子工程学院成绩:分为优、良、中、及格、不及格五等学号1340201***姓名李**班级13级电子信息工程1班成绩专业电子信息工程课程单片机原理与应用指导老师***题目基于DS18B20的温度控制系统任务1)实现温度检测,并以3位LED数码管显示测量温度值,2位显示温度符号,温度检测精确到0.1度。2)当温度低于30℃,单片机控制加热电路工作,当温度高于40℃,停止加热。制冷采用自然冷却方式。3)能通过按键调节温度范围。4扩展功能:精确到0.01度。有声音报警功能。方案论证:1)DS18B20温度传感器是一线总线器件,一线总线标准的接线方式经济灵活,非常容易组成传感器控制网络。DS18B20的温度测量范围为-55~+125℃,在-10~+85℃范围内,精度为0.5℃。采用“一线总线”方式传输,可以大大提高系统的抗干扰能力,所以本次课程设计以DS18B20作为温度采集传感器,经单片机处理显示并具有高温报警功能。2)用四个按钮开关进行温度范围调节,K0进行调节功能选择,K1调节值的确定,K2外部中断0方式温度值增加,K3外部中断2方式温度值减少。3)扩展功能:精确地0.01度。实现方法:在“读温度”函数所得实际温度扩大100倍,进行温度转化显示就可得到预期效果。成绩:分为优、良、中、及格、不及格五等完成任务的思路:1)DS18B20温度采集;2)单片机处理并数码管显示温度值;3)程序设定高温报警功能;4)采用中断设定高温值的加减运算,即通过按键调节温度范围;5)综合调试运行程序。电路原理图:程序框图:否是否是否是DS18B20初始化及中断设定INT0,INT1中断进行加减温度上限值温度转化并显示蜂鸣器报警,红灯亮(降温)是否“超温”?K1==0?K0==0?开始绿灯亮(正常运行)#include#include#defineucharunsignedchar#defineuintunsignedintsbitK0=P3^0;//显示温度报警值sbitK1=P3^1;//温度值设定确定sbitK2=P3^2;//温度加sbitK3=P3^3;//温度减sbitDQ=P3^4;sbitLED1=P3^5;//红灯,报警状态sbitLED2=P3^6;//绿灯,正常状态sbitBEEP=P3^7;uinttemp=300,i;uintsum=300;bitflag_bj=0;ucharcodeSegCode[]={0x3F,0x06,0x5B,0x4F,0x66,0x6D,0x7D,0x07,0x7F,0x6F,0x73,0x80,0x00,0x63,0x39};//共阴极ucharcode={0x01,0x02,0x04,0x08,0x10};//位码ucharDisbuf[]={12,12,12,12,12};typedefunion{uintT;uchartt[2];}mty;mtyTbuff;voidd622us(void){uinti=40;while(i--);}voidBeep(void)//报警程序{uintj;for(j=200;j>0;j--){BEEP=~BEEP;d622us();}voidDS18B20_Init(void)//DS18B20初始化{ucharx=0;DQ=1;Delay10us(9);DQ=0;for(j=300;j>0;j--){BEEP=1;d622us();}}voidDelayMs(uintn)//延时程序{ucharj;while(n--){for(j=0;j<113;j++);}}voidDelay7us(void)//7us延时程序{_nop_();_nop_();_nop_();}voidDelay10us(ucharn)//延时10us{do{Delay7us();}while(n--);}voidSeg7_Disp()//数码管显示{uchari;for(i=0;i<6;i++){P0=Disbuf[i];P2=BitCode[i];//p2位码DelayMs(1);}P2=0;}uintDS18B20_R_T(void)//读温度{uchara=0;uintt=0;floattt=0;DS18B20_Init();DS18B20_WByte(0xCC);DS18B20_WByte(0x44);Delay10us(80);DQ=1;Delay10us(37);}ucharDS18B20_RByte(void)//读DS18B20的一个字节{uchari=0;uchardat=0;for(i=8;i>0;i--){DQ=0;dat>>=1;DQ=1;if(DQ)dat|=0x80;Delay10us(5);//约54us}return(dat);}voidDS18B20_WByte(uchardat)//写DS18B20的一个字节{uchari=0;for(i=8;i>0;i--){DQ=0;DQ=dat&0x01;Delay10us(5);//约54usDQ=1;dat>>=1;}}voidAnjian0(void)//显示报警最高的值{if(K0==0){DelayMs(10);if(K0==0){flag_bj=1;}}}voiddisp1()//温度设定的值显示转化{DS18B20_Init();DS18B20_WByte(0xCC);DS18B20_WByte(0xBE);a=DS18B20_RByte();t=DS18B20_RByte();t<<=8;t=t|a;tt=t*0.0625;t=tt*10+0.5;return(t);}voidT_to_Buff()//温度显示{ucharshi,ge,xshu;shi=Tbuff.T/100;ge=Tbuff.T/10-shi*10;xshu=Tbuff.T-shi*100-ge*10;//Disbuf[5]=SegCode[12];Disbuf[4]=SegCode[shi];Disbuf[3]=SegCode[ge]|0x80;Disbuf[2]=SegCode[xshu];Disbuf[1]=SegCode[13];Disbu...

1、当您付费下载文档后,您只拥有了使用权限,并不意味着购买了版权,文档只能用于自身使用,不得用于其他商业用途(如 [转卖]进行直接盈利或[编辑后售卖]进行间接盈利)。
2、本站所有内容均由合作方或网友上传,本站不对文档的完整性、权威性及其观点立场正确性做任何保证或承诺!文档内容仅供研究参考,付费前请自行鉴别。
3、如文档内容存在违规,或者侵犯商业秘密、侵犯著作权等,请点击“违规举报”。

碎片内容

基于DS18B20的温度控制系统

您可能关注的文档

文章天下+ 关注
实名认证
内容提供者

各种文档应有尽有

确认删除?
VIP
微信客服
  • 扫码咨询
会员Q群
  • 会员专属群点击这里加入QQ群
客服邮箱
回到顶部