电脑桌面
添加小米粒文库到电脑桌面
安装后可以在桌面快捷访问

模拟病房呼叫系统VIP免费

模拟病房呼叫系统_第1页
1/11
模拟病房呼叫系统_第2页
2/11
模拟病房呼叫系统_第3页
3/11
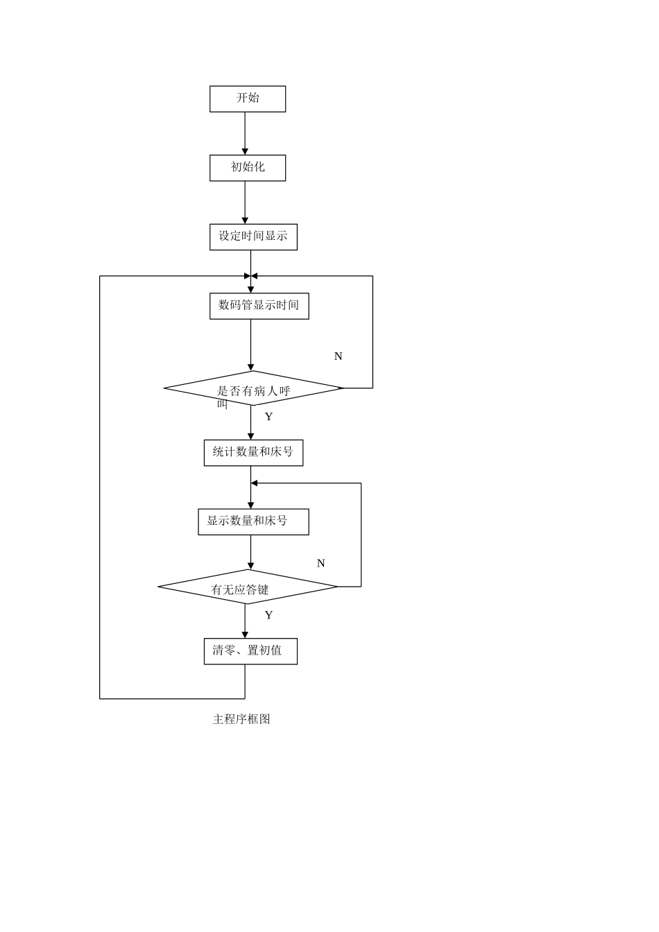
一、设计目的通过设计模拟病床呼叫的程序,更加熟练掌握单片机指令的使用,培养用单片机来实现一些电子设备运行的逻辑思路,为以后更好的使用单片机打下基础。二、设计要求用单片机模拟一个护理站下管4个床位,哪个病人要呼叫可以按键,相应蜂鸣器响,数码管显示:呼叫数量_床位号。要求:⒈6个数码管,正常情况下显示时间(时分秒),时间可以通过按键调整。⒉有人呼叫则闪烁显示数量_床位号并蜂鸣器响,应答键后继续显示时间。三、硬件电路设计所用器件如下表:名称数量40Pzip座1串口接口1MAX232芯片1USB接口1晶振电容22p2复位按钮2晶振座3孔复位跳线插针3针4.7k排阻1LED白发红8LED电源跳线2针10k复位电阻1单独按键8双排针2×18针MAX232外围电容4复位电容1电源指示灯电阻1k1LED限流电阻8电源指示灯1数码管锁存器74HC5732数码管2蜂鸣器1PNP三极管1电阻1k1089C52RC芯片1硬件连接电路图如下图所示:四、使用说明接上USB接口后,按下电源按键,数码管就开始计时,显示时间,从左到右依次显示时、分、秒;当需要调整时间时,按下键时分秒调整键可以进行对时、分、秒的设定;当有病人呼叫时,数码管就会显示数量和床号,并伴有蜂鸣器响,直到按下应答键后,数码管又重新显示时间,蜂鸣器停止响声。五、流程图设计开始初始化设定时间显示数码管显示时间统计数量和床号显示数量和床号清零、置初值是否有病人呼叫有无应答键YNYN主程序框图六、程序设计如下LEDBufEQU60H;显示缓冲LEDBuf1EQU80HHourEQU40HMinuteEQU41HSecondEQU42HC100usEQU43HchuanggaoEQU70hchuangdiEQU71HshuliangEQU72HTickEQU10000T100usEQU256-100中断服务子程序分调整键按下外部中断T0启动对分钟进行调整返回小时调整键按下外部中断T1启动对时钟进行调整返回ORG0000HLJMPMAINORG0003HLJMPMTORG000BHLJMPTOINTORG0013HLJMPHTORG001BHLJMPT1INTMAIN:MOVTMOD,#22h;模式2,定时器0.1毫秒中断一次MOVTH0,#T100usMOVTL0,#T100usMOVTL1,#6HMOVTH1,#6HMOVIE,#10001010b;EA=1,IT0=1MOVHour,#0MOVvMinute,#0MOVSecond,#0MOVC100us,#high(Tick)MOVC100us+1,#low(Tick)SETBIT0SETBIT1SETBEX0SETBEX1SETBIE0SETBIE1MOVMinute,#0MOVHour,#0SETBTR0MOVp0,#0hSETBp0.7LJMPMLoopMT:MOVSecond,#;分调整INCMinuteMOVA,MinuteCJNEA,#60,LOP1MOVMinute,#0LOP1:RETIHT:MOVSecond,#0;时调整INCHourMOVA,HourCJNEA,#24,lop2MOVHour,#0lop2:RETIMLoop:MOVA,HourMOVB,#10DIVABCALLToLEDMOVLEDBuf+5,AMOVA,BCALLToLEDMOVLEDBuf+4,AMOVA,MinuteMOVB,#10DIVABCALLToLEDMOVLEDBuf+3,AMOVA,BCALLToLEDORLa,#01hMOVLEDBuf+2,AMOVA,SecondMOVB,#10DIVABCALLToLEDMOVLEDBuf+1,AMOVA,BCALLToLEDMOVLEDBuf,ACALLDisplayLEDMOVR1,#73hMOVR3,#0JBP0.0,tiao1k1:JBP0.1,tiao2k3:JBP0.2,tiao3k4:JBP0.3,tiao4k5:JBP0.4,tiao5k6:JBP0.5,tiao6k7:JBP0.6,tiao7k2:JBP0,xianLJMPMLooptiao1:SETBTR1SETBF0INCR3MOV30H,R3MOV@R1,#1INCR1SJMPk1tiao2:SETBTR1SETBF0INCR3MOV30H,R3MOV@R1,#2INCR1SJMPk3tiao3:SETBTR1SETBF0INCR3MOV30H,R3MOV@R1,#3INCR1SJMPk4tiao4:SETBTR1SETBF0INCR3MOV30h,R3MOV@R1,#4INCR1SJMPk5tiao5:SETBTR1SETBF0INCR3MOV30h,R3MOV@R1,#5INCR1SJMPk6tiao6:SETBTR1SETBF0INCR3MOV30H,R3MOV@R1,#6INCR1SJMPk7tiao7:SETBTR1SETBF0INCR3MOV30H,R3MOV@R1,#7INCR1SJMPk2xian:CLRF0MOVA,chuanggaoMOVB,#10DIVABCALLToLEDMOVLEDBuf+5,AMOVA,BCALLToLEDMOVLEDBuf+4,AMOVA,chuangdiMOVB,#10DIVABCALLToLEDMOVLEDBuf+3,AMOVA,BCALLToLEDORLA,#80HMOVLEDBuf+2,AMOVA,shuliangMOVB,#10DIVABCALLToLEDMOVLEDBuf+1,AMOVA,BCALLToLEDMOVLEDBuf,ACALLDisplayLEDJNBP3.0,lp1CJNER3,#0,xianLJMPxunlp1:CLRTR1;关振铃器返回显示时间LJMPmloopxun:MOVR3,30H;重新置初值MOVA,R1ADDA,30HMOVR1,ALJMPxianT1INT:CPLP0.7;定时器1中断程序RETITOINT:PUSHPSWPUSHACCMOVA,C100us+1JNZGoonDECC100usGoon:DECC100us+1MOVA,C100usORLA,C100us+1JNZExitMOVC100us,#high(Tick)MOVC100us+1,#low(Tick)DECR1DECR3MOVchuanggao,#0MOVchuangdi,@R1MOVshuliang,30HINCSecondMOVA,SecondC...

1、当您付费下载文档后,您只拥有了使用权限,并不意味着购买了版权,文档只能用于自身使用,不得用于其他商业用途(如 [转卖]进行直接盈利或[编辑后售卖]进行间接盈利)。
2、本站所有内容均由合作方或网友上传,本站不对文档的完整性、权威性及其观点立场正确性做任何保证或承诺!文档内容仅供研究参考,付费前请自行鉴别。
3、如文档内容存在违规,或者侵犯商业秘密、侵犯著作权等,请点击“违规举报”。

碎片内容

模拟病房呼叫系统

确认删除?
VIP
微信客服
  • 扫码咨询
会员Q群
  • 会员专属群点击这里加入QQ群
客服邮箱
回到顶部