电脑桌面
添加小米粒文库到电脑桌面
安装后可以在桌面快捷访问

二次装修审批流程VIP免费

二次装修审批流程_第1页
1/1
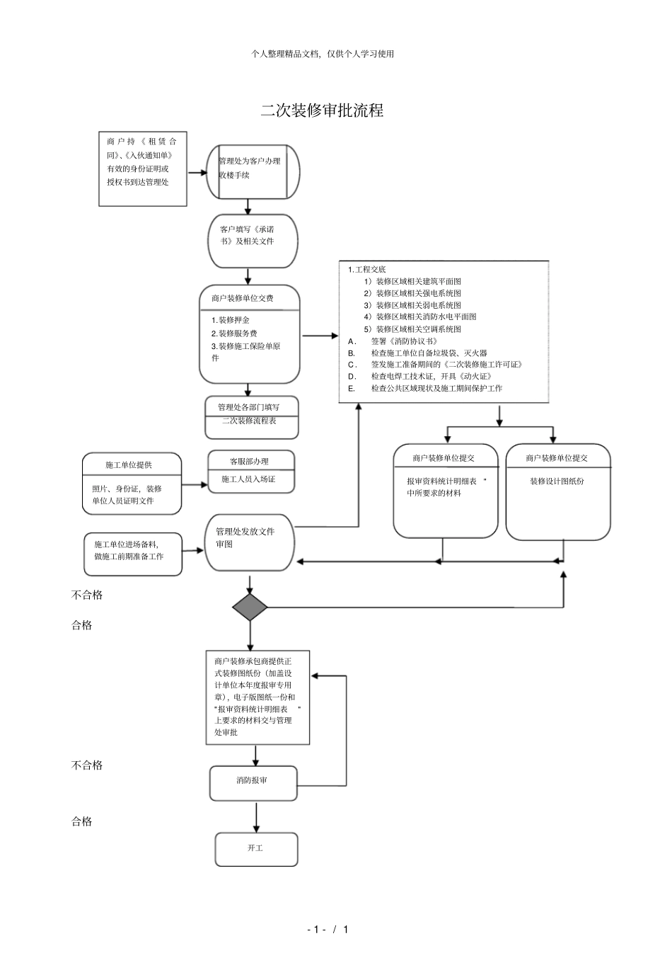
个人整理精品文档,仅供个人学习使用-1-/1二次装修审批流程不合格合格不合格合格商户持《租赁合同》、《入伙通知单》有效的身份证明或授权书到达管理处管理处为客户办理收楼手续客户填写《承诺书》及相关文件商户装修单位交费1.装修押金2.装修服务费3.装修施工保险单原件管理处各部门填写二次装修流程表客服部办理施工人员入场证施工单位提供照片、身份证,装修单位人员证明文件管理处发放文件审图商户装修承包商提供正式装修图纸份(加盖设计单位本年度报审专用章),电子版图纸一份和"报审资料统计明细表"上要求的材料交与管理处审批1.工程交底1)装修区域相关建筑平面图2)装修区域相关强电系统图3)装修区域相关弱电系统图4)装修区域相关消防水电平面图5)装修区域相关空调系统图A.签署《消防协议书》B.检查施工单位自备垃圾袋、灭火器C.签发施工准备期间的《二次装修施工许可证》D.检查电焊工技术证,开具《动火证》E.检查公共区域现状及施工期间保护工作商户装修单位提交报审资料统计明细表"中所要求的材料商户装修单位提交装修设计图纸份施工单位进场备料,做施工前期准备工作消防报审开工

1、当您付费下载文档后,您只拥有了使用权限,并不意味着购买了版权,文档只能用于自身使用,不得用于其他商业用途(如 [转卖]进行直接盈利或[编辑后售卖]进行间接盈利)。
2、本站所有内容均由合作方或网友上传,本站不对文档的完整性、权威性及其观点立场正确性做任何保证或承诺!文档内容仅供研究参考,付费前请自行鉴别。
3、如文档内容存在违规,或者侵犯商业秘密、侵犯著作权等,请点击“违规举报”。

碎片内容

二次装修审批流程

确认删除?
VIP
微信客服
  • 扫码咨询
会员Q群
  • 会员专属群点击这里加入QQ群
客服邮箱
回到顶部