电脑桌面
添加小米粒文库到电脑桌面
安装后可以在桌面快捷访问

工程管理细则和施工流程图VIP免费

工程管理细则和施工流程图_第1页
1/10
工程管理细则和施工流程图_第2页
2/10
工程管理细则和施工流程图_第3页
3/10
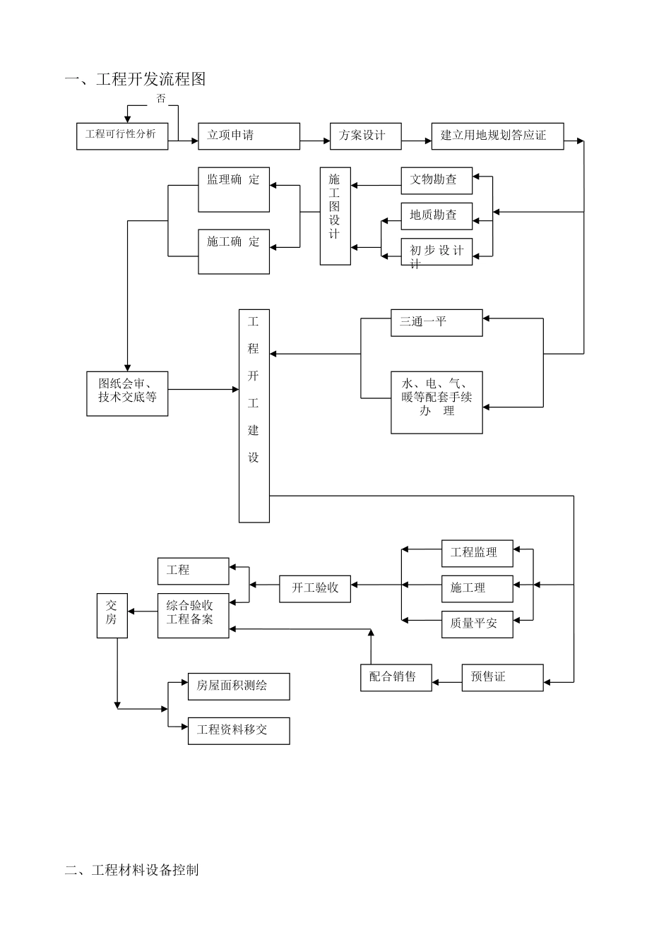
一、工程开发流程图二、工程材料设备控制工程可行性分析立项申请方案设计否建立用地规划答应证文物勘查地质勘查初步设计计施工图设计监理确定施工确定三通一平图纸会审、技术交底等水、电、气、暖等配套手续办理工程监理施工理质量平安开工验收工程综合验收工程备案交房工程资料移交房屋面积测绘预售证配合销售工程开工建设合格不合格不合格不合格合格合格三、质量检查1、质量评定的理四、工程施工进度理1、工程施工进度目的和方案理批准批准批准上报上报上报2、进度方案的过程控制工程部组织甲供材料设备的选购工程部、施工、监理进展工程材料选购工程材料设备的检试验工程材料设备的进场工程材料设备的现场检验工程材料见证试验材料设备的现场储藏与保护施工工程质量评定监理工程质量评定工程部工程质量检查与评定工程部根据工程质量理方法进展奖励或惩罚工程部确定施工工与进度方案总经理批准监理根据现场情况和工进度目的确定进度方案施工根据现场情况和工进度目的确定进度方案工目的与进度方案的落实工目的与进度方案的监视检查工目的与进度方案的调整施工编制周、月度、季度、年度方案、施工总方案并落实监理进展审批与监视检查并调整自身方案工程部进展审批与监视检查并调整自身方案上报上报审批审批上报上报审批上报审批上报审批审批3、工程现场理上报上报上报审批审批审批4、工程签证流程5000元以内的工程签证工程总经理审批5000元—20000元的工程签证工程总经理审批后转交总经理审批。5、工程款支付流程合格合格工程部审批与监视检查并调整自身方案对施工监理的方案执行进展评价作出相应的奖、罚等理措施总经理工程部审核?工程施工理配合要求?及平安文明施工理方法监理编制?工程施工理配合要求?及平安文明施工理方法施工编制?工程施工理配合要求?及平安文明施工理方法工程部现场协调各参施总经理审批工程部检查、监视、落实现场理措施现场理措施的调整设计及相关和部门施工根据合同填写工程签证单监理进展审核工程部本钱部进展审核工程总经理进展审批监理、建立现场负责人、本钱共同测量形成数据施工根据合同填写工程签证单监理进展审核工程部本钱部进展审核工程总经理进展审批监理、建立现场负责人、本钱共同测量形成数据施工提出工程款支付申请监理进展审核工程部本钱部进展审核工程总经理审批总经理审批总经理进展审批工程部进展备案合格不合格不合格不合格1、工序验收合格不合格2、隐蔽验收合格合格不合格不合格3、分部项工程质量控制理工程部填写付款审批书面写明原因退回施工提供正式工程部审批手续支票汇款施工提出工序验收申请监理进展工序质量验收工程部进展工序质量抽检进展工序质量评定进展下一道工序施工限返工或整改返工或整改施工提出分部项验收申请监理进展分部项质量验收工程部进展分部项质量抽检进展分部项质量评定工程部组织监理、设计验收施工提早1天提出隐蔽验收申请监理进展工程隐蔽检查工程部进展隐蔽检查填写隐蔽工程验收结,进展下步工序限返工或整改合格不合格不合格合格4、根底、主体验收阶段合格合格合格不合格不合格不合格5、开工验收阶段合格合格合格不合格不合格不合格平安消费及文明施工条件评估表工程名称构造类型、层数工程建筑面积施工提出工程根底、主体验收申请监理进展工程总体检查平安评估工程部进展工程总体检查平安评估施工向质量主部门提出验收申请工程部组织设计、监理、质监进展验收进展下道工序限返工或整改施工提出工程总体验收申请监理进展工程总体质量检查工程部进展工程总体质量检查工程部向质量主部门提出验收申请工程部组织设计、监理、质量监视部门进展总体验收工程总体开工移交限返工或整改限返工或整改返工或整改分部项工程移交建立负责人施工负责人监理负责人序评估内容评估结果1工程负责人及专职平安理人员平安消费考核合格证书2工程总监和监理工程师书及平安消费考核合格证书3建筑施工特种作业人员上岗书4建筑施工人员意外伤害单5平安防护、文明施工措施费支付凭证6平安施工组织设计及危险性较大工程的专项施工方案7施工现场“三通一平〞8施工现场围挡9施工现场大门10施工现场主要出入口处车辆冲洗设备、沉淀池...

1、当您付费下载文档后,您只拥有了使用权限,并不意味着购买了版权,文档只能用于自身使用,不得用于其他商业用途(如 [转卖]进行直接盈利或[编辑后售卖]进行间接盈利)。
2、本站所有内容均由合作方或网友上传,本站不对文档的完整性、权威性及其观点立场正确性做任何保证或承诺!文档内容仅供研究参考,付费前请自行鉴别。
3、如文档内容存在违规,或者侵犯商业秘密、侵犯著作权等,请点击“违规举报”。

碎片内容

工程管理细则和施工流程图

确认删除?
VIP
微信客服
  • 扫码咨询
会员Q群
  • 会员专属群点击这里加入QQ群
客服邮箱
回到顶部