电脑桌面
添加小米粒文库到电脑桌面
安装后可以在桌面快捷访问

来料检验规范VIP免费

来料检验规范_第1页
1/13
来料检验规范_第2页
2/13
来料检验规范_第3页
3/13
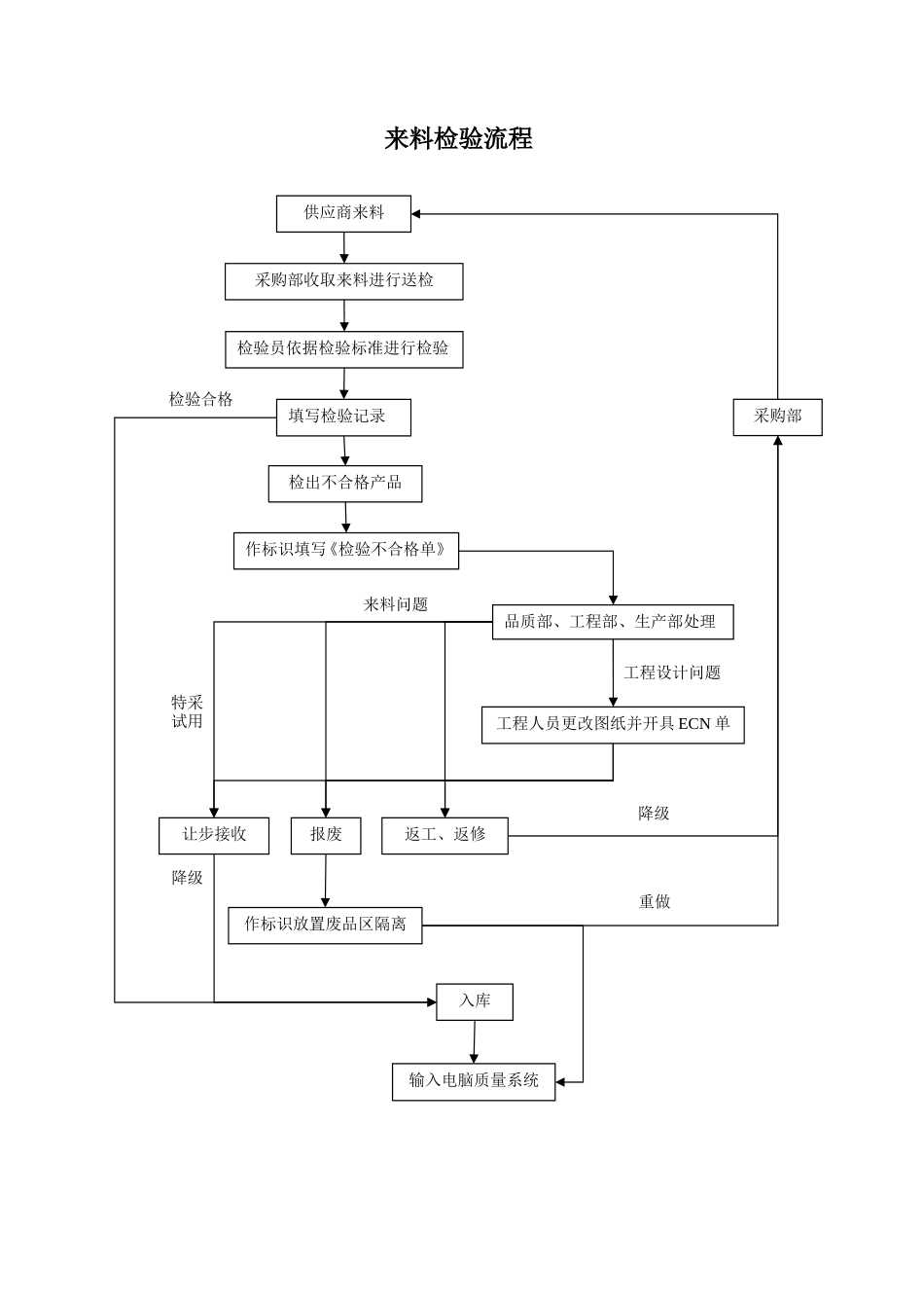
来料检验规范来料检验是为检验生产用物料质量是否合乎工程技术要求,严格控制不合格品流程,确保产品质量。一、来料检验方法:1)外观检测:一般用目视、手感、样品进行验证;2)尺寸检测:一般用卡尺、千分尺、卷尺、直尺、百分表、塞规和平台等量具验证;3)结构检测:一般用拉力器、扭力器、压力器验证;4)特性检测:如电气的、物理的、化学的、机械的特性,一般采用检测仪器和特定方法来验证。二、来料检验方式的选择:1)全检:适用于来料数量少、价值高、不允许有不合格品物料或工厂指定进行全检的物料2)抽检:适用于平均数量较多,经常性使用的物料。三、来料检验的程序:1)品质工程师制定检验和试验的规范、作业指导书,由经理批准后发放至检验人员执行。检验和试验的规范包括材料名称、检验项目、标准、方法、记录要求。2)采购部根据到货日期、到货品种、规格、数量等,通知库房和品质部准备来验收和检验工作。3)检验员接到检验通知后,按检验规范进行检验,并填写检验记录和检验日报。4)检验完毕后,对合格的来料贴上合格标识,通知采购与库房人员办理入库手续。5)如果是生产急需的来料,在来不及检验和试验时,须按紧急放行规定的程序执行。6)检测中不合格的来料应及时填写《产品检验不合格品单》,由品质工程师确认并给出参考意见,提交经理作出处理;重大问题必须提交品质部经理与工程部、生产部审核后再作出处理;不合格的来料不允许入库,并进行相应标识,将移入不合格品库(区)隔离,采购部按处理意见办理相关事宜;保证不合格的零件、成品不装配,不合格的产品不出厂。7)来料检验和试验的记录由品质部文员每日收取,做好数据统计汇总后,整理成册存档备查,按规定期限妥善保存。8)检验时,如来料检验员无法判定是否合格,应立即请品质工程师或经理会同验收来判定是否合格,会同验收的参与人员必须在检验记录表内签字。9)回馈来料检验情况,并将来料供应商的交货质量情况及检验处理情况记录,每月汇总于供应商的交货质量月报内。10)来料检验员根据来料的实际检验情况,对检验规范提出改善意见。11)来料检验员定期校正检验仪器、量规,保养试验设备,以保证来料检验结构的正确性。四、来料检验的结果:1)检验合格:经来料检验员按照检验规范要求操作,来料检验员应在《检验合格证》上签名,通知采购与库房收货。2)检验不合格:来料检验员按照检验规范要求操作,检出不合格品应及时填写《产品检验不合格品单》,会同品质工程师、经理作出处理;不合格品处理有报废、让步接收(特采)返工返修三种处理方式;重大问题必须提交品质部经理与工程部、生产部审核后再作出处理;并进行相应标识,将移入不合格品库(区)隔离,通知采购部根据处理意见办理相关事宜。3)让步接收(特采):即来料经检验员的检验发现其质量低于标准要求,但由于生产急需或其他原因,会同品质工程师、经理、工程部、生产部作出降级(次品)的让步接收处理,会同验收的参与人员必须在检验记录表内签字方可签收。采购部收取来料进行送检检出不合格产品作标识填写《检验不合格单》工程人员更改图纸并开具ECN单让步接收返工、返修报废品质部、工程部、生产部处理检验员依据检验标准进行检验入库作标识放置废品区隔离输入电脑质量系统填写检验记录检验合格采购部供应商来料工程设计问题来料问题重做降级特采试用降级来料检验流程过程检验规范装配过程的质量对一个产品的质量起着决定性的作用,零件的质量是合格的,但由于装配质量不合格,制造出来的产品的质量肯定不合格。为了确保制造出来的产品质量,装配过程中的质量检验工作是非常重要的,是整个制造过程的一个重要环节。一、部装的检验将合格的零件按工艺规程装配成组(部)件的工艺过程称为部装。部装检验的依据:标准、图纸、工艺文件(作业指导书)。1、零件外观和场地的检验在部装之前,要对零件的外观质量和场地进行检查,要做到不合格的零件不准装配,场地不符合要求不准装配。(1)零件加工表面无损伤、锈蚀、划痕。(2)零件非加工表面的油漆膜无划伤、破损,色泽要符合要求。(3)零件表面无油垢,装配时要擦洗干净。(4)零件不得碰撞、划伤。(5)零件...

1、当您付费下载文档后,您只拥有了使用权限,并不意味着购买了版权,文档只能用于自身使用,不得用于其他商业用途(如 [转卖]进行直接盈利或[编辑后售卖]进行间接盈利)。
2、本站所有内容均由合作方或网友上传,本站不对文档的完整性、权威性及其观点立场正确性做任何保证或承诺!文档内容仅供研究参考,付费前请自行鉴别。
3、如文档内容存在违规,或者侵犯商业秘密、侵犯著作权等,请点击“违规举报”。

碎片内容

来料检验规范

确认删除?
VIP
微信客服
  • 扫码咨询
会员Q群
  • 会员专属群点击这里加入QQ群
客服邮箱
回到顶部