电脑桌面
添加小米粒文库到电脑桌面
安装后可以在桌面快捷访问

紧急意外抢救预案及流程VIP免费

紧急意外抢救预案及流程_第1页
1/8
紧急意外抢救预案及流程_第2页
2/8
紧急意外抢救预案及流程_第3页
3/8
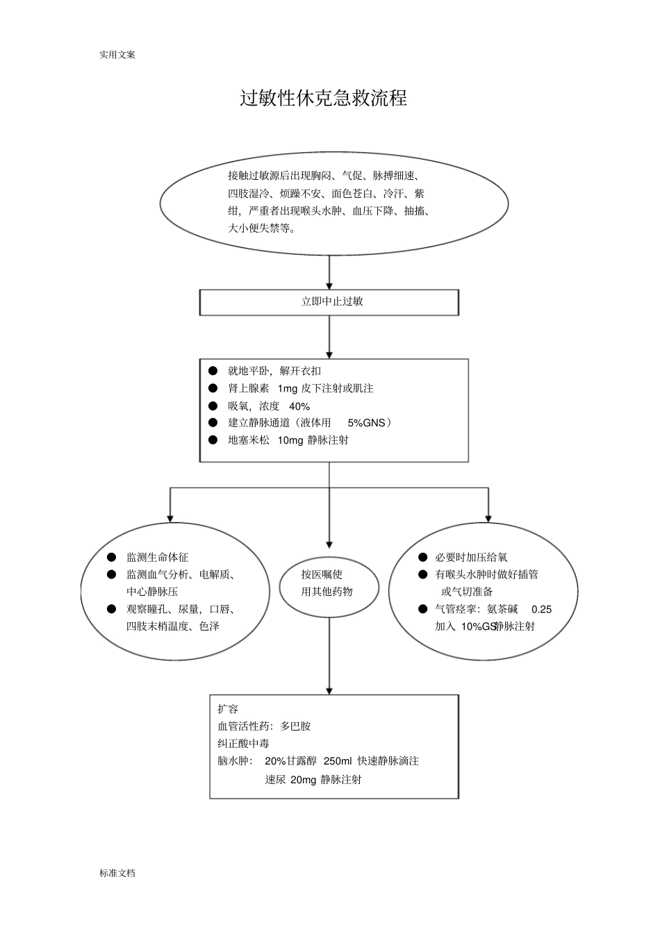
实用文案标准文档对比剂不良反应的预防与应急预案1做好患者的心理护理,患者情绪的紧张和焦虑可诱发和加重对比剂不良反应,因此必须向患者做好耐心解释,给患者以安全感,营造温馨愉快的检查气氛,解除患者心理负担,并提前告知患者静脉推注对比剂后会出现的感觉,如发热、恶心、发痒等,让患者有所了解,缓解患者紧张情绪,减少不良反应的发生。2详细询问药物或其他过敏史,特别是药物和对比剂过敏史,了解患者全身情况,尤其是肝、肾和心脏功能,严格掌握适应证和禁忌证及有无高危因素。3检查前一般进食半饱,避免空腹或进食过饱,以免刺激或加重检查过程中不良反应的发生。4对比剂使用前先做过敏试验,扫描前预防性用药,常规静脉注射地塞米松10mg,可减少或减轻过敏反应的发生,提高对对比剂的耐受力。5严格控制对比剂的用量,掌握注射速度。对比剂的应用量应控制在能达到诊断目的的水平即可,尽量少用。6推注药液过程中,严密观察患者的生命体征及用药后的反应,一旦发生过敏反应,立即停止推注,给予抗过敏处理。7检查结束后,常规嘱患者多饮水以利对比剂排泄,观察30min方可离去。如发生轻度不良反应则要相应延长观察时间,以防止对比剂延迟反应的发生。轻度反应患者可出现头痛、头晕、恶心呕吐、荨麻疹、面部潮红、眼睑口唇水肿、流涕、喷嚏、流泪、胸闷气促、呼吸困难等反应。这些反应于对比剂的用量及给药方式无关。如出现上述症状,应立即停止注入对比剂,积极处理过敏反应。1首先静脉注射地塞米松5~10mg,0.1%盐酸肾上腺素0.5~1mg,必要时15min后重复一次。2持续氧气吸入,保持呼吸道通畅。3异丙嗪25mg肌肉注射。4呼吸困难、喘弊者给予氨茶碱0.5g加入液体中静脉点滴。5密切观察患者体温、脉搏、呼吸、血压、瞳孔的变化,并做好记录。6碘过敏反应轻微者多能在短时间内自行缓解,无需特殊治疗处理。重度反应患者可出现喉头水肿、脉搏细弱、口唇紫绀、呼吸困难、脸色苍白、皮温降低、血压下降、中枢性抽搐,以至休克。发现上述情况,应立即停止检查,就地抢救。1平卧、保暖、氧气吸入。2立即使用肾上腺素、地塞米松、异丙嗪等抗过敏药物。3针刺人中、十宣、涌泉等穴,或耳针取神门、肾上腺等穴。4对神经血管性水肿着可肌注非那根25-50mg;喉头或支气管痉挛者,皮下或肌注0.1℅肾上腺素0.5-1.0ml,或安茶碱0.5-1.5g或喘定1-2g置于生理盐水或葡萄糖液200-400ml中静脉滴注;静脉滴注氢化可的松100-400mg或肌注地塞米松5-10mg,以抑制机体的过敏反应;经上述处理,病情不见好转,血压不见回升者,需补充血容量,并酌情给予多巴胺、阿拉明等升血压药物,呼吸受抑制者可应用尼可刹米、山梗菜碱等呼吸兴奋剂,喉头水肿者可行气管切开,呼吸心跳骤停者行人工呼吸及胸外心脏按压等。根据情况予以输氧、抗颠痫和抗休克治疗。5对症处理。烦躁不安者给予镇静剂,肌肉软瘫无力者可肌肉注射新斯的明0.5~1mg。6抢救同时应密切观察体温、脉搏、呼吸、血压、一般情况的变化,并做好记录,未脱离危险患者不宜搬动。实用文案标准文档碘过敏性休克抢救方案1应立即停止造影检查,病人平卧,头侧位,松解衣领及裤带,清除口、咽、气管分泌物。2立即皮下、肌肉或静脉注射0.1%肾上腺素0.5-1ml,小儿0.1ml。如症状不缓解,每20-30分钟继续应用一次,直至脱离危险。3吸氧、保温,如有喉头水肿、呼吸困难时应行环甲膜穿刺术或气管切开术。4肌注或静注地塞米松5-10mg或静滴氢化考的松200-400mg或肌注异丙嗪25-50mg。5迅速建立静脉通道,适当补充血容量,首次输液宜快速输入500ml。6酌情使用血管活性药物。如:阿拉明10-20mg、多巴胺10-20mg等。7注意纠正酸碱中毒及电解质失衡。8缓解气管痉挛,伴有哮喘发作者应用氨茶碱静注或用异丙肾上腺素。9应立即通知经治医师,严重者请麻醉科医师共同抢救。10注意观察体温、脉搏、呼吸、血压,等病情平稳后送回病房。实用文案标准文档过敏性休克急救流程接触过敏源后出现胸闷、气促、脉搏细速、四肢湿冷、烦躁不安、面色苍白、冷汗、紫绀,严重者出现喉头水肿、血压下降、抽搐、大小便失禁等。●监测生命体征●必要时加压给氧●监测血气分析、电解质、按医嘱...

1、当您付费下载文档后,您只拥有了使用权限,并不意味着购买了版权,文档只能用于自身使用,不得用于其他商业用途(如 [转卖]进行直接盈利或[编辑后售卖]进行间接盈利)。
2、本站所有内容均由合作方或网友上传,本站不对文档的完整性、权威性及其观点立场正确性做任何保证或承诺!文档内容仅供研究参考,付费前请自行鉴别。
3、如文档内容存在违规,或者侵犯商业秘密、侵犯著作权等,请点击“违规举报”。

碎片内容

紧急意外抢救预案及流程

您可能关注的文档

确认删除?
VIP
微信客服
  • 扫码咨询
会员Q群
  • 会员专属群点击这里加入QQ群
客服邮箱
回到顶部