电脑桌面
添加小米粒文库到电脑桌面
安装后可以在桌面快捷访问

工程进度计划与措施方案(模板)VIP免费

工程进度计划与措施方案(模板)_第1页
1/9
工程进度计划与措施方案(模板)_第2页
2/9
工程进度计划与措施方案(模板)_第3页
3/9
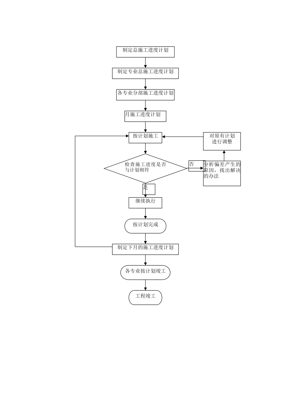
工程进度计划与措施方案工期目标:我司承诺确保在300个日历天内完成投标内所列工程项目。第一节施工进度计划编制一、施工进度计划的依据(一)为了按期完成本标段工程,我公司将配备专业施工队伍和足够数量的施工设备,按“均衡生产,文明施工,提高质量确保安全,降低成本”的方针进行组织施工,最终提供业主方优良的产品。(二)我公司将建立以项目经理为首的领导班子,发挥总工程师、各部负责人、各段施工负责人、项目生产班组组长直至班组施工人员的作用,根据工程的进展情况和施工的难易程度确定各阶段合理的施工人员数量和分工。全力以赴确保工期的实现,坚持科学组织、分工与密切合作相结合。建立运作良好的项目的组织机构,较强的项目领导班子,懂行的管理人员,可靠的技术工人,我方必须能按时按质的完成本工程。(三)合理安排施工工序所谓:“顺则速,逆则慢”,为了减少各工序施工间的相互干扰,形成合理的流水作业,均衡生产,并尽可能的将工序施工时间提前,以预留时间进行下一步工序的准备工作。所以本工程施工的关键工序在于先施工便道,保证施工道路的畅通和机、工、料顺利抵达所需施工的地点。然后是大面积拆除原有构筑物,同时及时插入管道基础开挖工作等。(四)配备数量充足的施工设备的劳动力根据排定的施工计划,计算所需的机械设备的劳动力;编制动态管理进度计划,并根据现场施工的实际情况作出调整。本工程中插板机、挖土机、混凝土泵机、自卸汽车、吊车等是本工程的重点设备,因此必须切实保证上述设备的进场时间及性能维护。确保工期的顺利进行。对于上述机械操作的人员配备必须合理,而且要有两年以上的操作经验,在保证质量满足要求并不得返工的前提下,熟练操作上述机械,确保工期的顺利进行。(五)雨季施工安排下雨天对本工程工期的影响比较大,所以施工中要量做好下列工作:施工场地提前作好排水系统并保持通畅。做好机械及电器设备的防雨防雷措施,在车道移滑路段做好防滑措施工作,避免雨天车辆行走出现意外事故。内不积水。在施工路线两侧布设排水边沟,保证在雨季时排水畅通,保持施工区域无积水;随时测定砂石材料的含水率,及时调整混凝土水灰比;雨季施工,随时注意天气预报,及时指导施工,搞好工地排水系统,保证流水畅通,减少雨水对施工的影响;雨季中,应尽量安排受雨水影响小的项目施工,例如:材料备料工作。二、总控制计划的编制流程工程竣工各专业按计划竣工对原有计划进行调整分析偏差产生的原因,找出解决的办法按计划完成制定下月的施工进度计划继续执行检查施工进度是否与计划相符按计划施工月施工进度计划各专业分部施工进度计划制定专业总施工进度计划制定总施工进度计划否是第二节工期控制系统一、工期控制及调整系统一、建立工期进度控制的组织系统,项目经理部负责落实各层次的进度控制人员,落实具体任务和工作责任,并对工程总体进度计划按照分项工程进行层层分解。认真研究、分析各单位工程的量,影响及制约因素,做出周密合理的施工进度计划,施工中严格按照计划施工,如出现不符的情况,及时分析原因,提出补救措施。工程施工工期进度监测系统工程施工进度实施过程建立进度数据采集系统收集实际施工进度数据数据的整理统计和分析实际进度与计划进度的比较检查是否出现进度偏差否工程施工工期进度调整系统进入施工进度调整系统工程施工进度出现偏差分析产生施工进度偏差的原因分析该进度偏差对后续工作所产生的影响确定影响后续工作的限制条件采取施工进度调整措施形成经调整的施工进度计划采取相应的技术、经济和组织措施实施调整后的施工进度计划工程施工进度监测系统第三节保证工期组织措施一、施工管理对工期的保证(一)根据该工程的实际特点,我们将强化项目法管理,推行项目法施工,实行项目经理负责制,负责施工的全过程。设立专职职能部门,分管工程管理,明确职责,各负其责,确保工期目标的实现。(二)实施严格的管理制度,根据业主单位的工期安排,编制项目的总体进度计划,设置工期控制点,保证总工期的实现。(三)建立生产例会制度,在总进度控制下,安排周、日作业计划,在例会上对进度控制点进...

1、当您付费下载文档后,您只拥有了使用权限,并不意味着购买了版权,文档只能用于自身使用,不得用于其他商业用途(如 [转卖]进行直接盈利或[编辑后售卖]进行间接盈利)。
2、本站所有内容均由合作方或网友上传,本站不对文档的完整性、权威性及其观点立场正确性做任何保证或承诺!文档内容仅供研究参考,付费前请自行鉴别。
3、如文档内容存在违规,或者侵犯商业秘密、侵犯著作权等,请点击“违规举报”。

碎片内容

工程进度计划与措施方案(模板)

一米阳光+ 关注
实名认证
内容提供者

爱好英语教学和互联网行业,热爱教育事业,兢兢业业

确认删除?
VIP
微信客服
  • 扫码咨询
会员Q群
  • 会员专属群点击这里加入QQ群
客服邮箱
回到顶部