电脑桌面
添加小米粒文库到电脑桌面
安装后可以在桌面快捷访问

Excel电子表格检验记录验证方案VIP专享VIP免费

Excel电子表格检验记录验证方案_第1页
1/27
Excel电子表格检验记录验证方案_第2页
2/27
Excel电子表格检验记录验证方案_第3页
3/27
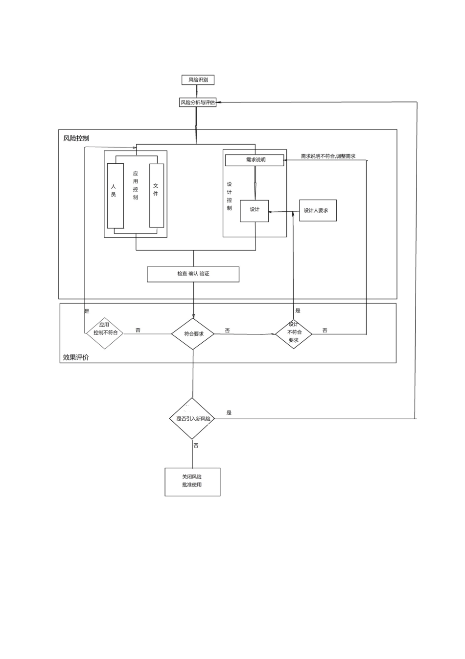
Excel电子表格检验记录验证方案(zcg)Excel电子表格检验记录风险控制1目的将常规电子表格进行风险控制使其能成为符合预定用途、具有特殊功能的电子表格,满足实验室具体需求。2适用范围本文件适用实验室于Excel电子表格检验记录的风险控制。3概述我部门部分检验记录涉及比较复杂运算,普通手工计算占用分析人员较多的时间,且计算过程与结果需经较多复核才能保证准确无误,不利于工作高效开展。计划将部分检验记录设计成电子表格。优势:可以大量节约分析时间,缩短复核、审核过程提高工作效率。劣势:常规的电子表格记录存在风险。为保证电子表格从设计到应用的整个过程均准确、可靠、安全、有效,需要对电子表格检验记录风险加以控制,形成特殊功能的电子表格检验记录以符合实验室具体要求。4人员资质与职责4.1风险评估小组成员资质职责组长1.具备有组织、协调、组建风险评估小组的权力与能力。1.负责遴选组成风险评估小组成员。2.对风险评估小组成员的资质负责。3.负责对各阶段工作进行组织与协调。4.负责对风险控制效果进行总结与评价。成员1.熟习Excel电子表格的使用,有比较丰富的经验。2.能够理解电子表格的中常用函数功能。3.有识别、分析、评估风险的能力。4.能够为风险控制措施提出意见与建议的能力。1.负责识别常规电子表格应用中可能存在的风险。2.负责对风险进行分析与评估。3.负责提出风险控制的建议与措施。4.参与需求说明书的起草。5.对设计好的电子表格按照控制要求进行检查、确认与验证。6.参与起草验证及风险评估报告。7.对风险控制效果进行评价,提出是否批准使用的意见与建议。4.2设计人员资质职责设计人具备运用Excel电子表格进行应用设计的能力。可为公司内部员工,也可为外部专业人员。1.负责对电子表格功能、应用进行设计。2.负责提供设计模块功能、用法;提供检查、确认、验证的方法。3.负责提供设计详细信息。(包括源代码、模块间的关联信息)5内容风险管理按如下流程组织开展工作。5.1风险识别通过对电子表格的常用情况调查分析.认定能够影响常规电子表格的安全性、有效性、准确性及完整性的因素可视为风险。如下表所示:风险点危害安全性文件易丢失工作表误删除表格内容被误操作而丢失有效性失败造成错误(无效)的过程与结果准确性设计错误计算式计算过程与结果出错设计错误逻辑判定表达式结果判定出错文件连接错误表格功能性错误图表连接错误公式连接错误宏程序功能性错误VBA程序与预期功能不符动态连接库文件错误引入或输出错误数据完整性需求、设计不完整不能达到预期目的及效果5.2风险分析采用适当的工具对风险的影响因素成因进行分析。准确性采用因果图较为合适。下图有助于准确性及逻辑判定的成因分析。对分析出的影响因素的危害程度暂不进行风险评估,分别在设计与应用方面探寻有效的预防与控制措施。5.3风险控制分别在应用与设计阶段采用有效的预防与控制措施对风险进行实际控制。下表提供部分控制措施与方法。更多的控制方式与接受方式以文件形式列出。(需求说明、操作SOP、验证方案)5.4控制效果评价5.4.1设计效果评价风险点危害控制措施与方法安全性文件易丢失保护文件夹,文件备分列出详细需求说明组织实施、检查、确认及验证工作表误删除保护工作表表格内容被误操作而丢失锁定保护需要保护的单元格文件连接错误表格功能性错误对设计者提出具体要求:列出详细信息,说明功能与用途;提供检查及确认方法。图表连接错误公式连接错误宏程序功能性错误VBA程序与预期功能不符动态连接库文件错误引入或输出错误数据人员未培训错误结果与判定人员操作培训误操作复核:自已复核,他人复核文件操作SOP缺失、无效制定有效标准操作程序验证文件缺失制定具体验证方案设计计算式设计错误核对计算式,核对计算结果逻辑表达式设计错误核对逻辑表达式,核对判定结果无有效性设计增加有效性设计无效格式设计有效格式:T-文本V-数值F-计算式L-逻辑式控制无有效控制措施采取有效的控制措施分别对电子表格检验记录设计阶段的安全性、准确性、有效性及完整性进行评价,确认控制效果能够符合预期要求。5.4.2应用效果评价评价应用文件的准确性、完整性。评价表...

1、当您付费下载文档后,您只拥有了使用权限,并不意味着购买了版权,文档只能用于自身使用,不得用于其他商业用途(如 [转卖]进行直接盈利或[编辑后售卖]进行间接盈利)。
2、本站所有内容均由合作方或网友上传,本站不对文档的完整性、权威性及其观点立场正确性做任何保证或承诺!文档内容仅供研究参考,付费前请自行鉴别。
3、如文档内容存在违规,或者侵犯商业秘密、侵犯著作权等,请点击“违规举报”。

碎片内容

Excel电子表格检验记录验证方案

确认删除?
VIP
微信客服
  • 扫码咨询
会员Q群
  • 会员专属群点击这里加入QQ群
客服邮箱
回到顶部