电脑桌面
添加小米粒文库到电脑桌面
安装后可以在桌面快捷访问

三一重工的绩效管理制度汇编VIP免费

三一重工的绩效管理制度汇编_第1页
1/11
三一重工的绩效管理制度汇编_第2页
2/11
三一重工的绩效管理制度汇编_第3页
3/11
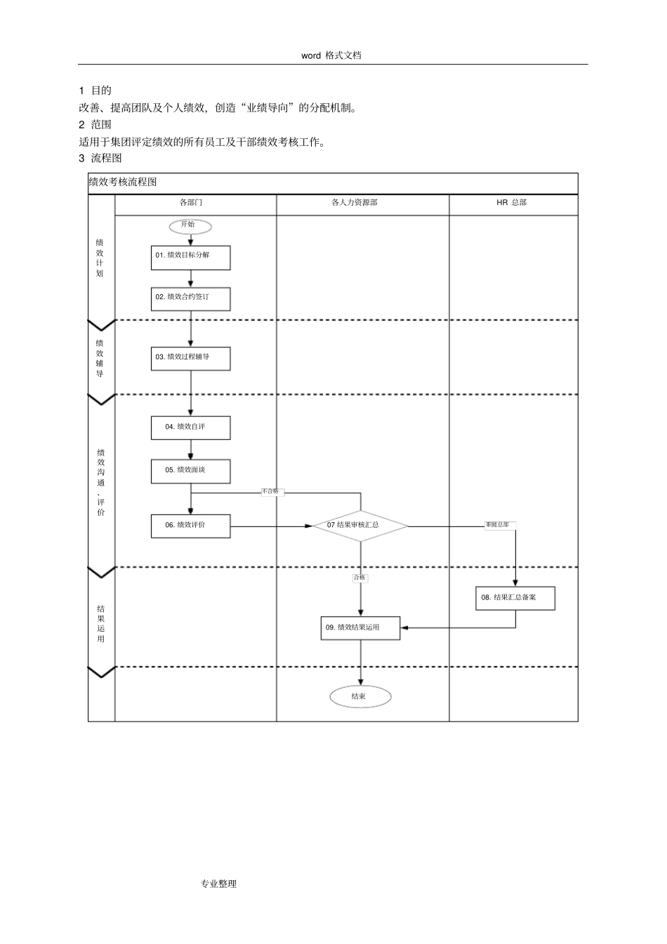
word格式文档专业整理1目的改善、提高团队及个人绩效,创造“业绩导向”的分配机制。2范围适用于集团评定绩效的所有员工及干部绩效考核工作。3流程图绩效考核流程图各人力资源部HR总部各部门开始01.绩效目标分解02.绩效合约签订03.绩效过程辅导绩效计划绩效辅导04.绩效自评绩效沟通、评价05.绩效面谈07结果审核汇总09.绩效结果运用08.结果汇总备案结束结果运用不合格职能总部合格06.绩效评价word格式文档专业整理4流程说明步骤工作事项责任岗位事项说明01绩效目标分解各级主管公司各级主管必须在每月月底前将部门绩效分解,合理规划下属次月工作重点。02绩效合约签订部门主管、员工1.绩效考核周期分月度、季度、半年度和年度考核(研发系统按研发考核年度执行,下同)。总裁助理及以上干部采取年度考核(合约一年一签),于当年12月份考核;总监级干部实行半年度考核(合约半年一签),每年6月和12月份考核;副科级至正部级干部实行季度考核(合约每季一签),于每季度最后1个月考核;普通员工实行月度考核(合约每月一签),每月考核。2.月度、季度、半年度和年度绩效合约须于绩效合约填写当月的第3个工作日前制定完成(月度为每月的第3个工作日前;季度为每年1月、4月、7月、10月的第3个工作日前;半年度为每年1月和7月的第3个工作日前;年度为每年1月第3个工作日期前)。(合约模板见附件1)3.各级部门主管与员工当面确认《绩效合约》及评定标准,指标不超过5项且有明确的可衡量标准。4.能够使用人力资源绩效管理系统(HRM)的单位,绩效合约必须在HRM绩效管理系统中予以填写、确认;不能使用人力资源绩效管理系统的单位,上下级均须纸质版《绩效合约》“绩效计划制定”处签字确认。5.未在规定时限内填写绩效合约者,其绩效默认为“中”,连续2个月不填写绩效合约者,其绩效默认为“中下”。6.绩效评分采用KPI考核为主,辅以特殊绩效加分的考核方式。7.对正式任命晋升的员工,从次月开始相应级别的考核;对降职的员工,从当月进行相应级别的考核。8.每月15号之后入司的普通员工,当月无需填写绩效合约,无特殊情况下,绩效默认为“中”;每月15日前入司的普通员工,需在入司后3个工作日内完成绩效合约的签订。03绩效过程辅导部门主管绩效执行过程中,主管须对员工绩效合约执行情况进行辅导沟通,帮助员工达成合约目标。04绩效自评被考核员工1.普通员工每月25日至月底前对当月绩效完成情况进行自评,报部门主管评价。2.副科至正部级干部每个季度最后一个月25日至月底前对季度绩效完成情况进行自评,报部门主管评价。4.总监级干部在6、12月份25日至月底前对半年度绩效完成情况进行自评,报部门主管评价。注:能够使用人力资源绩效管理系统(HRM)的单位,必须在HRM绩效管理系统中予以自评、提交;不能使用人力资源绩效管理系统的单位,在纸面版《绩效合约》中自评、提交。word格式文档专业整理05绩效面谈各级主管1.直接上下级面谈(面谈覆盖所有下级)(1)面谈人提前将绩效面谈时间与地点通知面谈对象,面谈可从每月25日开始,但必须在次月第3个工作日之前完成。(2)面谈对象于面谈会议前一天将绩效合约或当月工作总结材料(业务成果、制度优化、部门人员情况等)发至面谈人邮箱(或者书面记录面谈汇报资料)。(3)面谈人在听取面谈对象的业务成果及工作情况介绍后,对面谈对象工作亮点与不足进行点评,分析工作不足产生的原因(知识、技能、态度、资源、流程等原因)并提出改进方法,同时安排下月工作重点(工作内容、完成时间、如何完成、完成要求等)。(4)面谈对象在考核当月(普通员工为月度、科级至部级为季度、总监级为半年度、总裁助理及以上为年度),面谈人需确定面谈对象的本考核周期绩效。(5)面谈对象在面谈结束后,月底之前在HRM系统或纸面版《事业部(/总部)员工月度绩效与计划面谈记录表》(附件2,以下简称《面谈记录表》)中记录面谈内容,提交面谈人确认。(6)面谈人在对电子或纸面版《面谈记录表》予以确认。2.下下级面谈(下下级抽取10%面谈)(1)面谈人提前将绩效面谈时间与地点通知面谈对象,面谈可从每月25日开始,但必须在次月第3个工作日之前完...

1、当您付费下载文档后,您只拥有了使用权限,并不意味着购买了版权,文档只能用于自身使用,不得用于其他商业用途(如 [转卖]进行直接盈利或[编辑后售卖]进行间接盈利)。
2、本站所有内容均由合作方或网友上传,本站不对文档的完整性、权威性及其观点立场正确性做任何保证或承诺!文档内容仅供研究参考,付费前请自行鉴别。
3、如文档内容存在违规,或者侵犯商业秘密、侵犯著作权等,请点击“违规举报”。

碎片内容

三一重工的绩效管理制度汇编

文库响当当+ 关注
实名认证
内容提供者

该用户很懒,什么也没介绍

确认删除?
VIP
微信客服
  • 扫码咨询
会员Q群
  • 会员专属群点击这里加入QQ群
客服邮箱
回到顶部