电脑桌面
添加小米粒文库到电脑桌面
安装后可以在桌面快捷访问

企业管理表格VIP免费

企业管理表格_第1页
1/59
企业管理表格_第2页
2/59
企业管理表格_第3页
3/59
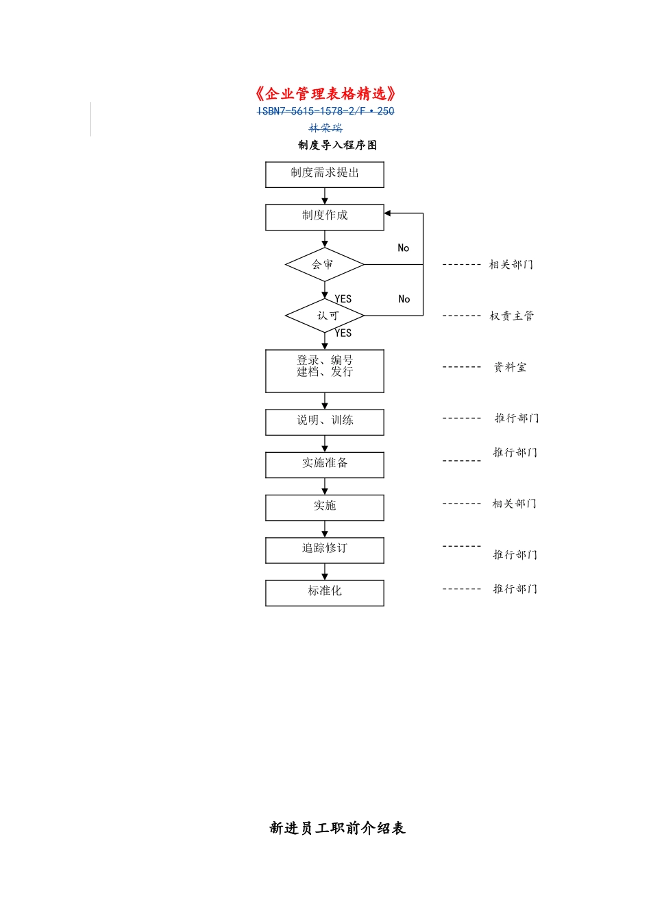
《企业管理表格精选》ISBN7-5615-1578-2/F·250林荣瑞制度导入程序图No会审相关部门YESNo认可权责主管YES资料室推行部门推行部门相关部门推行部门推行部门新进员工职前介绍表制度需求提出制度作成登录、编号建档、发行说明、训练实施准备实施追踪修订标准化新进人员姓名:职务:报到日期:内容介绍人时间准备接待1、了解他的工作经验、教育程度与所受之专业训练。2、他的工作说明书,他的职责与责任的说明都准备妥当。3、将他的工作场所、所需用具备妥当。欢迎1、放松心情。2、他的从属关系说明。3、他的工作场所安排,并发给他所需之用具。表示关切1、与他讨论他的背景与兴趣。2、询问居住有无问题。3、上下班交通有无问题。4、在发薪水之前财务上有无困难。单位之任务1、介绍本单位之任务。2、简介组织概况3、解释他在本单位之职责。4、解释他与其他同仁的关系。5、他的直属主管与他的属员。介绍1、向原有同仁介绍新同仁并说明他的职责。2、向他解释每位同仁的工作并略加赞许。3、安排同仁与他共进午餐(第一日)。主要工作内容1、逐次指示他的工作。2、解释工作标准。3、指示他工作场所。4、指示他当工作发生困难时,何人可帮助他。5、将有关工作规定、技术手册等交他阅读。6、指导工具与装备之使用。7、强调工作安全。8、强调公司机密不可外泄。绩效1、查看了解进步情形。2、鼓动他提出疑问。3、改正错误并给予鼓励。其他人事部:单位主管:新进人员:职称职等职等12345678910主管位作业员领班副组长组长副课长课长副厂长副经理厂长经理副总经理总经理技能位技术员办事员会计员助理工程师工程师高级工程师说明:1、将组织架构内的权责人员制订职称2、制订职等以利薪资及升迁管理3、企业内的职称及对应的职等不可随意变动。员工辞职申请单申请日期:部门姓名职务工号辞职原因公司因素个人因素□待遇□无晋升机会□环境□公司前景□人际关系□培训□工作不对□其他□服兵役□搬迁□生病□回乡□照顾家庭□创业□交通不便□另有他就□其他拟定离职日期确定离职日期申请人直接主管单位主管部门主管人事总经理会议记录表No.日期:时间地点主持人记录人会议名称参加者主要议题对策措施期限负责人追踪情况(时间)预算程序图总体计划资金来源运用预算表金额元预测销售预算生产预算管理预算资本预算研究发展预算销售成本预算生产成本预算现金预算收入预算采购预算总预算月份项目1月2月3月4月5月6月7月8月9月10月11月12月合计上期结余(A)收入现金销货应收票据兑现利息收入合计(B)支出应付票据兑现利息支出薪资水电费邮电费修理费交际费差旅费交通费电话费办公费运输费福利费劳保费税金保险费杂费合计(C)本期余出(D=B-C)本期结余(E=A+D)核算:复核:制表:说明:1、年报性质2、编制本表,可掌握未来一年资金的盈出。各项费用支出预算表月月月说明薪资小计水电费邮电费修理费办公费电话费福利费劳保费税金保险费交际费差旅费运费杂费合计核准:主管:制表:说明:1、用来编制各项费用预算的报表2、每季度填用一次。月份部门科目销售预算表(横向表)年第季日期:产品月月月合计品名规格单位单价数量金额单价数量金额单价数量金额数量金额合计说明:1、季报性质;2、营业单位编制,副本送会计单位。行销规划程序图新产品开发程序图目前形势机会与威胁未来目标政策策略研究产品开发价格广告促销渠道销售产品组合分析利润计划析分析决策计划预算行动意见审核NO删除(有价值)YES·市场价值·技术特性·设备能力·品质实力NO可行删除YESNO评估YES竞争厂商调查表市场讯息评估可行性研究产品设计制样小量产试销批量生产市场反应厂商名产品主要型号主要销售商销售份额销售政策促销状况品质状况优缺点分析本公司因应对策主管:审核:调查人:竞争产品市场价格调查表调查日期:年月日品名规格型号厂家市场价折扣率%主管:审查:制表:商品别占有率分析表分析城市:年月日商品别本公司营业实绩占有率%顺位公司营业实绩占有率%顺位公司营业实绩占有率%顺位公司营业实绩占有率%顺位主管:制表:销售点购买率调查报告表年月日品名时间合计购买率%购买不买购买不买购买不买购买不买上午07时上午08时上...

1、当您付费下载文档后,您只拥有了使用权限,并不意味着购买了版权,文档只能用于自身使用,不得用于其他商业用途(如 [转卖]进行直接盈利或[编辑后售卖]进行间接盈利)。
2、本站所有内容均由合作方或网友上传,本站不对文档的完整性、权威性及其观点立场正确性做任何保证或承诺!文档内容仅供研究参考,付费前请自行鉴别。
3、如文档内容存在违规,或者侵犯商业秘密、侵犯著作权等,请点击“违规举报”。

碎片内容

企业管理表格

文章天下+ 关注
实名认证
内容提供者

各种文档应有尽有

确认删除?
VIP
微信客服
  • 扫码咨询
会员Q群
  • 会员专属群点击这里加入QQ群
客服邮箱
回到顶部