电脑桌面
添加小米粒文库到电脑桌面
安装后可以在桌面快捷访问

电梯安装工程监理实施细则范本VIP专享VIP免费

电梯安装工程监理实施细则范本_第1页
1/13
电梯安装工程监理实施细则范本_第2页
2/13
电梯安装工程监理实施细则范本_第3页
3/13
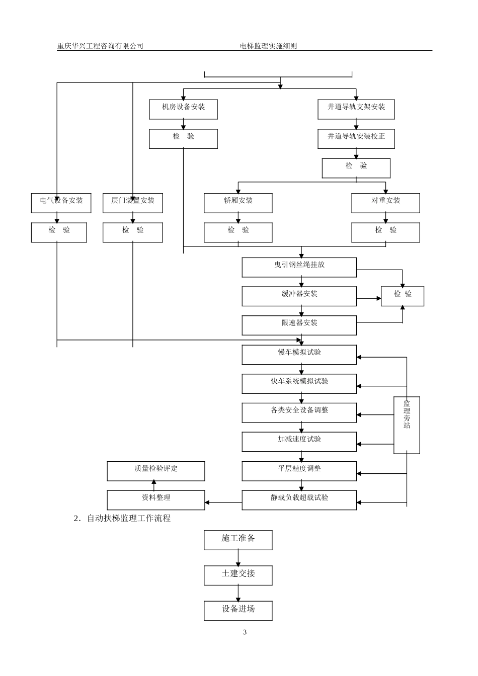
重庆华兴工程咨询有限公司电梯监理实施细则金科空港城电梯安装工程监理实施细则编制人:批准人:批准时间:1重庆华兴工程咨询有限公司电梯监理实施细则电梯安装工程监理实施细则1工程概况工程名称:设计单位:监理单位:施工单位:建设地点:工程概况:本工程共设计安装电梯37台(其中观光电梯17台),额定速度1m/s,载重量1000kg:自动扶梯8台,额定速度0.5m/s,提升高度5米。2专业工程特点1.目前国内对电梯的制造、安装及维修实行生产企业全面责任负责的“一条龙”管理制度,电梯的终身质量责任主要落实在生产企业。国家对电梯的生产、安装维修实行了“生产许可证”、“电梯准用证”、“委托代理制”、“进户许可证”及“安全认可证”等认证制度。在此主要介绍本工程电梯安装的直接责任方及委托代理方式。2.电梯安装工程始终处于同一垂直空间(井道)内的立体交叉施工作业过程。在此,从安全施工角度重点介绍本工程井道及电梯机房设置(有无机房、地上或地下机房)施工中的难点及安全重点。3.简介本工程电梯工程采用的新型(控制、调速、传动等)技术及新型(断相、错相、过载保护及安全钳等)设备应用。3执行标准、法规1.《电梯制造与安装安全规范》GB7588-20032.《电梯技术条件》GB/T10058-20093.《电梯试验方法》GB/T10059-20094.《电梯安装验收规范》GB10060-935.《电梯工程施工质量验收规范》GB50310-20026.《电梯用钢丝绳》GB8903-20057.《电梯曳引机》GB/T13435-928.《电梯T型导轨》JG/T507201-19969.《自动扶梯和自动人行道的制造与安装安全规范》GB16899-201111.设计施工图文件4监理工作流程1.电梯安装监理工作流程2土建交接检验施工准备设备进场验收重庆华兴工程咨询有限公司电梯监理实施细则2.自动扶梯监理工作流程3机房设备安装井道导轨支架安装检验井道导轨安装校正检验轿厢安装对重安装检验检验检验检验电气设备安装层门装置安装曳引钢丝绳挂放缓冲器安装限速器安装慢车模拟试验快车系统模拟试验各类安全设备调整加减速度试验检验监理旁站平层精度调整静载负载超载试验质量检验评定资料整理施工准备土建交接设备进场重庆华兴工程咨询有限公司电梯监理实施细则5监理工作的控制要点及目标值(一)质量控制1.建设工程所用电梯必须是具有国家颁发生产许可证的厂家生产的、有合格证的产品,并应取得“重庆市建筑材料和建设机械产品准用证”。2.严格对安装企业进行资质审查。1)安装企业必须持有国家颁发的电梯安装许可证。安装企业还应持有电梯安装营业执照,严格按规定的营业范围承揽工程。2)安装企业必须有健全的质量保证体系和质量责任制,并对安装质量负责。3)电梯安装队伍必须实行专业化,安装人员都要经过严格的培训,取得建设行政主管部门颁发的岗位证书才能上岗。3.井道脚手架搭建必须符合国家有关规定。检查脚手架搭建单位必须有当地政府有关主管部门颁发的资质证书及施工人员的操作证、搭建后的合格检验书。4.井道内电焊、气割施工时必须有动火申请的齐全手续,并有专人旁站,施工完后检查现场,消除隐4机房设备安装桁架安装检验踏板、扶手板安装电气设备线路敷设驱动链安装安全开关安装静态测试单机试车联动试车动态测试资料整理质量检验评定检验监理旁站检验重庆华兴工程咨询有限公司电梯监理实施细则患。5.审核安装单位递交的施工组织设计及质保体系,审核施工单位递交的开工报告,并经现场核实后会同业主下达开工令。6.督促安装单位按合同总工期要求合理安排施工阶段的季、月、周施工进度计划。7.会同安装单位对井道、机房、底坑及自动扶梯踏板上或胶带上空的垂直净空要求等土建部分的复测工作,机房内部、井道土建(钢架)结构及布置必须符合电梯土建布置图要求,主电源开关及井道应符合现行国家标准《电梯工程施工质量验收规范》GB50310的规定,并做好“土建进场验收记录”。8.根据装箱单会同业主对设备另部件进行开箱检查、验收,随机技术文件(土建布置图、产品出厂合格证、限速器等试验证书)应齐全,设备外观不应存在明显损坏,并做好“设备进场验收记录”。9.检查承包单位检测仪器、仪表、设备的鉴定证书及其有效期。(...

1、当您付费下载文档后,您只拥有了使用权限,并不意味着购买了版权,文档只能用于自身使用,不得用于其他商业用途(如 [转卖]进行直接盈利或[编辑后售卖]进行间接盈利)。
2、本站所有内容均由合作方或网友上传,本站不对文档的完整性、权威性及其观点立场正确性做任何保证或承诺!文档内容仅供研究参考,付费前请自行鉴别。
3、如文档内容存在违规,或者侵犯商业秘密、侵犯著作权等,请点击“违规举报”。

碎片内容

电梯安装工程监理实施细则范本

确认删除?
VIP
微信客服
  • 扫码咨询
会员Q群
  • 会员专属群点击这里加入QQ群
客服邮箱
回到顶部