电脑桌面
添加小米粒文库到电脑桌面
安装后可以在桌面快捷访问

工程建设项目审批流程图VIP免费

工程建设项目审批流程图_第1页
1/4
工程建设项目审批流程图_第2页
2/4
工程建设项目审批流程图_第3页
3/4
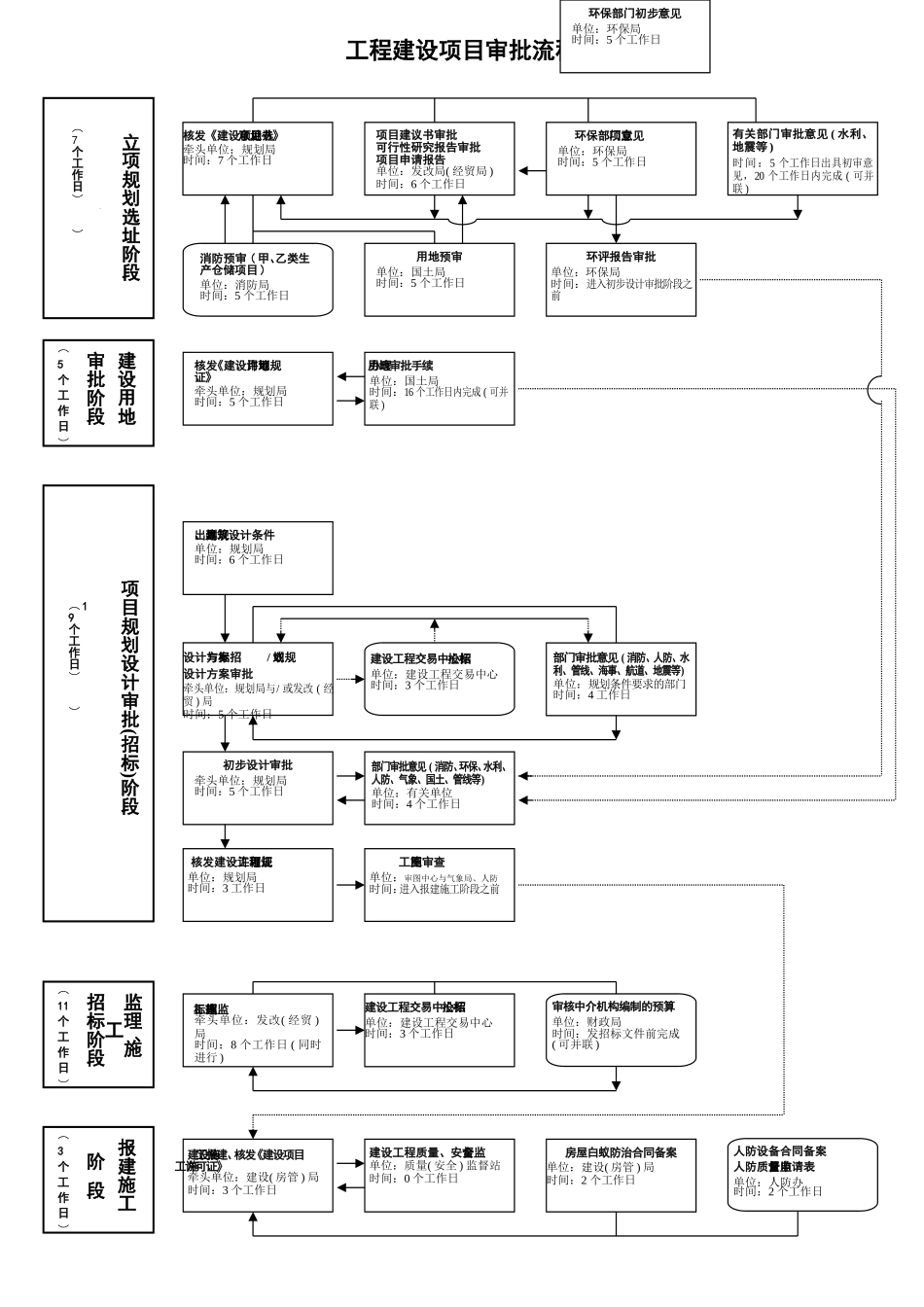
工程建设项目审批流程图立项规划选址阶段(︵7个工作日︶︶监理、施工招标阶段︵11个工作日︶核发《建设项目选址意见书》牵头单位:规划局时间:7个工作日项目建议书审批可行性研究报告审批项目申请报告单位:发改局(经贸局)时间:6个工作日有关部门审批意见(水利、地震等)时间:5个工作日出具初审意见,20个工作日内完成(可并联)消防预审(甲、乙类生产仓储项目)单位:消防局时间:5个工作日环保部门立项意见单位:环保局时间:5个工作日用地预审单位:国土局时间:5个工作日环评报告审批单位:环保局时间:进入初步设计审批阶段之前核发《建设用地规划许可证》牵头单位:规划局时间:5个工作日出具规划、建筑设计条件单位:规划局时间:6个工作日项目规划设计审批(招标)阶段︵19个工作日︶︶设计方案招标与/或规划设计方案审批牵头单位:规划局与/或发改(经贸)局时间:5个工作日建设工程交易中心招投标单位:建设工程交易中心时间:3个工作日部门审批意见(消防、人防、水利、管线、海事、航道、地震等)单位:规划条件要求的部门时间:4工作日监理、施工招标牵头单位:发改(经贸)局时间:8个工作日(同时进行)部门审批意见(消防、环保、水利、人防、气象、国土、管线等)单位:有关单位时间:4个工作日初步设计审批牵头单位:规划局时间:5个工作日核发建设工程规划许可证单位:规划局时间:3工作日办理用地审批手续单位:国土局时间:16个工作日内完成(可并联)建设用地审批阶段︵5个工作日︶环保部门初步意见单位:环保局时间:5个工作日建设工程交易中心招投标单位:建设工程交易中心时间:3个工作日审核中介机构编制的预算单位:财政局时间:发招标文件前完成(可并联)报建施工阶段︵3个工作日︶建设施工报建、核发《建设项目施工许可证》牵头单位:建设(房管)局时间:3个工作日施工图审查单位:审图中心与气象局、人防时间:进入报建施工阶段之前房屋白蚁防治合同备案单位:建设(房管)局时间:2个工作日7建设工程质量、安全监督单位:质量(安全)监督站时间:0个工作日人防设备合同备案人防质量监督申请表单位:人防办时间:2个工作日工程建设项目审批流程操作说明工程建设项目审批流程分为立项规划选址、建设用地审批、项目建设招标(审批)、监理施工招标和报建施工五个阶段。每个阶段,都由牵头部门先受理审批业务,并指引申办人到其他联办部门办理相关的审批手续。办理结果最后由牵头部门集中答复申办人(立项规划选址阶段除外)。申办人办理报建的具体操作步骤如下:第一阶段:立项规划选址阶段一、到规划局(牵头部门)窗口办理《建设项目选址意见书》的审批:(一)提交办理《建设项目选址意见书》所需材料,并领取签收《审批跟踪监督卡》(以下简称《监督卡》)。(二)凭《监督卡》分别到发改局、环保局、消防局、国土局等联办部门窗口提交相关审批材料,并在《监督卡》上签名确认。(三)将全部联办部门窗口已签收确认的《监督卡》送回规划局窗口。(四)到规划局窗口领取和签收《建设项目选址意见书》以及《监督卡》等有关材料,办理承诺时限为7个工作日。二、到发改局(牵头部门)窗口办理建设项目立项审批(项目不需要办理《建设项目选址意见书》的,由发改局牵头)。(一)以登记备案方式立项的项目1.提交办理《企业投资项目登记备案》所需材料,并领取《监督卡》。2.到发改局窗口领取审批结果,并在《监督卡》上签名确认,办理承诺时限为5个工作日。(二)以其他方式立项的项目1.提交办理《项目建议书》或《可行性研究报告》所需材料,并领取签收《监督卡》。2.凭《监督卡》分别到环保、国土、规划等联办部门窗口提交相关审批资料,并在《监督卡》上签名确认。3.将全部联办部门窗口已经签收确认的《监督卡》送回发改局窗口。4.到发改窗口领取和签收立项意见,办理承诺时限为6个工作日。说明:1、整个审批流程为45个工作日。2、圆角矩形是可选过程;虚线是指审批可跨阶段完成。3、以上流程属市、区审批权限项目,如报省审批项目,无时间承诺。第二阶段:建设用地审批阶段到规划局窗口(牵头部门)办理用地审批:(一)提交办理《建设用地规划许可证》的所需材...

1、当您付费下载文档后,您只拥有了使用权限,并不意味着购买了版权,文档只能用于自身使用,不得用于其他商业用途(如 [转卖]进行直接盈利或[编辑后售卖]进行间接盈利)。
2、本站所有内容均由合作方或网友上传,本站不对文档的完整性、权威性及其观点立场正确性做任何保证或承诺!文档内容仅供研究参考,付费前请自行鉴别。
3、如文档内容存在违规,或者侵犯商业秘密、侵犯著作权等,请点击“违规举报”。

碎片内容

工程建设项目审批流程图

您可能关注的文档

确认删除?
VIP
微信客服
  • 扫码咨询
会员Q群
  • 会员专属群点击这里加入QQ群
客服邮箱
回到顶部