电脑桌面
添加小米粒文库到电脑桌面
安装后可以在桌面快捷访问

新产品测试流程VIP免费

新产品测试流程_第1页
1/7
新产品测试流程_第2页
2/7
新产品测试流程_第3页
3/7
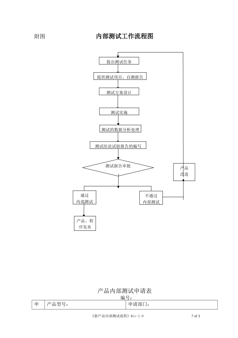
新产品内部测试工作程序1目的内部测试是公司为分析、评价、验证新产品质量和可靠性的一种手段和方法。其作用是通过对测试结果的统计分析,对产品的性能指标、环境适应性以及产品的可靠性进行评价,找出其薄弱环节,提出改进措施,以提高产品的可靠性和稳定性。原则上未经测试课测试的产品和程序不能出厂。2适用范围本程序适用于公司新产品的内部测试工作。3职责新产品内部测试工作由测试课承担并负责实施。4工作程序内部测试工作流程图见附图4.1提出测试任务测试申请由产品经理或研发提出,需填写《产品内部测试申请表》(见表1)。测试课按测试申请表完成测试任务,测试申请表勾选的技术资料需一并提供。4.2提供测试项目产品经理或研发提供测试项目和测试要求及指标,研发需提供自测报告。4.3测试方案设计根据产品开发目标、目的和指标,参考有关国家标准和企业产品标准(技术条件)及其他有关背景资料,进行测试方案设计,其主要内容应包括以下几大项:a)明确测试目的b)确定测试项目及要求c)安排测试顺序d)确定测试条件e)确定测试方法及参数测试方法f)确定测试设备和试验测试仪器g)确定数据处理方法《新产品内部测试流程》Rev-1.07of14.4实施测试按测试计划进行测试,若与计划项目有变化则在报告中说明。测试过程中,测试人员应详细做好测试记录。4.5测试数据的分析处理测试完成后,测试人员应给出测试结论。4.6测试结论试验报告的编写按测试报告模板编写测试报告。4.6.1测试结论测试结论是将样机内部测试数据与测试规格对照后所得出的合格与否结论,测试结论应明确地表明样机各项指标达标项和未达标项并将指标不合格项逐条列出。包括:a)反映产品外观、结构等质量状况的测试结果b)反映产品性能指标等内在质量测试结果c)产品在极限的情况下的适应性和自我保护性能4.7测试报告审批测试报告需经测试课人员确认,测试课课长审核,然后给到产品经理审批,依据样机内部测试情况,做出样机是否通过内部测试决定,并发布测试报告。4.8注意事项4.8.1以验证产品的设计质量为目标,从公司现有条件及经济性、实用性考虑选取测试项目。4.8.2采用的测试条件尽可能模拟现场使用条件,现场试验可以是用户使用的实际情况反映,也可以在生产装配现场进行。4.8.3选择的测试数量要得到保证。4.8.4为保证试验结果的可靠性,必须对测试方案和计划作周密而实际的安排,对测试工具与测试仪器也应有一定的精确度要求。4.8.5可靠性试验原则上选择功能试验和环境试验合格后的产品进行,样机进行可靠性试验后,应对失效或接近失效的元器件进行更换,并经检验才能对样机处理。4.8.6测试课在测试过程中缺少测试仪器和资料的由测试申请人提供。《新产品内部测试流程》Rev-1.07of2附图内部测试工作流程图产品内部测试申请表编号:申产品型号:申请部门:《新产品内部测试流程》Rev-1.07of3提出测试任务提供测试项目、自测报告测试方案设计测试实施测试的数据分析处理测试结论试验报告的编写测试报告审批通过内部测试不通过内部测试产品改进产品、程序发布请项目名称:部门负责人:(签名)申请日期:产品经理:(签名)文件提交:□技术规格确认书□使用说明书□研发自测报告□产品规格书□其它备注:样机测试需求简述:样机状况、台数简述:申请人:审批测试人:批准人:《新产品内部测试流程》Rev-1.07of4测试报告模板测试报告产品名称:测试时间:测试人员:测试环境:对应项目:《新产品内部测试流程》Rev-1.07of5测试:校核:批准:《新产品内部测试流程》Rev-1.07of6测试项测试结果测试项测试结果11223344556677889910101111整机测试结论:测试项1:测试内容测试方法测试工具测试结果备注A路B路123456789101112131415161718测试:校核:批准:《新产品内部测试流程》Rev-1.07of7

1、当您付费下载文档后,您只拥有了使用权限,并不意味着购买了版权,文档只能用于自身使用,不得用于其他商业用途(如 [转卖]进行直接盈利或[编辑后售卖]进行间接盈利)。
2、本站所有内容均由合作方或网友上传,本站不对文档的完整性、权威性及其观点立场正确性做任何保证或承诺!文档内容仅供研究参考,付费前请自行鉴别。
3、如文档内容存在违规,或者侵犯商业秘密、侵犯著作权等,请点击“违规举报”。

碎片内容

新产品测试流程

您可能关注的文档

确认删除?
VIP
微信客服
  • 扫码咨询
会员Q群
  • 会员专属群点击这里加入QQ群
客服邮箱
回到顶部