电脑桌面
添加小米粒文库到电脑桌面
安装后可以在桌面快捷访问

湖南省宽带多媒体通信网工程文档VIP免费

湖南省宽带多媒体通信网工程文档_第1页
1/10
湖南省宽带多媒体通信网工程文档_第2页
2/10
湖南省宽带多媒体通信网工程文档_第3页
3/10
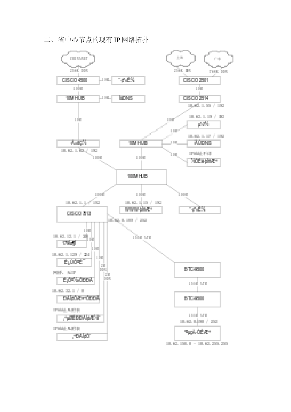
湖南省宽带多媒体通信网BTC-9500 IP 系统应用方案一、湖南省宽带多媒体通信网 BTC-9500 系统现有配置湖南省宽带多媒体通信网中共有两台 BTC-9500 ATM 交换机,分别放置于省中心局和长沙市局。省中心局配置了三块接口板,分别是一块 ATM 接口板(槽 0),一块 IPE 接口板(槽 2),一块 IPA 接口板(槽 4)。长沙市局配置了两块接口板,分别是一块 ATM 接口板(槽 0),一块 IPE 接口板(槽 2)。两交换机均以端口 0 作为中继端口,以端口 1 作为路由器的连接端口。网管终端所接的端口是省中心交换机的端口 3。省中心局 ATM 接口板端口依次为 STM-1 单模、STM-1 单模、E1 电路仿真、STM-1 多模;长沙市局 ATM 接口板端口依次为 STM-1 单模、STM-1 单模、STM-1 单模、E3。两交换机的 IPE 接口板端口均是两电口两光口。二、省中心节点的现有 IP 网络拓扑Cisco 7513 第一个 E1 口 DDN 时隙表序号单位广域口网址局域口网址专线号1人行科技处10.62.0.9/25210.62.11.0/2402省新闻出版局10.62.0.25/25210.62.13.0/24010053593万事通10.62.0.5/25210.62.10.12810051404省证券交易中心网桥10051425经济干部学院10.62.0.13/25210.62.11.128/24010052066省证券10.62.0.17/25210.62.12.128/24010065077儿童医院10.62.0.53/25210.62.17.0/24010053348新华社供稿中心10.62.0.21/25210.62.13.0/24010053539阿波罗10.62.0.33/25210.62.14.128/240100534810湘财西厅10.62.0.61/25210.62.21.0/240100541011湘财南厅10.62.0.65/25210.62.21.128/240100540912苏博泰克10.62.0.57/25210.62.18.0/240100534613国讯网络10.62.0.1/25210.62.10.0/240100049914师大附中10.62.0.49/25210.62.16.128/240100535415市一中10.62.0.73/25210.62.22.128/240100534217省职业介绍中心10.62.0.29/25210.62.14.0/240100533918永州10.62.130.1/25210.62.132.0/240100540019卫生防疫站10.62.0.41/25210.62.15.128/240100536120妇幼保健院10.62.0.45/25210.62.16.0/240100533721九芝堂10.62.0.69/25210.62.22.0/240100534322电力院10.62.0.37/25210.62.15.0/128100533823华天讯业10.62.0.77/25210.62.23.0/240100541524金卡中心10.62.0.81/25210.62.23.128/240100544025申银万国10.62.0.85/25210.62.24.0/240100548926常德信息港10.62.151.1/25227湖南大学10.62.0.89/25210.62.24.128/24028湘雅医院10.62.0.93/25210.62.25.0/24029十三中...

1、当您付费下载文档后,您只拥有了使用权限,并不意味着购买了版权,文档只能用于自身使用,不得用于其他商业用途(如 [转卖]进行直接盈利或[编辑后售卖]进行间接盈利)。
2、本站所有内容均由合作方或网友上传,本站不对文档的完整性、权威性及其观点立场正确性做任何保证或承诺!文档内容仅供研究参考,付费前请自行鉴别。
3、如文档内容存在违规,或者侵犯商业秘密、侵犯著作权等,请点击“违规举报”。

碎片内容

湖南省宽带多媒体通信网工程文档

确认删除?
VIP
微信客服
  • 扫码咨询
会员Q群
  • 会员专属群点击这里加入QQ群
客服邮箱
回到顶部