拖动LOGO至书签栏,立即收藏小米粒文库
首页
党建公文
汇报报告
综合大类
党性分析
乡村振兴
意识形态
调查研究
党建工作
思想汇报
剖析整改
典型案例
换届选举
自我评价
主题教育
先进事迹
述职述廉
自查报告
通知报告
心得体会
综合大类
经验交流
观后感
读后感
学习体会
主题教育
教育整顿
总结计划
综合大类
工作计划
安全生产
教育整顿
主题教育
意识形态
党建工作
党风廉政
年终总结
季度半年
讲话发言
讲话稿
发言稿
演讲稿
主持词
致辞
党课讲稿
教育整顿
主题教育
廉政建设
慰问信
竞职竞聘
研讨材料
表彰大会
任职表态
安全生产
灾害防治
金融会议
组织生活
对照检查
批评意见
方案报告
讲话发言
谈心谈话
主持词
小米粒公文
NEW
电脑桌面
添加小米粒文库到电脑桌面
安装后可以在桌面快捷访问
立即添加
上传文档
开通会员
限时优惠
充值
登录 | 注册
范哲铺
个人创作者
实名认证
内容提供者
想你所想,急你所急,你需要的都在店铺里可以找到。
关注
收藏
海报
分享
微信扫码分享
或点击分享到
QQ空间
QQ好友
新浪微博
首页
文档
文章
资料
文档
19P
分公司管理细则
168
5P
分公司竞聘岗位设置及职责
134
7P
分公司承包合同样本
66
16P
分公司岗位及部门职责
135
2P
分公司合作经营协议书81039
189
10P
分公司内部承包协议61748
135
2P
分公司与总公司合作协议14884
173
9P
分体空调施工方案66804
107
3P
分体式空调氟利昂泄漏的危害及应急处置1
191
9P
分享客服管理制度
167
4P
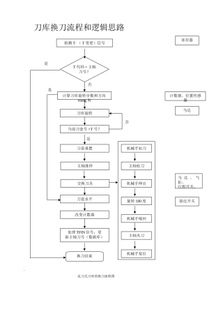
刀库换刀流程和逻辑思路
141
14P
凿井施工组织设计
157
首页
上页
47
48
49
50
51
下页
尾页
0
粉丝
0
关注
0
收藏
52
人气
阅读排行
军校整体搬迁方案
放飞梦想的舞台原文
2024年晋升将军名单
基督教复活节祷告词
社区矫正人员每月思想汇报3篇
社区慰问金发放方案
《楞严咒》全文拼音版
山东事业编职级并行细则
给孩子退队的一封信少先队退队仪式家长寄语
九年级上册《孤独之旅》课文原文
确认删除?
VIP
微信客服
扫码咨询
会员Q群
会员专属群
客服邮箱
客服邮箱
help@xiaomilidoc.cn
回到顶部