电脑桌面
添加小米粒文库到电脑桌面
安装后可以在桌面快捷访问

刀库换刀流程和逻辑思路

刀库换刀流程和逻辑思路_第1页
1/4
刀库换刀流程和逻辑思路_第2页
2/4
刀库换刀流程和逻辑思路_第3页
3/4
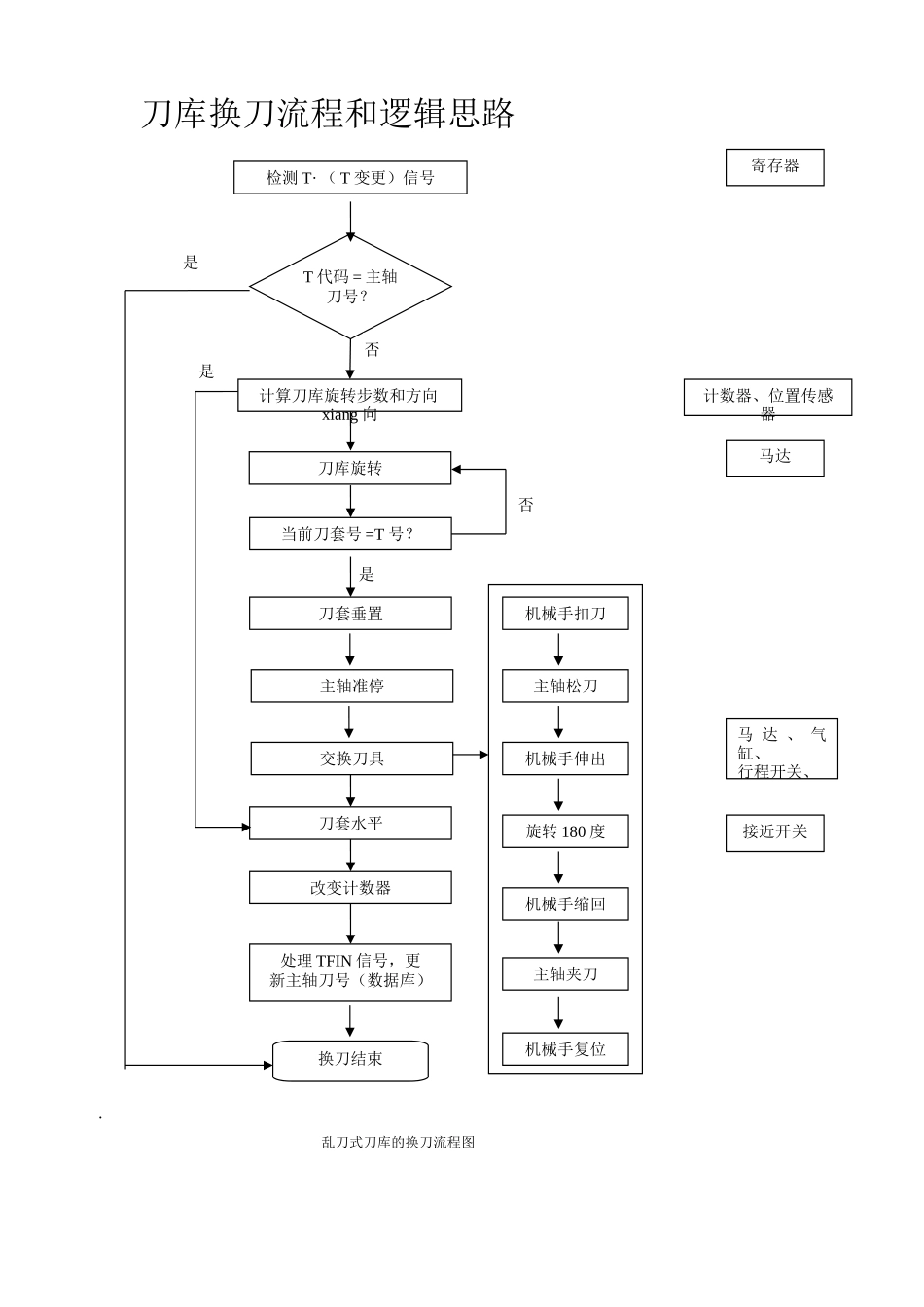
刀库换刀流程和逻辑思路· 乱刀式刀库的换刀流程图检测 T· ( T 变更)信号T 代码 = 主轴刀号?否是是刀库旋转当前刀套号 =T 号?刀套垂置是刀套水平否改变计数器处理 TFIN 信号,更新主轴刀号(数据库)换刀结束计算刀库旋转步数和方向xiang 向寄存器计数器、位置传感器马达马 达 、 气缸、行程开关、接近开关机械手扣刀主轴准停交换刀具机械手伸出主轴松刀旋转 180 度机械手缩回主轴夹刀机械手复位 固定式刀库的换刀流程图固定式刀库换刀过程分解:固定式刀库换刀动作可分为三个,即取刀、还刀和换刀。由于采纳固定刀位管理方式,刀具的交换实际上是还刀和取刀这两个动作。(斗笠式刀库控制约定:1.斗笠式刀库采纳固定刀位,即刀套号就是刀具号;2.取刀时,刀库就近找刀)① 取刀检测 T· ( T 变更)信号T 代码 = 主轴刀号?否主轴刀号=0 ?否是是刀库旋转当前刀套号 = 主轴刀号?还刀回库是刀库旋转否当前刀套号 = 所需刀号?停止旋转,扣刀上主轴是否处理 TFIN 信号,更新主轴刀号数据库换刀结束T0 ?是否现状:主轴上无刀具编程:M06 T*刀库动作描述:② 还刀现状:主轴上有刀具编程:M06 T0刀库动作描述:③ 换刀现状:主轴上有刀具编程:M06 T*刀库动作描述:刀具交换的过程,就是还刀加上取刀的过程。固定式刀库自动换刀装置电气控制电气控制电路包括接强电电路和 PMC 控制电路两部分。下图所示为接触器控制电路。主电路由空气开关 QF、KM1 主触点、KM2 主触点、三相异步沟通电机 M 等组成。控制电路中中间继电器KA1 与 KA2 分别控制接触器 KM1 和 KM2 的线圈,控制刀库电机 M 的正反转和停机制动。实现刀具的选择从而达到精确选刀的目的。电动刀库电气控制线路图四、固定式刀库自动换刀装置的 PMC 控制 PMC 控制包括硬件控制和软件控制两方面。硬件控制包括输入信号的接入和输出信号的控制。下图所示为电 动 刀 库 PMC 接 线 图 . 在 此 例 应 用 中 , 传 感 器 信 号 分 别 接 在X2.0、X2.1 输入端口,而控制正反转接触器 KM1、KM2 的中间继电器的线圈分别由 Y50。1、Y50.2 控制。电动刀库 PMC 接线图 图 6 刀库旋转逻辑梯形图例如,加工中心在执行 M06T1 换刀指刀令时的换刀结果是:刀库中的 T1 刀装放轴. (1)DSCH 功能指令(检索功能)当 CNC 读到 T1 指令代码信号时,将此信号信息送入 PMC。当 PMC 接到寻找新刀具...

1、当您付费下载文档后,您只拥有了使用权限,并不意味着购买了版权,文档只能用于自身使用,不得用于其他商业用途(如 [转卖]进行直接盈利或[编辑后售卖]进行间接盈利)。
2、本站所有内容均由合作方或网友上传,本站不对文档的完整性、权威性及其观点立场正确性做任何保证或承诺!文档内容仅供研究参考,付费前请自行鉴别。
3、如文档内容存在违规,或者侵犯商业秘密、侵犯著作权等,请点击“违规举报”。

碎片内容

刀库换刀流程和逻辑思路

您可能关注的文档

确认删除?
VIP
微信客服
  • 扫码咨询
会员Q群
  • 会员专属群点击这里加入QQ群
客服邮箱
回到顶部