精品文档---下载后可任意编辑一种同轴式凸轮连杆组合分度机构的设计与讨论的开题报告开题报告题目:一种同轴式凸轮连杆组合分度机构的设计...
精品文档---下载后可任意编辑RSSR 空间连杆四轴联动电动舵机讨论的开题报告一、讨论背景及意义随着机器人技术的不断进展,四轴联动电动舵...
精品文档---下载后可任意编辑基于 Pro/M 下的连杆结构分析及其性能优化设计的开题报告题目:基于 Pro/M 下的连杆结构分析及其性能优化...
精品文档---下载后可任意编辑HR 公司涨断连杆锻件质量控制讨论的开题报告一、选题背景HR 公司是一家专业生产涨断连杆锻件的制造商,产品...
广东技术师范学院天河学院 汽车制造工艺学 课程设计说明书 课题: 姓 名: 学 号: 班 级: 指导教师: 二〇 年 月 汽车制造...
第一章 连杆加工工艺 1 .1 连杆的结构特点 连杆是汽车发动机中的主要传动部件之一,它在柴油机中,把作用于活塞顶面的膨胀的压力传递...
精品文档---下载后可任意编辑4V-105 柴油机连杆有限元分析与优化设计的开题报告题目:4V-105 柴油机连杆有限元分析与优化设计的开题报告...
第 1 页下载后可任意编辑机械设计 2024—2024 学年大作业 设计题目:四连杆式门座起重机 工作机构设计 姓 名: 李 瑞 学 号:...
3.3 活塞的创建 1. 进入软件,拉伸活塞本体 在桌面双击 图标(CATIA),或者从[开始] →[程序]中点击CATIA 软件,进入 CATIA 软件...
CATIA 运动分析 16.1 曲轴连杆运动分析 四缸发动机曲轴、连杆和活塞的运动分析是较复杂的机械运动。曲轴做旋转运动,连杆左做平动,活...
活 塞 连 杆 组 试 题 库 一 、 填 空 题 1. 活 塞 连 杆 组 由 ( 活 塞 )、( 活 塞 环 )、( 活 塞 ...
下载后可任意编辑连杆质量策划方案背景连杆是一种机械传动件,广泛应用于工业、农业和交通领域。连杆的工作质量直接影响到机械设备的可靠性...
附件一: 40t-45m 四连杆门座起重机货物需求及技术规格书1. 供货范围本招标项目下的供货范围是向********分公司提供2台40t-45m门座起重机...
下载后可任意编辑连杆项目可行性讨论报告下载后可任意编辑目录概论.......................................................................
机械安装与维修系项目连杆总成装配- 1 - 项目连杆总成装配【教学目的】剖分式轴承的结构由轴承座、上轴瓦、下轴瓦、轴承盖、双头螺柱、...
1 绪论对于连杆双端面铣削, 我们一般采用组合机床, 在保证连杆加工精度的基础上,以达到大批量的生产,减少连杆加工时间,从而达到缩...
附件机械加工工艺卡片产品型号零件图号产品名称零件名称拖垃机连杆共 21 页第 1 页车间工序号工序名称材料牌号金工铣两端面45#毛坯种类...
此套设计有全套CAD 图和卡片,有意者请联系我索取 522192623@qq.com摘要本次课程设计详细阐述了对连杆端面10mm 槽的专用铣床夹具设计,...
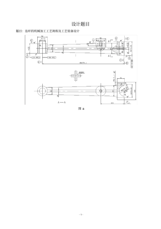
- 1 - 设计题目题目:连杆的机械加工工艺规程及工艺装备设计图 a - 2 - 一、零件的分析 1. 零件的工艺分析连杆的加工表面主要有...
本 科 毕 业 设 计 开 题 报 告题目 4125A 柴油机连杆加工工艺及铣削小头孔端面夹具设计学生姓名所在院(系) 机械设计制造及其...

