广州动物园游乐场铺装改造工程招标文件招标文件招 标 单 位:广州动物园招标代理单位:广州市云兴建设工程监理有限公司日 期: 2025 ...
浅谈生态透水材料在园路铺装中的应用浅谈生态透水材料在园路铺装中的应用 摘 要:针对目前硬质路面存在的问题,综合了解国内外在生态透水...
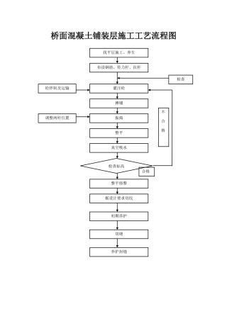
桥面混凝土铺装层施工工艺流程图找平层施工、养生布设钢筋、传力杆、拉杆调整两杆位置初期养护切缝养护封缝灌注砼据设计要求切纹摊铺振捣整...
桥 面 混 凝 土 铺 装 施 工 工 艺 流 程 图
桥面铺装层破坏原因及预防措施桥面铺装层破坏原因及预防措施 中图分类号:U655.4 文献标识码: A 文章编号: 摘要:现代我国公路运输...
公路桥面铺装自检表桥涵表 40 合同段工程名称桩号或部位检查日期跨孔编号左(右)幅第 孔混凝土强度等级跨 径 m横断面位 置检 查 ...
1.15 桥面混凝土铺装层施工1.15.1 适用范围适用于公路及城市桥梁工程中桥面混凝土铺装层的施工。1.15.2 施工准备1.15.2.1 技术准备1. ...
技 术 交 底 记 录表 C2-1资料编号项目名称未名生物药业产业园一期南区 A 楼 3-6 层改造工程交底日期2025 年 3 月 11日分项...
地暖地板铺装 10 项注意 1.一定要找具备地暖专业知识的施工队伍。“三分地板,七分安装”,业余装修队铺出的效果不言而喻。 2.铺装前必...
园林铺装工程主要是园路铺装,园林铺装工程的好坏直接关系到整个园林工程的效果。为此,我们要加强施工力量、加大施工质量监督力度,严格根...
公路桥面铺装破坏原因及预防措施公路桥面铺装破坏原因及预防措施 摘要:公路桥面铺装种类较多,无论是水泥砼复合桥面、钢结构复合桥面,还...
**投资区**路、**路、**大道二期人行道铺装及道路绿化工程招 标 文 件招标编号:**招标人: ** 投资区开发建设有限公司 (盖章) 招标...
龙岗中心城新建成道路绿化提升工程监 理 规 划编 制: 审 核: 审 批: 深圳昊源建设监理有限公司 2025年11月目 录 一、工程概...
目 录1 、 编 制 说 明 .......................................................................................31.1 、 编 ...
工程编号:合同编号:xxxxx林业园林园合字[2025] 号广 东 省 建 设 工 程 标 准 施 工 合 同 工程名称:广州动物园游乐场铺...
重庆路快速路工程露骨料透水混凝土人行道铺装施工技术 编制单位: 编制时间: 一、露骨料透水混凝土简介:露骨料透水混凝土:它是一种多...
奉贤区公路管理所环城东路绿化整治工程道路两侧景观改造工程施工方案编制单位:上海振薇环境艺术设计工程有限公司编制日期:2 017 年 1 ...
桥面铺装病害检测与加固摘要以京石高速公路 4 路桥梁桥面铺装出现的病害情况为依据,论述桥面铺装病害的检测方法并分析病害产生原因,提...
G310 洛阳市境(新安段)改建工程桥 面 铺 装 防 水 层施工技术方案山东天诚市政公路工程有限公司二 0 一五年十月桥面铺装防水层...
施工组织设计/方案报审表工程名称: 南通市 长江中路高架 工程 A 标段 编号: A3.3 -- 致: 江苏华宁交通工程咨询监理公司 (监...

