分部工程、单位工程验收程序3 分部工程验收 3.0。1 分部工程验收应由项目法人(或委托监理单位)主持。验收工作组由项目法人、勘测、设计...
分部工程验收记录工程名称简阳市禾丰镇初级中学校舍维修加固操场改建项目结 构 类 型层数/规模施工单位四川湖辉建筑工程有限公司技术部...
分部分项验收管理办法一、分部分项分作业段验收执行 分项工程按国家标准划分,可按作业段分批报验。分项工程的质量检验经施工单位自检合格...
分部工程质量验收记录 工程名称结构类型层 数施工单位技术部门负责人质量部门负责人分包单位分包单位负责人分包技术负责人序号子分部工程...
建筑工程 D—5—2分项、分部工程质量验收证明书单 位 工 程 名 称:建造菊园生产性服务用房 ( 财智金岸企业 园一期 )2 #楼 建...
分部分项工程报验申请表项目名称:验收部位:申请验收内容: 申请人:施工班组验收意见: 年 月 日施工单位验收意见: 年 月 日监理单位...
地基与基础分部工程质量验收记录 TJ4。1.0工程名称结构类型层数施工单位技术部门负责人质量部门负责人分包单位分包单位负责人分包技术负责...
分项工程质量检验记录工程名称潘山启动区市政支一路分项工程名称沟槽开挖施工单位福建省共创建设进展有限公司项目经理郑泽鸿检验批数 13技...
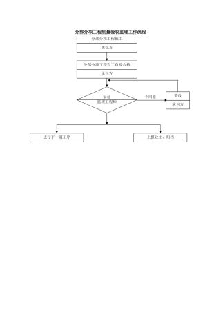
分部分项工程质量验收监理工作流程不同意分部分项工程施工承包方承包方分部分项工程完工自检合格上报业主、归档进行下一道工序审核监理工程...
分部分项工程监理控制要点及验收程序一、施工准备阶段 (一)、施工控制要点 1、报送企业资质证书及人员资格证书给监理审查。 2、仔细熟...
分户验收设计推算值统计表工程名称:都江·青城外滩住宅小区 房号G1 户型建设单位四川攀西房地产开发有限公司施工单位成都光大建设集团有...
通州区半壁店大街 25 号住宅项目Ⅲ标段分户验收施工方案编制单位: 中天四建通州区半壁店大街 25 号住宅项目Ⅲ标段项目部编 制 人:...
分户验收方案与要求为保证碧桂园住宅项目工程质量,进一步加强工程质量责任和责任追究制度的落实,提升工程质量水平,提高住户对住宅工程质...
分户验收管理制度一、目的为进一步加强项目的工程质量管控,提升工程品质,强化各工程责任人的质量意识,有效降低客户投诉率,确保项目工程...
巴南区龙洲南苑公租房五组团工程分户验收专项施工方案编制:复核:审核:中铁八局集团第一工程有限公司龙洲南苑公租房五组团工程项目经理部2...
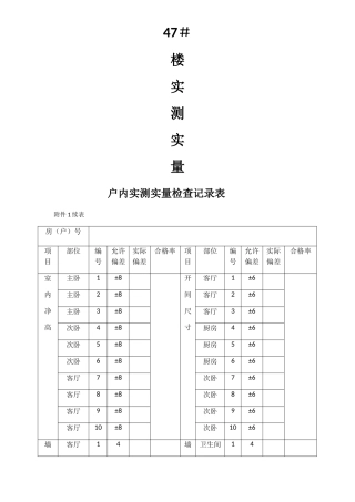
47#楼实测实量户内实测实量检查记录表附件 1 续表房(户)号项目部位编号允许偏差实际偏差合格率项目部位编号允许偏差实际偏差合格率室...
目录1. 编制依据.....................................................................................................................
分户验收实测数据表 栋 单元 房号/户型房间名称开 间 尺 寸进 深 尺 寸净 高 尺 寸设计尺寸实测尺寸设计尺寸实测尺寸设计尺寸...
光伏电站电气工程质量验收及评定范围表工程编号工程项目名称性质质检机构验评范围单位工程子单位工程分部工程分项工程施工单位监理单位业主...
分布式光伏发电系统验收和调试报告项目编号项目名称项目地址联系人联系电话项目装机规模并网电压工程完工时间验收日期验收当日天气状况验收...

