S3C2440系统中断 1.1 S3C2440系统中断 CPU 和外设构成了计算机系统,CPU 和外设之间通过总线进行连接,用于数据通信和控制,CPU 管理...
S3C2440按键中断驱动程序的设计
S3C2410 中断处理 在介绍2410 的中断处理之前,我们不得不先看看先把ARM 的异常向量表(Exception Vectors),下面对异常向量表(Exce...
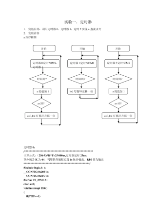
实验一:定时器 1. 实验目的:利用定时器0,定时器1,定时2 实现4 盏流水灯 2. 实验内容 a,程序框图 定时器0: /****************...
PIC32单片机中断
无锡盛迈克传感技术有限公司 生产中断重启控制程序 文件编号: SMC-QP-039 版 本: A 版 页 次:1/6 编 制: 周应安 审 核: 陆...
诉讼时效中断的司法认定(下) 三、四大金融资产管理公司以外的债权人,在全国性媒体上,或者在债务人所在地报纸等媒体上刊登公告,催促债务...
电厂营业中断保险条款总则第一条 本保险合同由保险条款、投保单、保险单或其他保险凭证以及批单组成。凡涉及本保险合同的约定,均应采用书...
“创新中断语文家庭作业设计,减轻学生课业负担”课题开题报告一、课题的由来(一)课题的背景作为教学过程重要环节之一的家庭作业,是落实...
《中断系统》《中断系统》 教材分析 教材分析 学情分析 学情分析 教学方法与手段 教学方法与手段 教学过程 教学过程 ...
【摘 要】可中断负荷管理是电力市场环境下需求侧管理的一项重要组成部分,可以刺激和鼓励用户改变消费行为和用电方式,达到削峰填谷改变负...
下载后可任意编辑厂用电中断应急预案与厉行节约反对浪费实施方案汇编厂用电中断应急预案1总则1.1编制目的提高公司值班人员处置厂用电中断时...
下载后可任意编辑厂用电中断应急预案与厉行节约反对浪费专项整治方案汇编厂用电中断应急预案1总则1.1编制目的提高公司值班人员处置厂用电中...
1/6编号:Q/QL—YJYL—03青铜峡铝业发电有限责任公司全厂压缩空气中断事故应急预案演练方案批准:郝川初审:刘建忠编写:杜立新青铝发电有...
交通中断应急预案(2.00版)第一章总则第一条编制目的为了提高前程远大有限公司对交通中断的应急响应和处理能力,在发生交通中断的情况下,能...
诉讼时效中断制度的完善透析摘要。诉讼时效中断制度作为诉讼时效的障碍机制,是协调当事人之间权利义务关系不可或缺的重要保障。然而,在诉...
轻松学会DSP——中断和流水线课件目录CONTENTS•DSP简介•DSP中断•DSP流水线•DSP中断与流水线的结合应用•实践案例分析01DSP简介数字信号...
实验三:外部中断实验【实验目的】掌握lpc2000系列arm处理器的中断处理工作原理掌握外部中断的寄存器设置掌握中断服务程序的在Keil下的编程...
实用标准文案精彩文档简述51系列单片机中断响应的条件。●有中断源发出中断请求;●中断总允许位EA=1,即CPU开中断;●申请中断的中断源的...
凌阳单片机中断及定时器的应用课件•凌阳单片机简介•中断系统介绍•定时器介绍•中断与定时器的应用实例•常见问题与解决方案01凌阳单片机...

