有限空间审批制度1.目的和适用范围:为加强有限空间作业安全管理,预防、控制中毒窒息等生产安全事故发生,切实保护从业人员的生命安全,结...
某某煤矿安全技术审批制度各单位、科室:为加强矿井技术基础工作,规范安全技术审批行为,实现矿井安全技术的编制、审批,流程化、规范化、...
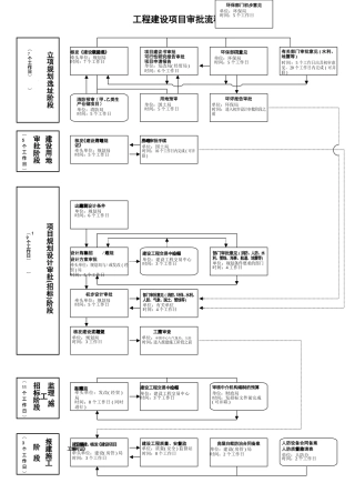
工程建设项目审批流程图立项规划选址阶段(︵7个工作日︶︶监理、施工招标阶段︵11个工作日︶核发《建设项目选址意见书》牵头单位:规划局...
有限空间作业审批制度泽州县凯达铸造厂1目的为保证公司有限空间作业规范化、制度化、常态化。进一步加强有限空间作业的审批工作,根据公司...
一、资金管理总体流程图①②③二、资金计划流程①②③项目名称说明1、月度资金计划各部门根据工作内容,编制下月资金计划2、汇总计划财务根...
财务费用报销制度及实施细则为规范公司各种开支费用报销及付款程序,加强公司财务管理,控制成本,切实保障公司利益,根据《资金审批制度》...
工程建设项目审批流程图立项规划选址阶段(︵7个工作日︶︶监理、施工招标阶段︵11个工作日︶核发《建设项目选址意见书》牵头单位:规划局...
XX股份有限公司审批权限管理制度为便于公司各业务人员办理合同和款项支付审批手续,现对各类业务合同和款项支付的审批权限,作如下规定。一...
1互联网药品交易服务审批暂行规定目录互联网药品交易服务审批暂行规定......................................................2学习辅导.....
20×20乡镇建房审批管理情况汇报县委政府督查办公室:我乡接到《关于规范村镇建房审批管理工作的通知》后,乡领导高度重视,认真组织学习,...
下载后可任意编辑住建局审批服务处工作总结与住建局局长述责述廉述法报告汇编住建局审批服务处工作总结一、建立完善工作制度,全面提升审批...
仅供参考[整理]第1页共4页安全管理文书临时电源接线审批制度日期:__________________单位:__________________仅供参考[整理]第2页共4页临...
仅供参考[整理]第1页共5页安全管理文书临时用电审批制度日期:__________________单位:__________________仅供参考[整理]第2页共5页临时用...
财务审批制度总论为加强公司财务管理工作,有效控制成本支出,奉行开源节流的财务原则,根据有关规定,结合本公司实际情况,特制订本制度,...
财务审批权限规定1、目的:加强财务审批权限管理,规范财务审批程序,提高工作效率。2、使用范围:集团内各公司。3、费用支出:3.1实行部门...
处方权审批管理制度为了认真贯彻执行《执业医师法》、《处方管理办法》、《抗菌药物临床应用管理办法》、《麻醉药品和精神药品管理条例》等...
公司财务管理审批制度及流程一、采购付款审批制度流程〈一〉为加强财务管理,节约费用开支,提高公司经济效益,特制定采购付款审批制度流程...
财务收支审批制度为了进一步明确财务责任,落实权责一致的原则,加强内部管理;同时,为了保证会计工作有序进行,加强会计基础工作,根据《...
财务支出审批制度第一章总则第一条为加强公司财务支出管理,进一步明确财务审批程序和权限,有效控制各项财务支出,更好地适应公司的发展,...
采购申请审批制度制度名称采购申请审批制度受控状态文件编号执行部门监督部门考证部门第1章总则第1条企业为明确商品或劳务采购的申请与审批...

