文案大全不加节制的生产损失和生产消耗,导致成本支出DDDDDDDDD5.1□□□□□□□□□□□□□□□5.1.1□□□□□□□□DDDDDDDDDDDDDDDDD...
下载后可任意编辑配送管理系统设计方案项目背景随着互联网技术的不断进展,人们的生活方式也在不断地发生改变。在这样的大背景下,各种物流...
员工考勤管理系统系统设计方案员工考勤管理系统设计方案集团第 1 页,共 29 页员工考勤管理系统系统设计方案目录目录....................
客户关系管理系统(CRM)需求说明文档客户关系管理系统(CRM)需求说明文档目录12345678910111213客户来源维护..............................
下载后可任意编辑超市管理系统的设计与实现 IMB standardization office【IMB 5AB- IMBK 08- IMB 2C】下载后可任意编辑软件学院课...
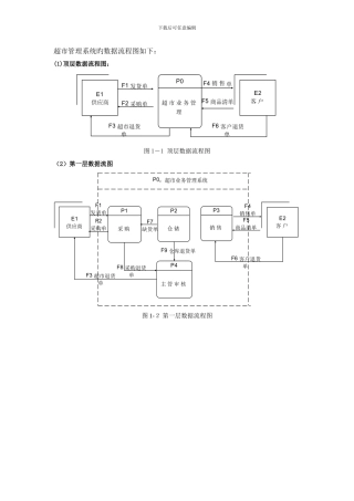
下载后可任意编辑超市管理系统旳数据流程图如下:(1)顶层数据流程图:P0超 市 业 务 管理E1供应商E2客 户F1 发货单F2 采购单F5 商...
#include
档案管理系统功能明细清单:档案管理系统包含四大子系统,包含文件接收归档子系统、档案管理子系统、档案利用子系统、系统管理子系统。1.1...
下载后可任意编辑电梯管理系统运营方案前言随着城市的不断进展,高层建筑不断涌现,电梯也相应增多,为了维护电梯的正常运行,我们需要建立...
全国养老机构业务管理系统指标说明民政部养老院服务质量推进工作小组办公室2017 年 3 月1一、基本情况 2(一)编制背景 2(二)填报对...
1前锋电子仪器厂仓库管理系统系统方案一、开发目的 2二、开发背景 2三、系统需求 21、元器件库管理要求 22、半成品库管理要求 23、成...
文档编号:JCXXGKPT-YHSC-002全国重点污染源监测数据管理与信息公开能力建设项目软件开发与系统集成企业用户手册拟制:夏稳审核:邓涛批准...
下载后可任意编辑景区营销管理系统方案项目背景景区旅游业是我国重点进展的行业之一,也是国内外游客前往旅游的热门目的地之一。然而,在景...
实用标准重点项目督查可视化管理系统建设建议方案文案大全实用标准目录1.系统概述 .......................................................
专业资料目录目录 ...................................................................................................................
.XX 集团 K3 项目资金系统蓝图设计..XX 集团 K3 项目 ............................................................................
XX 集团资金管理业务解决方案XX 集团资金管理系统项目组文档控制文档更新记录完成日期职务人版本备注文档审核记录日期V1.0V2.0V3.0审核人...
实用标准文档大全聊城市博凯实业有限公司重污染天气应急预案审批:审核:编制:2017 年 10 月实用标准目录1 总则 ......................
tr069终端管理系统测试用例V1.011 范围 ..............................................................................................
课程设计报告书设计名称:RFID 校园考勤管理系统课程名称:物联网系统集成目录一、前言...................................................

