电脑桌面
添加小米粒文库到电脑桌面
安装后可以在桌面快捷访问

SSD基础知识及固态存储器前景分析VIP免费

SSD基础知识及固态存储器前景分析_第1页
1/28
SSD基础知识及固态存储器前景分析_第2页
2/28
SSD基础知识及固态存储器前景分析_第3页
3/28
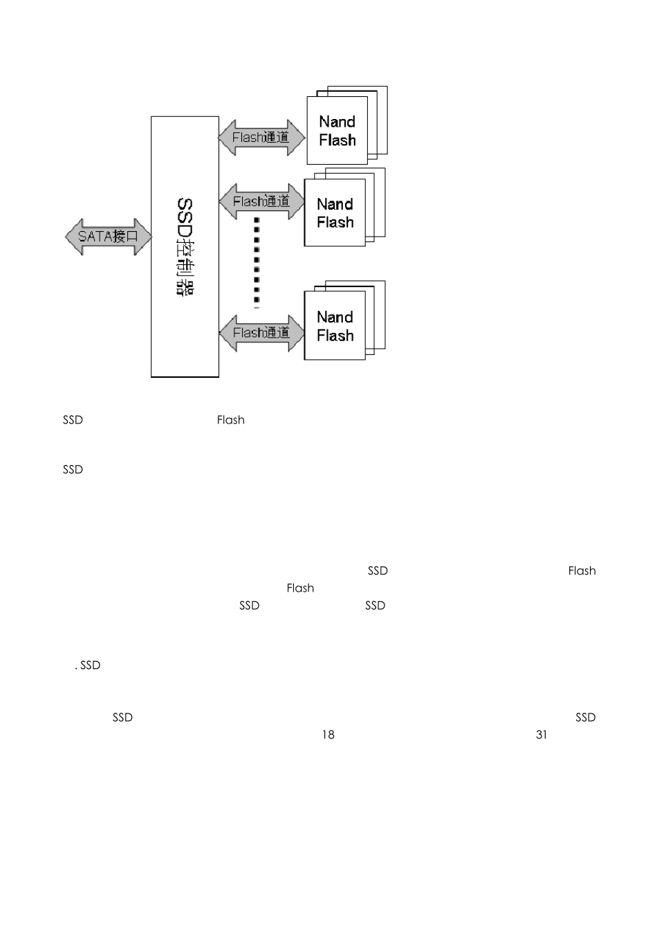
SSD 基础知识及市场前景分析 一. 什么是 Solid State Disk(固态存储) 1.固态存储技术简称为 SSD,一般可以分为二种方式: A. 基于闪存的 SSD:采用 FLASH 芯片作为存储介质,这也是通常所说的 SSD。它的外观有多种,例如:笔记本硬盘(2.5’)、微硬盘(1.8’)、优盘等样式。这种 SSD 固态存储器最大的优点就是可以移动,而且数据保护不受电源控制,能适应于各种环境,但是使用年限不高,适合于个人用户使用。 B. 基于 DRAM 的 SSD:采用 DRAM 作为存储介质,目前应用范围较窄。它仿效传统硬盘的设计、可被绝大部分操作系统的文件系统工具进行卷设臵和管理,并提供工业标准的 PCI 和 FC 接口用于连接主机或者服务器。应用方式可分为 SSD 存储器和 SSD 存储器阵列两种。它是一种高性能的存储器,而且它的使用寿命很长,美中不足的它需要独立供电电源来保护数据安全。 由于采用 FLASH 存储介质,它内部没有机械结构,因此没有数据查找时间、延迟时间和寻道时间。众所周知,硬盘的机械特性严重限制了数据读取、写入的速度及性能。目前主流的 SSD 固态存储器在操作系统中表现为一块普通的 HDD 硬盘,用户可以完全把它作为一块硬盘来使用。 2. SSD 技术解析 NAND FLASH 损耗均衡算法(Wear Lev eling) 因为闪存的写操作的次数是有限制的,如果针对某些单元进行过 10 万次写操作,那么后续这些单元的写入可靠性则无法保证,有些单元则可能会失效,例如有些管理数据系统日志等改写频繁,而某些静态文件数据却几乎从不改写.如不加控制,部分块就会因反复多次擦除而提前损坏,而部分块还未被改写过,以至影响 SSD 盘的使用寿命,为解决此问题,使用写操作均匀分布到各闪存单元上,从整体上做一个平衡,以避免个别单元失效,损耗均衡算法(Wear Lev eling)就是为解决此问题而广泛采用的算法。 Wear Lev eling 就是提供一个块映射机制, 把写入损耗分散在不同的块上, 不会导致某些块先被写坏而使整个 SSD 盘失效,而是把在预期寿命前失效的块, 会有一些保留块来替代, 这个算法使得整个设备的寿命跟 Flash 的最大寿命在同一量级。 一般为实现损耗均衡算法(Wear Lev eling)会采用一种基于页的文件存储算法,闪存物理地址和逻辑地址之间并没有一一对应的关系。当固态硬盘收到数据写入请求时,并不会循规蹈矩的按顺序进行写入,而是找到最少写入的单元写入。因而,在为写入数据动态分配...

1、当您付费下载文档后,您只拥有了使用权限,并不意味着购买了版权,文档只能用于自身使用,不得用于其他商业用途(如 [转卖]进行直接盈利或[编辑后售卖]进行间接盈利)。
2、本站所有内容均由合作方或网友上传,本站不对文档的完整性、权威性及其观点立场正确性做任何保证或承诺!文档内容仅供研究参考,付费前请自行鉴别。
3、如文档内容存在违规,或者侵犯商业秘密、侵犯著作权等,请点击“违规举报”。

碎片内容

SSD基础知识及固态存储器前景分析

小辰9+ 关注
实名认证
内容提供者

出售各种资料和文档

确认删除?
VIP
微信客服
  • 扫码咨询
会员Q群
  • 会员专属群点击这里加入QQ群
客服邮箱
回到顶部