电脑桌面
添加小米粒文库到电脑桌面
安装后可以在桌面快捷访问

STM8教程实验26片内EEPROM的读写VIP免费

STM8教程实验26片内EEPROM的读写_第1页
1/10
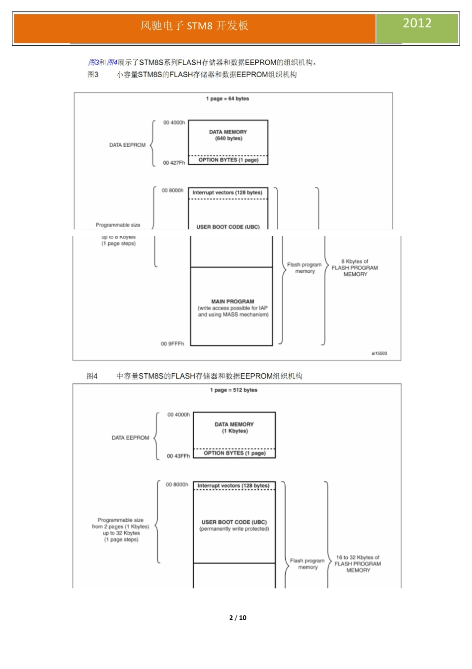
STM8教程实验26片内EEPROM的读写_第2页
2/10
STM8教程实验26片内EEPROM的读写_第3页
3/10
1 / 1 0 风 驰 电 子 STM8 开 发 板 2 0 1 2 例 程 二 十 六 Flas h_eeprom 读 写 实 验 EEPROM 是 单 片 机 应 用 系 统 中 经 常 会 用 到 的 存 储 器 , 它 主 要 用 来 保 存 一 些 掉 电 后需 要 保 持 不 变 的 数 据 。 在 以 前 的 单 片 机 系 统 中 , 通 常 都 是 在 单 片 机 外 面 再 扩 充 一个 EEPROM 芯 片 , 这 种 方 法 除 了 增 加 成 本 外 , 也 降 低 了 可 靠 性 。 现 在 , 很 多 单 片机 的 公 司 都 推 出 了 集 成 有 小 容 量 EEPROM 的 单 片 机 , 这 样 就 方 便 了 使 用 , 降 低 了成 本 , 提 高 了 可 靠 性 。 STM8 单 片 机 芯 片 内 部 也 集 成 有 EEPROM, 容 量 从 640 字 节 到 2K 字 节 。 最 为 特 色 的是 , 在 STM8 单 片 机 中 , 对 EEPROM 的 访 问 就 象 常 规 的 RAM 一 样 , 非 常 方 便 。 EEPROM 的 地 址 空 间 与 内 存 是 统 一 编 址 的 , 地 址 从 004000H 开 始 , 大 小 根 据 不 同 的 芯片 型 号 而 定 。 下 面 介 绍 一 下 STM8S 了 EEPROM: 2 / 10 风驰电子 STM8 开发板 2 0 1 2 3 / 10 风 驰 电 子 STM8 开 发 板 2 0 1 2 风 驰 电 子 STM8 开 发 板 就 是 大 容 量 的 4 / 10 风 驰 电 子 STM8 开 发 板 2 0 1 2 5 / 10 风 驰 电 子 STM8 开 发 板 2 0 1 2 6 / 10 风 驰 电 子 STM8 开 发 板 2 0 1 2 7 / 10 风 驰 电 子 STM8 开 发 板 2 0 1 2 8 / 10 风驰电子 STM8 开发板 2 0 1 2 了解了那么多关于 STM8S 的 EEPROM 的知识,下面看看软件方面是如何编程的,老规矩,从主函数看起。 看到主函数,是否觉得很容易呢,在这个例程中我发了一个晚上的时间去调试,还是不行,到了第二天早上才调试成功,所以希望大家珍惜我的写的教程文档,这些教程和例程是我发了不知多少时间是总结,为了都是各位爱好者能缩短一下开发使用时间。好了,转入正题吧,大家在做这个实验的时候要注意 2 个重要的地方。第一在“stm8s_conf.h”文件中取消注释,在“stm8s.h”的文档中...

1、当您付费下载文档后,您只拥有了使用权限,并不意味着购买了版权,文档只能用于自身使用,不得用于其他商业用途(如 [转卖]进行直接盈利或[编辑后售卖]进行间接盈利)。
2、本站所有内容均由合作方或网友上传,本站不对文档的完整性、权威性及其观点立场正确性做任何保证或承诺!文档内容仅供研究参考,付费前请自行鉴别。
3、如文档内容存在违规,或者侵犯商业秘密、侵犯著作权等,请点击“违规举报”。

碎片内容

STM8教程实验26片内EEPROM的读写

小辰4+ 关注
实名认证
内容提供者

出售各种资料和文档

确认删除?
VIP
微信客服
  • 扫码咨询
会员Q群
  • 会员专属群点击这里加入QQ群
客服邮箱
回到顶部