电脑桌面
添加小米粒文库到电脑桌面
安装后可以在桌面快捷访问

接待管理标准VIP免费

接待管理标准_第1页
1/3
接待管理标准_第2页
2/3
接待管理标准_第3页
3/3
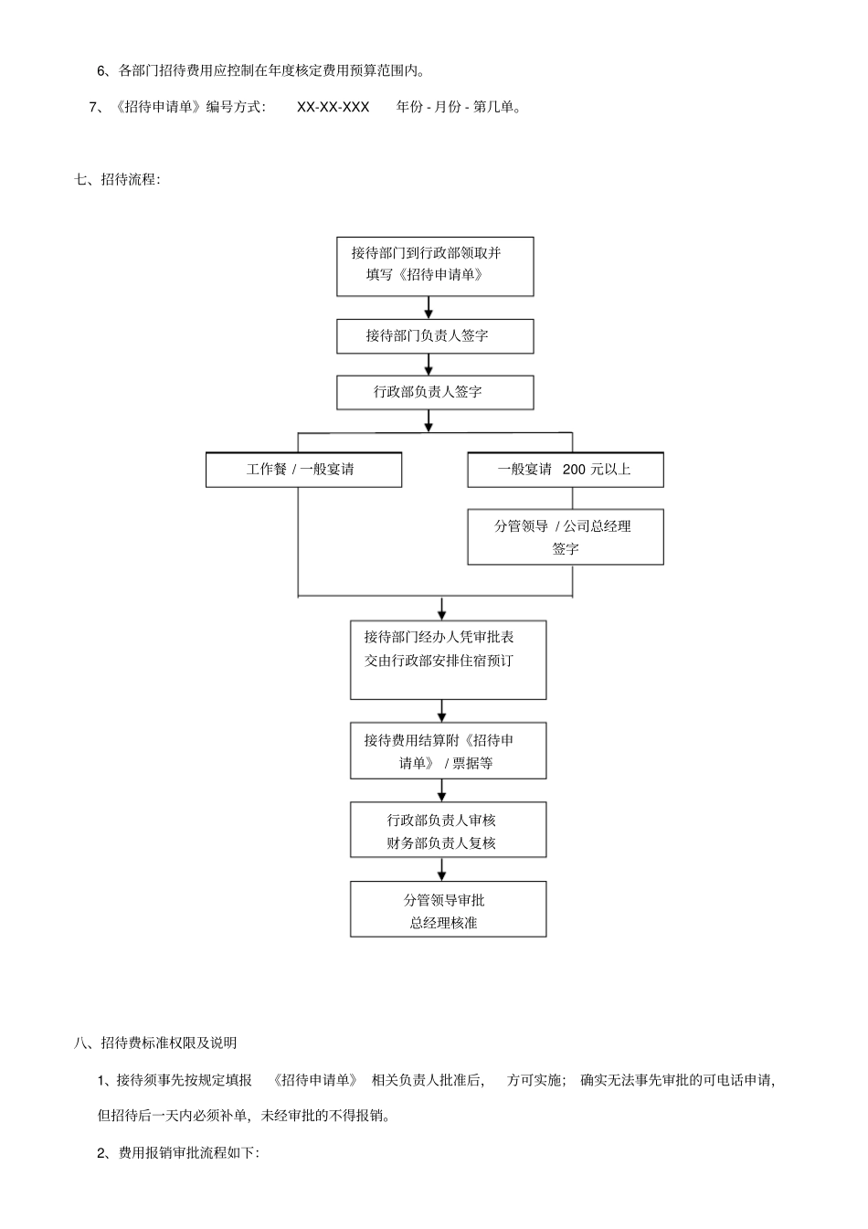
大连兆赢置业接待标准一、目的:为规范日常接待工作的管理标准,合理控制费用,树立节俭、文明又不失热情的良好接待风气,特制定本标准。一、适用范围:公司全体员工二、接待用餐原则1、节俭原则:做到既热情大方, 又节俭务实。2、对口接待原则:来客由各业务部门对口接待。3、从严原则:一是统一用餐标准;二是限定陪餐人数;三是严格审批制度;四是就近安排。4、住宿招待对象为能给公司带来利益的企业客户、机关单位人员、 个人等, 供应商或其他来访客户住宿费用不予报销。5、普通客户以上用餐可报销的士费用往返40 元以内或派车,重要客户的士费用可放宽至往返60 元以内。四、接待用餐标准类别标准备注工作餐早餐 5 元/ 人,中 / 晚餐 10~15 元/ 人。1.为倡导节约原则,避免浪费, 实际用餐费用可低于用餐标准的,以实际用餐费用为准。2.重要客人一般指副总级以上人员或对公司业务有很大影响的人员;普通客人原则是指部门主管级人员或对公司业务有一定影响的人员;一般人员指具体的办事员。一般宴请每人每餐 20~30 元,另安排酒水, 酒水每人每餐 15 元,烟限每桌一包(20 元/ 包) 。重要宴请每人每餐 50~80 元,另安排酒水, 酒水每人每餐 30 元,烟限每桌2 包(20 元/ 包) 。特别宴请按每人每餐100 元~200 元标准安排 ( 酒水,烟除外 ) 。五、住宿标准类别标准备注一般人员80~150 元/ 天或公司招待房住宿标准仅限于住房费用,房内其它消费如洗衣费、食品、电话费等计算在内。普通客人150~200 元/ 天重要客人200~350 元/ 天六、接待管理规定1、各部门对口接待一般安排工作餐,视具体情况可安排一般宴请一次。2、宴请陪餐人员原则上视来客级别对等确定,陪餐人数一般为客二主一,重要宴请视具体情况而定。3、各部门对口接待确需公司领导出席的,原则上由分管领导参加。4、工作餐、一般宴请在公司附近就近安排,重要宴请、特别宴请可安排在公司定点签约酒店。5、酒店安排接待的可由人事行政部人员事先预定,《招待申请单》 一联留行政部备存,二联用于报销结算,结算以酒店结算单为准,申请单作为凭证。6、各部门招待费用应控制在年度核定费用预算范围内。7、《招待申请单》编号方式:XX-XX-XXX 年份 - 月份 - 第几单。七、招待流程:八、招待费标准权限及说明1、接待须事先按规定填报《招待申请单》 相关负责人批准后,方可实施; 确实无法事先审批的可电话申请,但招待后一天内必须补单,...

1、当您付费下载文档后,您只拥有了使用权限,并不意味着购买了版权,文档只能用于自身使用,不得用于其他商业用途(如 [转卖]进行直接盈利或[编辑后售卖]进行间接盈利)。
2、本站所有内容均由合作方或网友上传,本站不对文档的完整性、权威性及其观点立场正确性做任何保证或承诺!文档内容仅供研究参考,付费前请自行鉴别。
3、如文档内容存在违规,或者侵犯商业秘密、侵犯著作权等,请点击“违规举报”。

碎片内容

接待管理标准

您可能关注的文档

文库当当响+ 关注
实名认证
内容提供者

该用户很懒,什么也没介绍

确认删除?
VIP
微信客服
  • 扫码咨询
会员Q群
  • 会员专属群点击这里加入QQ群
客服邮箱
回到顶部